电子发烧友网报道(文/梁浩斌)最近又有多款搭载激光雷达的新车型上市,比如小鹏P7i、理想L7、飞凡R7/F7等;在工信部最新一期的新车公示名单中,还有小鹏G6、蔚来ET5旅行版、新款问界M5、腾势N7、极狐阿尔法S6等,都将会搭载激光雷达上市。
想起去年上半年,激光雷达还是刚刚开始在量产车型上大规模应用时,业界还曾对激光雷达安装的位置有所争议。转眼间,在过去一年中,仅国内搭载激光雷达的车型全年交付量已经超过10万辆。与此同时,各家采用的方案也逐渐固定,基本上分为两个主要流派,一是安装在前挡风玻璃上方的车顶处,二是安装在汽车前保险杠或大灯下方的位置。
在最近通用汽车公布的下一代Ultra Cruise
自动驾驶系统中,概念图显示激光雷达将会安装在挡风玻璃之内,大概位于后视镜的位置,这很可能是首个将激光雷达安装在挡风玻璃后的自动驾驶
传感器量产方案。
激光雷达在挡风玻璃后方会是最佳选择吗?
按照目前一些搭载激光雷达车型的车主反馈,现有的两种主流方案,其实优劣势都比较突出。比如蔚来ET7、理想L9等车型,激光雷达放置在挡风玻璃上方位置,优势主要是视野更开阔,甚至可以识别到对向车道的车辆,识别范围极大。与此同时,也存在一些缺点,比如对一些低矮、或是在低速场景中距离较近的路面障碍物识别可能会存在盲区。
另一方面,由于突出车身之外,对外观造型的美观度以及高速行驶风噪会产生一定影响,比如蔚来ET7在高速路况中车顶会产生一些不可忽略的风噪。还有一些车主表示,在停车安静的情况下,能听到激光雷达工作时发出一些细微的
电机声音,这大概是因为激光雷达安装位置距离驾驶者过于近,并且目前车用的激光雷达比如蔚来上面的图达通falcon采用了转镜结构,在工作时会高速旋转,在隔音没有做好的情况下可能会有噪声传至座舱内。
而将激光雷达安装在汽车前保险杠或者大灯下方,用户最大的诟病是磕碰概率大,
维修成本高。在日常行驶过程中,即使是出现了轻微的碰撞事故,都有可能损坏位于车前杠的激光雷达,同时车前杠也是最容易受到碰撞的区域。此前有车主晒出小鹏P5的激光雷达更换费用,一颗价格高达9000元,并且还需要重新做传感器标定等工序,工时费也并不是一个小数目。
当然,一般来说在车头两侧各安装一枚激光雷达,也有一定的实际优势,比如对近距离低矮障碍物的识别更加精准,对车前方识别的视场角更广等。
那么如果从损坏概率和识别范围来说,安装在挡风玻璃后的激光雷达或许可以平衡以上两种方案的优缺点。首先安装在车内后,激光雷达受外力损坏的概率会更小;与此同时相比于安装在车顶的激光雷达,高度仅稍微降低,视野损失不大;另外激光雷达安装在车外容易受到灰尘、泥土等遮挡,而安装在挡风玻璃后可以借助雨刮器来及时清理污渍。
不过,同样能够想象到激光雷达在挡风玻璃后会出现另外一些问题,包括电机噪音、散热等。或许这些问题能够通过激光雷达的技术路线迭代来解决,比如采用纯固态激光雷达等。
现实应用问题,已经有解决方法
如果通用Ultra Cruise的激光雷达安装位置真的那么好,为什么此前没有车企尝试使用?其中主要原因可能是前挡风玻璃的
信号通过性问题。汽车前挡风玻璃通常为夹层玻璃,其包括外玻璃板、热塑性中间层和内玻璃板,多功能摄像头或激光雷达安装在内玻璃板的内表面上时,信号数据需要穿过外玻璃板、热塑性中间层和内玻璃板才能被多功能摄像头或激光雷达接收,由于玻璃本身和热塑性中间层(例如PVB)均会吸收
红外线,对于905nm激光雷达、1550nm激光雷达和780-1200nm红外相机来说,传统夹层玻璃会阻碍激光雷达和红外相机的信号数据透过,从而影响激光雷达和红外相机的正常工作,实际适配效果不理想。
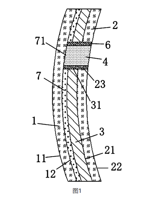
不过这个问题似乎也已经有解决方案了,福耀玻璃近年申请了多项关于能够满足激光雷达信号透过率要求的车窗玻璃制备方法专利。其中一项是通过针对激光雷达等传感器位置处的红外通过率进行优化,如下图中展示的是车窗夹层玻璃的示意图,外玻璃板1选用超白浮法玻璃,超白浮法玻璃对780~1650nm波长的红外线的透过率大于或等于90%,使夹层玻璃整体对激光雷达或红外相机的信号数据的90%以上的高透过率。

图源:国家专利检索,公开号CN115519981A
在内玻璃板2上开设至少一个安装通孔23,在所述安装通孔23内固定有红外线增透填充块4,所述红外线增透填充块4对780~1650nm波长的红外线的透过率大于或等于90%,最高可以达到96%以上。激光雷达和/或红外相机则安装在第四表面即图示22的位置,并对准红外线增透填充块4设置,这样就避免了内玻璃板2阻碍激光雷达和红外相机的信号数据的传输,能够提高激光雷达和红外相机的使用精准度和探测范围,能够保留目视区域的优异可视性和可加工性,并且大大降低玻璃弯曲成型过程中存在的光畸变以及吻合度弱化等问题。
不过目前暂未知道这项技术是否可以实现量产,但相信随着市场需求的推进,通用Ultra Cruise能够大规模使用后,这种激光雷达的安装方案或许也会得到更多的汽车厂商选择。