时间:2022-10-19 09:25
人气:
作者:admin
如何让建筑智能起来?在这方面人们已经做了诸多尝试,比如在照明、门禁、空调、能源管理等方面引入更多自动化的功能,现在可能还要增加一个新的选项——室内定位。
对于“定位”,大家并不陌生。在户外活动时,人们已经习惯了通过GPS、北斗等全球卫星定位系统确定自己或者被监测对象的精确地理坐标,并在此基础上衍生出了导航、资产追踪等应用和服务。可是一旦被监测对象进入了室内,卫星定位就失灵了,这时就需要室内定位技术来接棒。
室内定位的原理,其实和户外卫星定位的原理很相似,都是通过测量移动的被测物与多个固定参照点之间的位置关系,并基于专门的算法计算出被测物的精确位置。不难理解,完成这一过程,需要三个核心技术要素:
标签设备
通常是指“附着”在被测人或物体上的通信模块,其作用是通过发射或接收信标信号,完成定位系统的识别和测量工作。在卫星定位中,这种“标签”就是带有GPS或北斗功能的手机或车载定位/导航设备;而在室内定位中,则是随被测对象移动的各种无线通信组件。
定位基站(定位器)
也就是定位系统中位置相对固定的参照点。在GPS和北斗定位系统中,卫星显然就扮演着这一角色;而在室内定位中,也需要在相应的空间内部署这样的定位器,以及时获取标签设备的特征信息并确定其准确位置。
通信方式
为了实现定位,就需要在定位基站和标签之间数据传输方式,交互距离和方向等信息,这时就需要无线技术来帮忙了。其中,射频技术(如蓝牙、UWB、Wi-Fi等),肯定是当仁不让的主角,有时我们也能看到超声波的身影。值得一提的是,基于可见光的通信(VCL)也开始加入这一赛道的角逐(我们将在后文详述),这也让室内定位的技术选项更为丰富。
PoE技术:助力定位基站快速部署
严格来讲,室内定位技术可以分为两种体系——实时定位(Real-Time Location System, RTLS)和室内定位(Indoor Position System,IPS)。这两者主要的区别在于:RTLS是在标签设备上部署信标,由位置固定的定位基站不断“侦听”信标发出的信息,并将其传输给定位引擎进行定位计算,这种方式适用于对敏感人或物的实时追踪;而IPS则正好相反,它的信标是部署在固定的定位基站上,而由移动的标签设备去“侦听”这些信标,进而计算出自己的位置,因此IPS更适合于室内导航应用。
不论是哪种方式,定位基站都是室内定位系统中不可或缺的要素,而且为了优化定位精度以及覆盖范围,未来定位基站部署的数量会更多,密度会更大,而且也需要具有良好的可扩展性。
定位基站部署时,需要重点考虑两个功能:一是数据通信,比如定位器需要将数据传输给定位引擎,考虑到数据传输的可靠性,往往需要通过有线通信(如以太网)来完成;二是电源供电,由于这些定位基站需要长期运转,且随着性能提升和功能扩展,其对于功率的需求也会越来越高。如果使用电池供电就会增加后续的维护工作量,也无法满足功率提升的要求,因此并不是优选方案。若要同时满足数据通信和电源供电两个功能要求,以太网供电(PoE)显然是一个理想的解决方案。
通过单一网络同时支持数据传输和电源供电两个功能,是PoE主要的优势,它避免了为部署定位基站而开墙打洞、布设配电网络的麻烦。今天最新的IEEE 802.3bt PoE标准,已经可以支持90W的功率,可以满足绝大多数以太网联网设备的供电需求,也包括室内定位基站。而且由于PoE被归类为低功率范畴,由网络工程师架构即可,无需强电技术人员的介入,这也大大增强了定位基站部署的便利性。
为了满足IEEE 802.3bt这一最新PoE标准的应用开发要求,安森美(onsemi)推出了NCP1095和NCP1096大功率PoE-PD控制器,其可提供高达90W的功率,甚至可以支持专有的100W+应用。
这两款PoE-PD控制器将PoE系统所需的检测、分类和浪涌保护功能都集成在一个器件内,而且还支持IEEE 802.3bt新增的Autoclass能量管理特性,使得PD受电设备能够将其特定的功率需求传递给PSE供电设备,以实现更精准的控制,并符合最新PoE规范的要求。
可以说,采用上述安森美的芯片解决方案,可以将定位基站快速打造为支持PoE功能的受电设备,以获得PoE带来的便利性和灵活性,让室内定位基站可以根据需要部署到任何一个角落。
低功耗蓝牙SoC:加速标签设备开发
聊完了定位基站,下面我们来看看标签设备。作为与被测对象如影随形的电子模块,标签的设计需要满足两个要求:首先在性能上,要尽可能支持最新的技术标准,以实现更优的定位精度;其次,由于是“绑定”在移动的人或物上的,其通常需要电池供电,因此低功耗、小型化的需求也是一个硬指标。
如上文所述,目前可用于室内定位的无线技术有很多,它们也各具特色,满足不同应用需求。而要论开发生态最成熟,应用覆盖面最广泛的技术,肯定非蓝牙莫属了,且低功耗蓝牙(BLE)的低功耗特性更是有口皆碑。在其他IoT应用中积累的大量设计经验,也可以移植到室内定位应用中,有助于打造出理想的定位标签解决方案。
传统的蓝牙室内定位是基于RSSI信号强度测量原理。简单地讲,就是根据接收到的无线电信号强度与传输距离对应关系,估算出被测物体的远近,再根据标签与多个定位器之间的距离换算出准确的位置信息,一般来讲这种方式的定位精度在1至10米之间。
为了进一步提高定位精度,在蓝牙5.1规范中特别引入了寻向功能。具体来讲就是在获取蓝牙设备之间距离数据的同时,还可以通过测量到达角度(AoA)和离开角度(AoD)等方向信息,计算出更精确的位置数据。据蓝牙技术联盟估算,此举可以将蓝牙室内定位精度提升到厘米级!借助蓝牙技术广泛的影响力,这无疑会在室内定位市场激起巨大的涟漪,让更多的开发者对蓝牙室内定位产生浓厚的兴趣。

图:蓝牙寻向AoA和AoD方法原理图
蓝牙室内定位应用的兴起,必然会带旺市场对蓝牙标签的需求。安森美的RSL10多协议蓝牙片上系统就是一个非常适合于蓝牙标签开发的技术平台。
在低功耗方面,RSL10 SoC专门设计用于1.2V和1.5V电池供电的应用,提供超低功耗无线连接,可在1.1V到3.6V的电源电压范围内工作,无需外部DC/DC转换器。同时,RSL10采用双核架构以及2.4GHz收发器,可灵活地支持带有寻向功能的BLE技术和2.4GHz专有或定制协议。

图:RSL10多协议蓝牙SoC系统框图
在提供硬件芯片的同时,安森美也在不断完善基于RSL10 SoC的生态开发系统。比如,安森美与Quuppa合作,将RSL10出类拔萃的低功耗特性与Quuppa强大的智能定位系统(Quuppa Intelligent Locating System)相结合,基于独特的AoA测向方法和定位算法实时跟踪标签设备,可在充满挑战的环境中实现厘米级的测量定位精度,为设计开发超低功耗、实时可靠的室内资产追踪应用,提供了一种理想的解决方案。而且,与之配套的传感器开发套件和软件资源,以及交钥匙解决方案,更是能够让蓝牙定位标签的开发和部署愈发灵活和快捷。

图:Quuppa智能定位系统架构
可见光通信:引领室内定位新模式
上文我们谈到了定位基站和标签设备的发展趋势、设计要求,以及创新的赋能技术。下面让我们将目光聚焦在通信方式这个要素上。
显而易见,在为室内定位解决方案选择通信技术时,蓝牙等射频技术往往是优先考虑的选项,这主要是因为射频技术具有传输距离长、技术成熟、应用范围广等优势。不过,基于射频技术的解决方案并不“完美”,特别是随着室内定位应用的拓展,其短板也会逐渐暴露出来。
比如说,如今射频频谱越来越拥挤,特别是在空间有限的室内环境中,拥挤的射频频谱意味着来自相邻频率的干扰会很大,解决这个问题就要考虑额外的屏蔽和滤波功能,因而会增加设计成本。此外,在一些特殊的环境中——如有爆炸风险的石油、天然气和采矿等行业,或者是医疗和飞机等对于电磁干扰特别敏感的场所——射频通信的应用是受限的,这时要部署室内定位系统,就需要其他技术来补位了。
近年来,人们逐渐认识到,可见光通信(VLC)有望在室内定位领域大显身手,为开发者提供一种全新的系统设计思路。

图:VLC系统使用的光谱范围
所谓可见光通信(VLC),就是对LED灯具的光强度或频率进行调制,利用其进行数据传输。具体到室内定位的技术方案:我们可以在室内每个LED灯具的镇流器中嵌入唯一标识符或地址,并将其调制到LED驱动器中,也就是说建筑物内的每个灯具都可以传输一个与其确切位置相关的唯一代码。这一由LED灯具发出的信号可被智能手机或是其他标签设备上的摄像头检测到,通过简单的算法对三个(或更多)灯具信号进行三角测量,即可完成定位,定位的精度小于30厘米。
VLC室内定位可以带来的好处还包括:
可见光频谱涵盖了430THz到790THz频段,该频段不受管制且完全可用。
光信号传输的及时性,使其相比射频通信具有更低的延迟,更适合于实时定位应用。
光虽然无法像射频信号那样穿透墙壁,但正是这种“局部特性”为其增加了独特的安全性。
灯光的闪烁容易被接收器检测到,而其频率对人类视觉不会产生影响。
可在特殊的媒介中传输(如水),有助于开辟新的应用。
实现VLC不需要比LED灯具更高的功率,可以很方便地与现有的LED照明系统,特别是基于PoE的智能照明系统融合在一起,安装部署成本较低。

图:将基于PoE的智能LED照明系统作为室内定位的骨干网
设计光VLC系统,高效率和小型化是两个重要的考量因素,这对于缺乏经验的人无疑是个挑战性。以往,室内定位应用的开发者与LED照明的交集并不多,因此在VLC方面的经验也有限,这就需要有一个功能全面、使用简便的解决方案,来帮助开发者跨越VLC室内定位实现过程中的各种技术“鸿沟”。
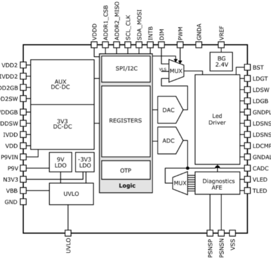
安森美先进的光引擎NCL31000 LED驱动器恰好可以起到这个作用。该器件将可见光通信所需的所有功能集成到一个紧凑的IC中,具有PWM调光至零电流的97%高效LED驱动器,支持0.1%调光精度和高线性度,非常适用于VLC室内定位应用。
同时,NCL31000还集成了两个高效的DC-DC转换器,用于为传感器和MCU等系统供电;一个板载的模数转换器(ADC)可以提供准确而详细的诊断,并通过内置的I2C或SPI总线发送到本地MCU。此外,NCL31000还具有出色的抗电磁干扰(EMI)特性,在测试中,它的表现比CISPR15/EN55015的要求低14dB以上。
总之,NCL31000这一“LED驱动器 + 电源管理”集成解决方案,极大地优化了系统架构,有助于开发者快速设计出高能效的VCL室内定位系统,为需求日趋多样化的室内定位市场引入一种新模式。

图:NCL31000 LED驱动器框图
本文小结
据Market&Market预测,全球室内定位市场将从2017年的71.1亿美元扩大到2022年的409.9亿美元,年复合成长率高达42%。在这高速成长市场的背后,新技术的推动和应用功不可没。
顺应这一市场趋势,安森美已经做好了布局,围绕着室内定位方案的三要素——定位基站、标签设备和通信技术——推出了一系列针对性的产品和解决方案,不仅能够为当下的应用开发提供助力,也在积极引领VLC室内定位等“新概念”技术的探索和实现。
审核编辑:彭静