时间:2022-03-03 09:27
人气:
作者:admin
安科瑞 华楠
摘要:介绍沪昆高铁长沙至昆明段曲靖北站、富源站和嵩明站智能照明控制系统,系统采用KNX标准总线,通过安科瑞Acrel-iLight control智能照明控制系统后台主机实现对高铁站站台、候车厅、售票厅、进出站通道以及静态标识的控制。 关键词:高铁站 智能照明控制系统 KNX总线
0 概述
沪昆高铁长沙至昆明铁路客运专线云南段于2016年12月底顺利通车,包括富源、曲靖北、嵩明、昆明四个站,其中富源、曲靖北、嵩明三个高铁站采用安科瑞电气股份有限公司Acrel-iLight control智能照明控制系统,用于控制全站的照明和静态标识,并实现和消防系统的联动控制。 三个高铁站站内照明控制包括候车厅、售票厅、站台、进出站通道、静态标识、广告灯箱等区域的照明控制,现场均不设置控制面板,全部通过中控室的主机进行集中控制,达到提高控制效率、节能的目的。
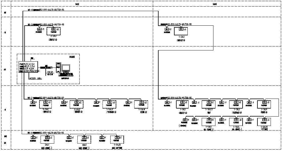
1 系统结构描述
本监控系统主要实现曲靖北站、富源站和嵩明站三个高铁站照明回路的远程控制。三个高铁站每个站配置一套安科瑞智能照明控制软件,系统部署在高铁站中控室,现场所有智能照明控制模块安装在照明控制箱,采用KNX总线接入智能照明网关,从而完成高铁站的智能照明控制系统。
KNX总线是欧洲标准的智能照明控制总线,采用EIB-BUS 2*2*0.8线缆(两芯备用)。两芯通讯线缆同时传输通讯信号和提供模块DC30V电源,传输距离超过1000米,拓扑结构灵活,非常适用于现场布线和实时控制。
本监控系统采用分层分布式结构,即站控层,通讯层与间隔层;
如图(1)所示:

图(1)网络拓扑图
间隔设备层主要为:智能照明控制模块和开关量采集模块。智能照明控制模块和开关量模块安装于照明电气柜内,控制器模块用于控制回路通断,开关量模块用于接入消防强启信号,控制应急照明(曲靖北站设置了专门的应急照明和疏散指示系统,富源和嵩明两站通过智能照明控制器控制应急照明)。这些装置均通过现场KNX总线组网通讯。
网络通讯层主要为:智能照明网关,通过KNX总线采集现场控制器和开关量模块数据,转换成以太网上传至站控层,完成现场层和站控层之间的数据交互。 站控管理层:设有高性能工业计算机、显示器、UPS电源、打印机等设备。照明控制软件安装在计算机上,通过软件界面监视照明回路工作情况,并远程控制照明回路的通断。
软件可以实现单控和群控功能:单独控制某一个照明回路或者控制某一个区域的照明,这些功能都可以通过后台软件设置,便于灵活控制。
2 Acrel-iLight control智能照明监控系统主要功能
2.1 定时控制
通过时钟管理器,实现整个系统的有关区域照明的定时和自动管理功能,实现公共通道、景观照明、泛光照明、车库照明定时控制。节假日或非工作日时段照明定时关闭、定时通知等,一般用于公司、路灯、景观照明等,本项目是高铁站,人流比较密集,不适合定时控制模式。 2.2场景控制
智能照明控制系统根据各个区域的需求,设定不同种类的场景模式,可以编程设定预设的照明方案,一键控制,也可以按照区域实现单控、群控方案。
2.3人体感应控制
在办公走道和楼梯内,布置人体感应传感器。在有人员进入区域时,自动开打开照明。当人员离开后,延迟一段时间再关闭。若延迟时间内有人进入,则重新进入打开模式,以达到节能目的。并且可以设置白天有效,晚上无效,根据需求设定。
2.4实时监控
中央控制室,配置中控主机,所有照明控制设备,通过KNX网关,接入监控系统,操作管理人员,可以通过中控电脑,实时监视总线、区域、楼层、楼栋等照明状态,并可根据需求进行控制调整。系统绘图工具支持向量图和多层页面,图形页面缩放方便,切换简单,支持DXF、WMF、BMP、JPG、ICON等图形对象的嵌入、支持二维、三维图元的绘制,增加可视化的空间效果。
2.5报警处理
系统提供了警报处理能力,用户可采用编程来完成不同的任务,当某种警报条件出现时应做什么,可由用户自行确定。
2.6系统联动
系统可以输入模块,接受其他系统或工作人员的强切信号;实现安防系统、广播系统、会议系统,甚至消防系统的联动控制,控制相应灯具点亮和设备启停。本项目三个高铁站都实现了和消防信号的联动控制。
3 案例分析
站内照明控制包括候车厅、售票厅、站台、进出站通道、静态标识、广告灯箱等区域的照明控制,现场均不设置控制面板,全部通过中控室的主机进行集中控制。
一楼单回路控制见图,主要实现一楼候车厅、售票厅、1~3#站台的单点控制,可以控制任意一个照明回路的通断。

一楼照明单控示意图
二楼单控界面见图,主要是控制二楼候车大厅和广厅的单回路控制。

二楼候车大厅单回路控制示意图
出站通道照明控制见图,用于对出站通道的照明、广告灯箱、应急照明进行控制,应急指示灯根据消防强切信号来控制该部分的照明通断,也可手动来控制应急指示灯。

出站通道控制界面示意图
区域群体控制或场景控制界面见图,用于对整个站内照明进行群体控制和预设的场景控制。可以根据需求预设多种控制场景,可以单次点击控制一整个区域或者整个站台的照明。

区域或场景控制界面示意图
4 结束语
智能照明监控系统已成为全国各地工程项目、标志性建筑/大型公共设施等大面积多用户的标准配置,包含轨道交通、商业广场、市政建筑等等。本文介绍的Acrel-iLightControl智能照明监控系统在曲靖北站、富源站和嵩明站的应用,实现单点控制、区域控制、场景控制等多种控制方式,使照明系统按照预先设定的各种模式工作,节能减耗、提高工作效率、提高管理水平。