时间:2023-06-14 15:40
人气:
作者:admin
信号完整性分析是基于传输线理论的,研究信号完整性必须从认识传输线开始,而传输线中最基本的概念就是阻抗和反射。阻抗匹配和反射是信号完整性分析中最基本的问题。掌握好这一基本概念能够帮助我们解释实际测试、仿真应用中的各种信号完整性问题。
传输线的阻抗又有特征阻抗、瞬态阻抗、输入阻抗三个概念,下文一一阐述。
01
传输线的特征阻抗
传输线的特征阻抗的定义为传输线上任意点处的电压和电流的比值,上一节我们已经通过麦克斯韦方程的推导得出特征阻抗的计算公式。这里我不厌其烦还得把它再搬出来:

有了这个公式我们就可以简化出传输线的RLCG模型:

其中的R代表导体损耗;G代表了介质损耗。L代表传输线的分布电感,C代表信号路径和返回路径之间的分布电容。
02
传输线的瞬态阻抗
我们可以想象一下,信号有自己的感觉器官,它在传输线上传输的时候能够感受到传输线阻抗的变化。像我们人一样,能够感受到脚下的路是平坦的道路还是坑坑洼洼的路。
信号在传输线上任一点所感受到的即时的阻抗就是瞬态阻抗。如果信号在传输线上的每一点感受到的阻抗都相同,那么我们就说传输线阻抗连续;反之,如果信号在传输线上感受到了阻抗变化,则说明传输线的阻抗不连续;信号在阻抗不连续点就会存在反射。

看到这里,有些读者可能会有疑问了,传输线的瞬态阻抗和特征阻抗有什么关系呢?
瞬态阻抗是否就是特征阻抗 ?其实瞬态阻抗并不等于特征阻抗。要想瞬态阻抗=特征阻抗,需要有一个前提:传输线的长度要远远小于信号所包含频谱的最小波长的1/4。
这个前提究竟有什么含义呢?简单的理解也就是对于低速信号,瞬态阻抗可以近似等于特征阻抗。因为其信号频谱的最高分量比较低因此波长会很大,此时传输线的长度有可能远远小于其波长的1/4。
为了解释清楚这个问题,我们需要引入输入阻抗的概念。
03
传输线的输入阻抗
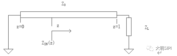
输入阻抗的定义:信号在传输线上任意一点向负载端看过去的阻抗,用Z_in (z) 表示。
我们在推导传输线特征阻抗公式时,并没有考虑端接的情况,是在无限长的平板传输线模型中进行的,但实际的传输线并非如此。如下图所示是一个长度为“L”的传输线,其负载阻抗为,用小写的字母“z”代表传输线上的位置。

则可以推导出传输线的任意一点向负载方向看过去的输入阻抗计算公式(这里省略推导过程,有兴趣的读者可以在电磁场与电磁波的书中找到答案):

其中,
· 传输线长度为L;
· 为传输线的特征阻抗;
· β为相位,β=2π/λ;
· L-z为z点到终端的线长;
· 为传输线的终端阻抗。
由输入阻抗公式可以看出:


上图为1in长、50Ω传输线的测量阻抗(圆圈)与仿真阻抗(线),可见线的输入阻抗确实在随着频率的变化而变化。
我们讨论一下z=0的情况(也就是信号输入传输线的位置):
o 当L=λ/4时,Zin(0)=0,输入信号感受到的是短路;
o 当L=λ/2时,Zin(0)=ZL=∞, 输入信号感受到的是开路。
o 当L=λ/4时,Zin(0)=∞,输入信号感受到的是开路。
o 当L=λ/2时,Zin(0)=ZL=0,输入信号感受到的是短路。
o 当L=λ/4时,Zin(0)=Z0,输入信号感受到的阻抗就是传输线特征阻抗;
o 当L=λ/2时,Zin(0)=ZL=Z0,输入阻抗还是等于传输线特征阻抗。
由此,我们可以知道到传输线的负载端的端接阻抗和传输线阻抗不匹配时, 传输线的输入阻抗或者信号在传输线上任一点感受到的阻抗都不是传输线的特征阻抗都是一个跟信号所处位置L、负载阻抗、特征阻抗相关的变量。
在没有良好端接的情况下,就不能忽视传输线的长度带来的影响。所以对于一些高速serdes大多采用CML电平,在发送和接收端都有端接来进行阻抗匹配。