时间:2022-01-11 17:39
人气:
作者:admin
Pickering Interfaces 拥有一系列解决此类应用程序的解决方案。这些解决方案中的每一个都提供了一组保护措施:
1.防止电压尖峰损坏驱动器的电压钳。这在驱动感性负载时特别有用。
2.一种电流限制,可防止汲取可能损坏电源系统或限制进入容性负载的浪涌电流的过大电流。
3.过热时关闭驱动器的热限制。
这种功能组合使这些模块非常坚固,不易因意外滥用而损坏。
PXI的数字I/O模块

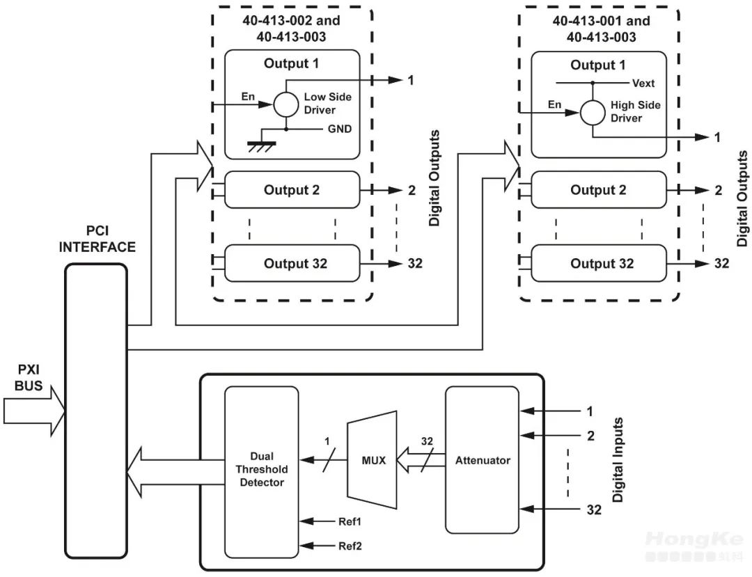
40-411型号40-411 提供 64 路输出,设计用于将负载的一个端子接地。额定电流为 1A 并且能够处理高达 60V 的电压,它可以处理许多负载开关应用。例如,当使用外部正电源驱动 SP6T 微波继电器时,单个模块可以支持 10 个继电器。额定电流和电压足以处理所有常见的线圈设计(12V、24V、28V),因此单个模块可以支持 10 个 SP6T 微波继电器。40-411 还可用于驱动其他微波继电器配置,例如 SP8T(8 关)和 SPDT。
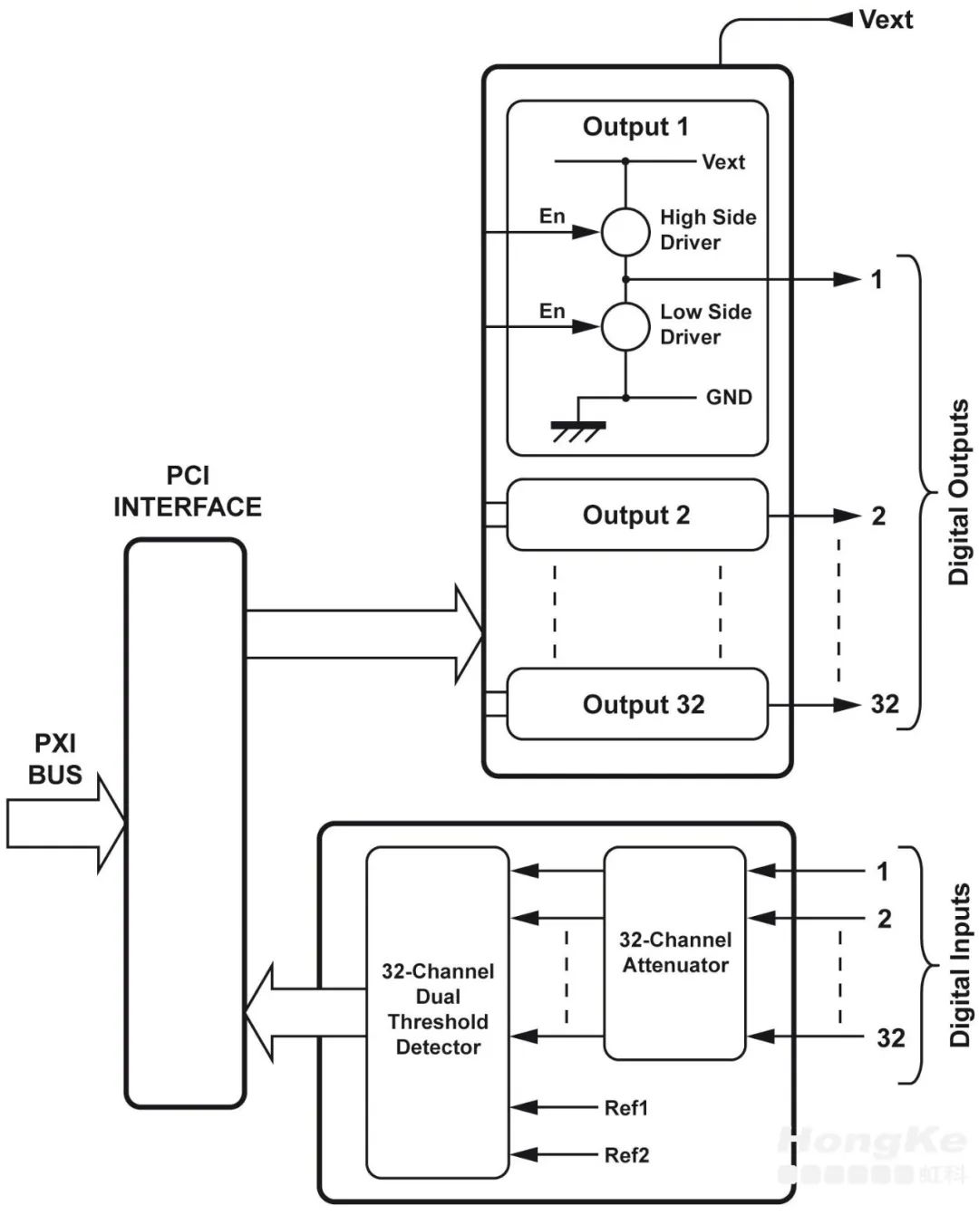
40-412型号40-412 支持 32 个通道,与 40-411 不同,它能够将负载切换到电源或接地。此外,该模块具有数字输入功能,通过连接到负载驱动,用户可以检查电压是否低于或高于两个电压阈值,每个电压阈值都可以由用户编程。在这种情况下,模块可以例如从单个插槽驱动 5 个 SP6T 微波继电器,但也可以检查线圈驱动是否正确驱动。在工业控制系统中,用户通常从 24V 负载驱动负载,并且能够检查负载电压是低于电源电压的 20% 还是高于电源电压的 80%。40-412 通过简单地回读已适当设置双阈值的数字输入的状态,为执行此操作提供了一个优雅的工具。提供了两种回读设计,一种基于快速并行读取,一种基于较慢的串行读取,前者比后者更昂贵。与 40-411 一样,该设计受到全面保护,输出额定值为 0.4A,能够处理高达 50V 的大多数负载。它还可用于驱动微波继电器和用于确保正确驱动外部继电器线圈的回读设备。
40-413型号40-413 与 40-412 相似,提供 32 通道输出和 32 通道回读,其主要区别在于它可以在高达 40V 的电压下处理 2A 的更高电流。因此,它能够驱动更大的负载。输入回读功能以与 40-412 类似的方式提供针对两个阈值电压的串行回读。





LXI 解决方案
请记住,PXI 数字 I/O 解决方案也可用于我们的模块化 LXI 机箱 60-102A 和 60-103B,供喜欢以太网控制解决方案的用户使用。Pickering Interfaces 的一些微波解决方案还包括用于驱动外部开关的端口,例如 60-750。

High Side Drivers(高端驱动器)
当在闭合时使用高端驱动器时,线圈中会积聚电流,直到达到受线圈电阻限制的稳态电流。这不会给驱动器带来任何大问题,因为电流的增加受到线圈电感的限制。然而,当输出打开时,电流中断,场的放电会产生很大的负电压瞬变。像 40-412 这样的数字 I/O 模块有一个内部二极管,可以钳位输出 (D1),但电流在一个大回路中放电,该回路由线圈到 40-412 的连接形成,然后通过 D1 进入系统接地。这在系统中形成了一个重要的天线,并产生瞬态场并干扰地面。但是,在线圈上安装一个二极管 D2 可以避免任何通过 D1 放电到系统接地。它在系统中产生的干扰更少。

Low side Drivers(低端驱动器)
当使用低边驱动器时,情况类似,在这种情况下,当线圈中的电流中断时,线圈上的电压会迅速上升。对于像 40-412 这样的受保护数字 I/O 模块,电压由内部钳位二极管 D1 钳位,但这样做会再次将电流释放到系统接地中,并且连接回路会发出瞬态场。电流回路还通过电源去耦电容器(采用电容退耦是解决电源噪声问题的主要方法。这种方法对提高瞬态电流的响应速度,降低电源分配系统的阻抗都非常有效。)干扰电源,这些电容器可能靠近线圈,但在某些情况下可能更远,从而增加了所产生的干扰量。这可以通过在线圈上安装一个二极管 D2 来避免,电流放电完全是局部的,不会干扰系统接地。

上一篇:虹科新品-高速数字化仪
下一篇:机器视觉系统检测表面缺陷