时间:2022-01-24 12:56
人气:
作者:admin
超声波风速风向仪换能器有360°发射的吗?答案是肯定的!
芬兰维萨拉有2款超声波风速风向仪,是用3个圆柱体的超声波换能器来测量风速和风向的,这种方法改变了常规的4个换能器成十字交叉安装来测量的方式,而是想三国鼎立一般平均分布在三个方位。这种超声波换能器一般是具有至少160°的发射角,如果3个换能器被叫做A、B、C,那么A发射的时候B和C接收,B发射的时候A和C接收,C发射的时候A和B接收,3个换能器轮询发射。通过2个接收换能器收到的时间不一样,计算出风向,再加上陀螺仪可以计算出风的方向。

这种风速风向仪由于换能器的发射角度大,优点是在大风速下不怕超声波的波束被吹弯。
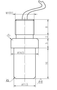
力语超声也有类似的超声波换能器,型号:KDYA-180-01A。是周围360°发射。
超声波风速风向仪换能器KDYA-180-01A尺寸图
超声波风速风向仪换能器KDYA-180-01A这款换能器可以用于3个探头的超声波风速风向仪,优点是发射角度是水平360°,覆盖面积大,垂直开角40°。缺点是比同样频率的单方向发射的换能器,信号要弱。