时间:2020-07-31 14:07
人气:
作者:admin
1、引 言
在半导体工艺中许多器件的重要参数和性能都与薄层电阻有关,为提高厚、薄膜集成电路和片式电阻的生产精度,需要使用设备仪器如探针台、激光调阻机对其进行测试或修调。一般所用的测量仪器或设备都包含连接、激励、测量和显示单元,有时还有后期数据处理单元。采用不同的测量方法和不同的连接方式引入的测量误差不同,得到的测量精度也不同。通常开关矩阵中继电器触点闭合电阻为1Ω左右,FET开关打开时的电阻为十几欧,引线电阻为几百毫欧。如何根据需要减少测量误差是测试技术的关键之一。
2、电阻测试基本原理
在电阻测试中我们常采用恒流测压方法、惠斯通电桥(单臂电桥)和双臂电桥方法。
2.1 恒流测压方法

图1中, r是引线电阻与接触电阻之和;I是程控恒流电流源; V是具有极高输入阻抗的电压表,它对恒流电流源不产生分流作用。施加已知的恒定电流I,流过被测电阻R t,然后测量出电阻两端的电压V,当R t>> r时,根据公式Rt=V/ I就可算出电阻值。
2.2 惠斯通电桥方法
图2中,V1,V 2是程控恒电压源;Rstd是标准电阻; Rt是被测电阻;I是电流表。当电桥平衡即流过电流表I的电流为零时,有V1 /V2=Rstd/R t,由此可计算出Rt=R std×V2/V1 。

2.3 双臂电桥方法
单臂电桥测量范围为10~106 Ω,单电桥测几欧姆的低电阻时,引线电阻和接触电阻已经不可忽略。而双臂电桥适用于10-6~102 Ω电阻的测量,它是改进的单臂电桥,如图3。将电桥中的中低电阻 Rt和R改成四端接法,并在桥路中增加两个高阻电阻R3和R4,则大大降低了引线电阻和接触电阻的影响。详细介绍参见文献[1]。

本文主要介绍恒流测压法。当被测电阻阻值远远大于测试引线电阻和测试探针与测试点的接触电阻时,采用图1所示的两线测试的基本方法是可行的,并且也可以获得相当高的测试精度。
3、开尔文连接测试技术
当被测电阻阻值小于几欧,测试引线的电阻和探针与测试点的接触电阻与被测电阻相比已不能忽略不计时,若仍采用两线测试方法必将导致测试误差增大。此时可采用开尔文连接方式(或称四线测试方式)来进行测试,如图4。

开尔文连接有两个要求:对于每个测试点都有一条激励线F和一条检测线S,二者严格分开,各自构成独立回路;同时要求S线必须接到一个有极高输入阻抗的测试回路上,使流过检测线S的电流极小,近似为零。
图4中r表示引线电阻和探针与测试点的接触电阻之和。由于流过测试回路的电流为零,在 r3,r4上的压降也为零,而激励电流 I在r1,r2上的压降不影响I在被测电阻上的压降,所以电压表可以准确测出 Rt两端的电压值,从而准确测量出R t的阻值。测试结果和r无关,有效地减小了测量误差。
按照作用和电位的高低,这四条线分别被称为高电位施加线(HF)、低电位施加线(LF)、高电位检测线(HS)和低电位检测线(LS)。
4、电阻隔离测试技术
对于施加的恒定激励电流能全部流过被测电阻的情况下,使用上述方法测试是很简便的,比如测试单个电阻。但我们还常常遇到被测电阻与一个电阻网络并联的情况,这个电阻网络会对施加电流有分流作用,导致无法采用上述方法进行测试,在这种情况下我们必须采用电阻隔离测试技术,其测试电路原理如图5。

图中,Rt是被测电阻, R1,R2串联后再与 Rt并联;A1,A2是高输入阻抗、高精度运算放大器;DVA是高输入阻抗、高精度差分电压的程控放大倍数仪用放大器,它的输出与数模转换ADC相连;DAC是电流输出型数模转换器,DAC与A1构成程控恒流源;根据计算机控制,DAC输出不同的恒定电流If。
A2构成电压跟随电路使Vc =Vb,从而I1=0。因此计算机通过16位电流输出型DAC设定If 就控制了流过被测电阻Rt的电流I t,再通过由DVA和ADC构成的电压检测电路测试出 Rt两端的电压就可算出Rt 的阻值。
这种方法等效于将R1 断开,把被测电阻单独隔离开来进行测试的情况,因此称其为电阻隔离测试技术。
5、分离开尔文连接测试电阻
电阻隔离测试对绝大多数复杂电阻网络都适用,但应用到极少数电阻值比率极大的电阻网络时就会产生一些问题。如图6, R2/R1=6000,R 3/R1=4000,如果按图5连接来测试电阻 R3时(即图6-(a)连接),设施加电流 It为200μA,则在R3 两端产生8V压降,R2由于被隔离,其两端电压为零,所以在R1两端必然产生8V电压,导致 R2的功耗为 V2/R1=6.4W,这显然是不允许的。如果把HP和LP 位置互换,由于A2不是理想器件,存在一定的失调电压 Vos,即使小到20μV,在R1 上也会产生2μA的电流,使流过R3的电流产生1%的偏差,造成测试精度大大下降。

在这种情况下可以采用一种变形的开尔文连接方式来进行测试,不再使用隔离方法。它仍采用四根线,但根据需要将其中一对或两对F,S线分开接在不同的点上来进行测试。这种方式称为分离开尔文连接方式。本例中三个电阻要进行四次测试才能计算出它们的阻值,四次测试的接法分别见图6中的表,图中1,2,3点为连接点。图6-(b) 接法可直接测出R1的值;图6-(c)可测出 R2与R3的并联值R p;图6-(d)和图6-(e)分别测出阻值R2 ′和R3′。分析可知
R2′/R 3′=R2/R3 ,1/Rp=1/R2+1/ R3;由此可以解出R2 =Rp×(1+R2′/ R3′),R3=R 2×R3′/R2 ′。
在测试中还常常遇到被测电阻的两端都没有测试点,隐藏在电阻网络中的情况,如R-2R网络。这时也需要使用分离开尔文连接来进行测试。
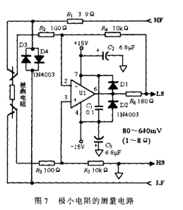
6、 极小值电阻的测量技术
对于极小阻值范围的电阻测量可以采用图7所示电路完成,它可以测量10~ 80mΩ的电阻。通过差分运算放大电路,把被测电阻产生的微弱电压信号放大100倍,因此实际电阻值是测量值要除以100。图中运放UI采用低噪声、高速、精密运放,如OP-37EJ,AD645或MAX400。和高电位施加线(HF)串联的电阻R1是用来匹配电流施加模块的最佳输出负载,R2到R5采用高精度高稳定性的电阻来保证差放电路增益的稳定,这决定了测量的精度和重复性。为了保证精度,对运放的电源电压要求很高,电路的安装位置要尽可能靠近被测电阻,所有探头要尽可能短,C2,C3要尽可能靠近运放。

7、 结束语
由于自动测试中要不断地改变被测电阻,同时又要根据情况灵活地选择测试方法和连接方式 ,因此实际生产中是使用探针卡将被测电路与系统相连,通过继电器或FET开关组成的开关矩陈由软件适当切换来提高测试速度和生产效率。同时在不同的测量中探针采用不同的接法,如直线四探针法和方形四探针法,可克服各种因素的影响,优化测量结果。如上所述,只要我们结合被测电阻的具体情况,灵活合理地应用上面介绍的测试技术,就可以得到满意的测试结果。制造出高质量的厚、薄膜集成电路和片式电阻来。
责任编辑:gt