时间:2020-06-11 10:31
人气:
作者:admin
1、超声波液位计安装基本要求
超声波液位计换能器发射超声波脉冲时,都有一定的发射开角。从换能器下边沿到到被测介质表面之间,由发射的超声波波束所辐射的区域内,不得有障碍物,因此安装时应尽量避开罐内设施,如:人梯、加热设备、限位开关支架等。在这种情况下,安装时必须进行“虚假回波学习”。另外注意超声波波束不得与加料料流相交。安装一体化超声波液位计时还要注意:最高料位不得进入测量盲区;一体化超声波液位计与罐壁必须保持一定距离;一体化超声波液位计的安装尽可能是换能器与液面保持垂直;安装在危险区域的一体化超声波液位计必须遵守国家防爆危险去的安装规定。本安型一体化超声波液位计安装在有防爆要求的场合,超声波液位计必须接地。

测量的基准面是超声波液位计换能器的下边沿。说明:①盲区范围;②量程设定;③高位调整;④低位调整
2、超声波液位计安装位置

安装时应注意一体化超声波液位计与罐壁至少保持200mm距离。①基准面②容器中央或对称轴
一体化超声波液位计要安装在锥形罐顶部中央位置
对于锥形容器,且为平面罐顶,仪表的##安装位置是容器顶部中央,这样可以保证测量到容器底部。

图示常见超声波液位计正确安装位置和错误安装位置

①错误:换能器应该与被测介质表面垂直。
②错误:一体化超声波液位计被安装在拱顶或圆形罐顶,会造成多次反射回波,在安装时应尽量避免。
③是正确的超声波液位计安装方法

①错误:不要将一体化超声波液位计安装于入料料流的上方,以保证测量的是介质表面而不是入料料流。
②正确的安装仪表室外安装时应采取遮阳、防雨措施。
3一体化超声波液位计防潮

对于安装在室外、潮湿的室内及制冷或加热罐顶上的一体化超声波液位计,为了防潮,应拧紧电缆密封套,而且在进线处使电缆弯曲(入左图所示)

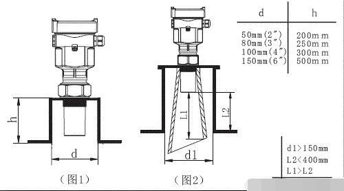
容器接管的长度:必须保证探头伸出容器接管至少10mm

①在介质反射性好的情况下,容器接管直径大,接管长度可略长于转换器(图1)右边表格列不同直径接管的长度推荐值。此时的接管末端必须平滑、无毛刺,尽可能磨圆。
另外,必须进行“虚假回波学习”。②在介质反射性不好、最高料位可能进入盲区时,必须提高一体化超声波液位计接管位置时,可选用喇叭形导波管安装方式,以增大信号的方向性,以减少接管对测量的影响(图2)
4、搅拌对超声波液位计的影响

当罐中有搅拌时,一体化超声波液位计应远离搅拌器,仪表安装后要在搅拌状态下进行“虚假回波学习”,以消除搅拌叶片所产生的虚假回波影响。若由于搅拌产生泡沫或翻起波浪,则应使用导波管安装方式。
5、泡沫对超声波液位计的影响
当入料、搅拌或容器内其他处理过程处理,会在某些介质表面形成泡沫,衰减超声波液位计信号。如泡沫造成误差,应将传感器安装与导波管内或使用导波雷达物位计。导波雷达物位计测量不受泡沫的影响,是这种应用的##选择。
6、气流对超声波液位计的影响
如容器内有很强的气流,如安装在室外且风很大,或容器中有空气涡流,应将传感器安装与导波管内或使用导波雷达物位计。
下一篇:电磁流量计的安装注意事项