时间:2020-03-17 11:05
人气:
作者:admin
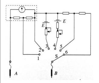
实验室中有各种各样的欧姆表,外表均不一样,可内部的原理、构造大致相同,我们通过对下方这张图的介绍,来探究多用电表的原理。

(1)当B表笔开关S接到1位置,欧姆表为电流表,电流经由A表笔进入,经过分流电路流到1接线柱上,表针测量的是支路电流,可以通过公式来描述干路电流。
(2)当B表笔开关S接到2位置,欧姆表还是电流表,电流经由A表笔进入,经过分流电路流到1接线柱上,表针测量的是支路电流,可以通过公式来描述干路电流。与(1)相比,这种情况下测量的电流最大值会更小些。
(3)当B表笔开关S接到3位置,欧姆表测量电阻,电源正极出来的电流,经由3(B表笔)进入外电阻,在经过A,借助并联电路流回到电源负极,其中电表位于并联的之路上,表针测量的是支路电流,由于电源电压已知,可以通过函数关系式用电表数据来描述外界所接电阻的大小。
(4)当B表笔开关S接到4位置,同上述(3)只不过电路中多了一个电阻,故测量同一个R时,电表值偏小,所以这种情况是处于相对(3)的低档位。
(5)当B表笔开关S接到5位置,测量的是电压。
(6)当B表笔开关S接到6位置,同上述(5)只不过测量的电压的量程变大了。
(1)选挡:把选择开关旋到欧姆挡上,并根据估测电阻的大小,选择好选择开关的量程。
(2)调零:把两支表笔相接触,调整欧姆挡的调整旋钮,使指针指在电阻刻度的零位上。(注意电阻挡的零位在刻度的右端)
(3)测量(读数):把两支表笔分别与待测电阻的两端相接,进行测量,指针示数乘以倍率数,即为待测电阻的阻值。
(4)实验完毕,应将两表笔从插孔中拔出,并将选择开关置于“OFF”挡或交流电压最高挡。如果欧姆表长期不用,应取出表内的电池。
(5)欧姆表内电池的电动势E,内阻r,用久后会改变数值,会造成测量误差变大。此时,测量电阻不够准确,较准确测量电阻应使用电路法。
(1)用欧姆表测电阻,每次换挡后和测量前都要重新调零;
(2)测电阻时待测电阻不仅要和电源断开,而且要和别的元件断开;
(3)测量时注意手不要碰表笔的金属部分,否则将人体的电阻并联进去,影响测量结果;
(4)合理选择量程,使指针尽可能在中间刻度附近,参考指针偏转在R中/5→5R中的范围(或电流表指针偏转满度电流的1/3~2/3);若指针偏角太大,应改接低挡位,反之就改换高挡位;读数时应将指针示数乘以挡位倍数;
(5)实际应用中要防止超量程,不得测额定电流极小的电器的电阻(如灵敏电流表的内阻);
(6)测量完毕后,应拔出表笔,选择开关置于OFF挡位置,或交流电压最高挡;长期不用时,应取出电池,以防电池漏电;
(7)欧姆表功能:测量电阻、测二极管正负极;
(8)用法注意:最好指针打到中间区域将误差减小。
上一篇:现场仪表接地连接方法及注意事项
下一篇:欧姆表的内阻_欧姆表内部的电路图