时间:2023-10-13 12:28
人气:
作者:admin
指纹解锁并不是一项“黑科技”,早在2013年,苹果公司就在iPhone 5S上加入了Touch ID指纹识别功能。随后,Android阵营的手机也逐渐跟进,使指纹识别成为智能手机的标配。但随着工业设计的进一步发展,传统指纹解锁技术已不能满足更苛刻的工艺水平要求。
屏下指纹识别技术,并没有出现在号称承前启后的iPhone X上。在最新的iPhone X上,苹果采用了Face ID代替原来的Touch ID作为身份验证。但坊间传闻苹果想要屏下指纹从未停止过。事实上,苹果的屏下指纹识别并没有停止研发,只是时间周期不太够。
连苹果公司都没用到的屏下指纹识别,究竟难在哪?
指纹识别技术是众多生物特征识别技术中的一种。可用的生物特征识别技术有指纹、人脸、声纹、虹膜等。指纹是其中应用最为广泛的一种。应用于智能手机的指纹采集技术目前主要有三种:电容式、光学式和超声波式。其中,电容式在智能手机应用领域目前仍然有最高的市场占有率。
由于我们的指纹是由凹凸不平的皮肤纹路构成,每个手指的纹路都完全不同,因此通过传感器可以获得不同的指纹图像。由于皮肤表面凹凸导致指纹不同位置到传感器之前的距离不同,测量到的电容也不同,最终将指纹图像翻译成芯片能理解的电信号,这样就可以实现准确的指纹测定。但电容指纹传感器也有缺点,它无法隔着手机屏识别按在屏幕上的指纹,这主要是因为屏幕模组本身的厚度导致传感器收集不到足够多有用的信号。这就使得前置电容式指纹识别方案在全面屏手机上没有了用武之地。
全面屏,从字面上解释就是手机的正面全部都是屏幕,采用无边框设计,追求接近100%的屏占比。但由于受限于目前的技术,业界宣称的全面屏手机暂时只是超高屏占比的手机,没有能做到手机正面屏占比100%的手机。现在业内所说的全面屏手机是指真实屏占比可以达到80%以上,拥有超窄边框设计的手机。如果想将全面屏变得更加“全面”甚至趋近于真正的“全面屏”的话,屏下指纹识别就必须攻克。
屏下指纹识别技术,也叫隐形指纹技术,是在屏幕玻璃下方完成指纹识别解锁过程的新技术,主要利用超声波、光学等穿透技术,穿透各种不同的材质,从而达到识别指纹的目的。
所谓屏下指纹,指的就是隔着屏幕完成采集的识别技术,无需手指与指纹模块直接接触。屏下指纹识别能保证屏幕的完整性,手指直接贴在屏幕上就能识别并解锁。同时,屏下指纹识别还可以较大程度降低手指污垢、油脂以及汗水对解锁的影响。
目前已知的屏下指纹识别方案主要有两种:一种是利用OLED实现,也就是光学式指纹识别;另一种是超声波式指纹识别。
光学式指纹识别是在屏幕下方设置光学传感器,通过发出近红外光来识别用户的指纹纹路。而超声波式指纹识别就是在屏幕下方设置超声波传感器,通过超声波完成指纹识别工作。
屏下指纹识别技术方案
屏下指纹识别是把指纹识别芯片放置在显示模组下方,可以同时实现全面屏和指纹识别的功能;屏内指纹识别是对屏下指纹识别的进一步发展,是把指纹识别芯片集成到OLED像素矩阵中,难度很大。
由于电容式穿透能力差,在这种模式下基本已无法工作,所以光学和超声波是屏下指纹与屏内指纹识别的最佳选择方案。
光学指纹识别以我国汇顶科技和韩国CrucialTec的方案为代表,超声波指纹识别则以美国高通公司为代表。
光学方案是依靠光线反射探测指纹纹路,所以光学屏下/屏内指纹识别更适合与OLED屏配合,因为OLED面板具有自发光的特性,使得各像素之间可以留有一定间隔,保证光线透过。光学式指纹识别目前在产业链成熟度和精度上都有更好表现,有望成为全面屏的标配指纹识别技术。
汇顶科技在三星S7edge为原型机上,展示了光学屏内指纹方案,将指纹识别集成到OLED显示屏中,用户触摸屏幕指定位置可实现指纹识别。
三星的合作伙伴CrucialTec刚刚获得了与DFS(显示屏指纹解决方案)相关的美国专利,并宣布明年正式商用。和汇顶方案不同,DFS支持在屏幕任意位置指纹解锁,甚至能够兼容像三星全视曲面屏这类柔性OLED面板,而且DFS不仅限于光学方案,还支持传统的电容方案。
由于厚度问题,指纹传感器位于显示器下方的识别率往往较低,且只能应用于屏幕的一部分。而DFS可以在屏幕任意区域解锁,在识别率和厚度方面都更有优势。
超声波式指纹识别是由高通首次推出,之后在小米5S上得到应用,通过超声波来感应指纹,高通提供芯片、欧菲光提供整体解决方案。
高通发布的第三代超声波指纹识别方案。该技术可穿透金属、OLED软屏、玻璃、塑料等物体,最高能穿透OLED屏幕1200微米,因而能够实现隔着屏幕就能识别。
虽然识别准确率还有待提升,但其无需开孔、无需直接接触、不受湿手指和微脏污影响的优势能显著增强用户体验,在产业链进一步成熟、准确率进一步提升之后,有望成为全面屏指纹识别非常可行的方案之一。
另外,三星提交了一份关于正面屏下指纹识别技术的专利文档这次提交的屏下指纹识别不仅仅是普通的光学指纹识别,而是一个带有压感型传感器的指纹识别系统。 这就意味着应用这项技术的三星手机可以在熄屏状态下通过按压指定位置就可以激活屏幕并实现指纹识别,而不需要像之前曝光的类似技术那样需要先点亮屏幕再进行指纹识别。
屏下指纹识别技术工作原理
目前已知的屏下指纹识别方案主要分为两个方向:一是利用OLED实现,另一个则是利用超声波实现。
光学指纹识别的工作原理

先来说说OLED。苹果采用来自三星的OLED屏幕,为什么苹果要选择OLED作为旗下最高端产品的屏幕呢?显示效果是一方面,坊间传闻的屏下指纹,也很可能是选择OLED的原因。但为何OLED能实现屏下指纹,而TFT-LCD不行?
关于手机指纹识别,坊间有很多资料,我们不再多说,而屏下指纹识别正是利用了光学原理。光学指纹识别需要光的发射和感应装置,由于LCD和OLED均可以当做光源,那是不是在屏幕下面垫一个CMOS传感器就行了呢?
然而没那么简单,TFT-LCD做屏下指纹识别很难。这是由于LCD是被动发光,通过底部的LED背光源透过TFT发光。这层TFT本身并不是那么透光,如果不做改动,直接把手指放上去,屏幕底下的传感器很难识别到指纹。因此如果用TFT-LCD做屏下光学指纹识别,必须给TFT层做技术改进,如加一些缝隙或是打开一个区域,让LED背光照上来。但即使这样,LED背光光源也会很大的干扰指纹反射的光线。所以TFT-LCD屏下光学指纹识别很难实现。
而OLED则是主动发光,理论上说可以精确控制到每一个子像素点,所以OLED材质的屏幕是更理想的发射光光源,此外,OLED显示模组更薄,也可以减轻由于放置屏下指纹传感器带来的整体机身变厚的问题。
目前产业链有三种利用OLED屏幕的开发方向:1,直接在屏幕下方布置一个CMOS传感器,利用OLED的子像素之间缝隙让光线穿透过去,进而识别指纹;2,缩小传感器,插入OLED的像素点之间;3,将CMOS传感器做成透明的,直接贴装于AMOLED屏幕上方,将光学指纹识别做成一层识别层。
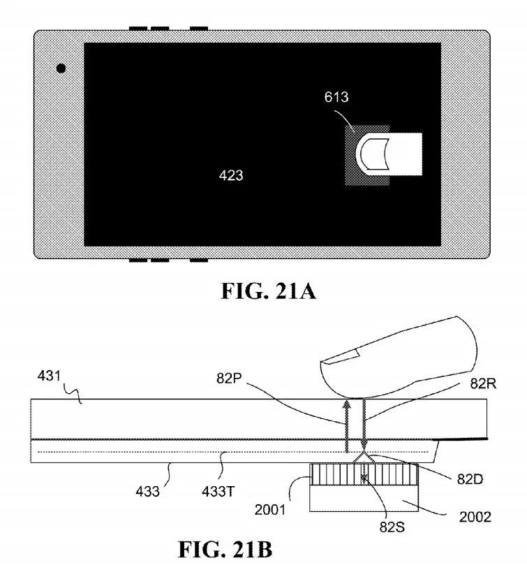
在光学屏下指纹识别方面,很多公司已经开始做出了尝试,并有了初步结果。汇顶科技就展示过利用AMOLED屏幕实现屏下指纹识别的案例,演示机型为三星Galaxy S7 Edge和vivo Xplay6。而汇顶科技就是在屏幕下方布置了一个CMOS传感器,根据汇顶科技在美帝注册的专利:玄机就在这三张图里了。

FIG.21A和FIG.21B从俯视和侧视两个角度说明了指纹识别传感器放置的地方。

FIG.24从微观角度则说明了光线是如何穿透OLED屏幕的,最上面的就是手指;偏上这层灰色区域就是手机的屏幕部分。透过屏幕的小孔,汇顶称之为“准直孔(Collimator Hole)”,手指反射回的光线光学传感器搜集、处理。


怎么保证光线搜集到的就是来自指纹的反光呢?这就需要对光线准直处理。如图FIG.27,汇顶定制了专门的微透镜阵列(MicroLens Array)、光学空间滤光器阵列(Spatial Filter Array),微透镜阵列需要经过MEMS(微机电系统)技术处理或化学处理。这两个阵列能够保证进入传感器的光线基本都是来自指纹的反光,而非屏幕或是阳光。
另一个屏下指纹识别方向则是利用超声波指纹识别
高通方案称其为Sense ID,指纹识别的龙头企业FPC也刚刚发布了他们的方案。超声波既不需要感光元件也不需要电容感应,因此更适合做屏下指纹识别。Vivo演示机使用的全屏幕指纹识别,采用的正是高通的方案以及欧菲的模组。
目前大规模应用的超声波指纹识别手机并不太多,主要是乐视的LeMax2和小米5s。LeMax2将指纹放在了后面,而小米5s则是在正面,当时超声波还穿透不了太厚的玻璃,最厚大约是0.4mm左右,而手机盖板玻璃厚度大约为0.6mm~0.9mm,因此0.4mm的有效厚度不足以穿透玻璃+显示屏(0.6mm+0.3mm)的厚度。小米只好和蓝思科技商量,给前面板玻璃多挖一块走,这样才能保证超声波能穿透,因此把指纹识别区域的玻璃削薄了一些。根据高通官网公开的资料显示,新一代的Sense ID可以穿透1.2mm的OLED屏幕或0.65mm的铝或0.8mm的玻璃。这样的穿透能力,用在目前的玻璃或OLED屏幕上也够了。
但为什么vivo还没开始在量产的X20等手机上使用?这是因为还需要时间优化算法。新技术从发布到正式应用还需要一个调试的过程,指纹识别是一项对安全性要求相对较高的生物识别技术,因此需要时间对算法优化以提高安全性、识别速度、识别率等。
然而FPC刚发布的方案更丧心病狂,FPC称,不管手是干的还是湿的,不管你屏幕是AMOLED还是LCD的,甚至不管你表面材质是不是玻璃,我们都能识别。能穿透多厚呢?20mm!20mm!20mm!重要的事情说三遍。作为对比,高通初代Sense ID是0.4mm,二代也就能穿透1.2mm。FPC能穿透的厚度是高通的16倍多。
FPC新技术的优势包括:
1、支持智能手机(任何其他设备)干净正面外观设计,可用于显示,并且还包含指纹识别功能,以最优化屏幕与手机的比例;
2、全屏幕可用于指纹识别。无需在视觉上或物理上突出智能手机的特定区域做为指纹识别;
3、该技术能够在不同的表面材质捕获指纹,如在厚玻璃和金属运行。当手指湿润或手指淹没在水下时,它也能够运作,这种技术在所有不同的玻璃厚度下工作得很好,即使是市场上最厚的玻璃;
4、这独特的技术在LCD面板以及OLED面板同样能够出色运作。
屏下指纹识别技术相关厂商
目前,手机业界主流的指纹识别解决方案提供者主要有美国公司AuthenTec和Synaptics、瑞典厂商FingerprintCards(FPC)和中国的汇顶科技。
FPC
FPC是一家瑞典生物识别传感器科技公司,主要开发、生产和销售指纹识别技术。2013年,FPC开始大举进军智能手机市场,得益于竞争对手AuthenTec只对苹果提供产品和技术,FPC成了非苹果手机阵营的老大。
FPC的技术竞争优势包括独特的图像质量、低功耗和完整的生物识别系统,但它的传感器价格也不低。不过随着众多国产指纹芯片厂商(特别是汇顶)的冲击,FPC的价格也在不断下滑,市场份额也逐渐被抢夺。
2015年FPC几乎垄断安卓机指纹芯片市场,2016年总体市场情况看,国产厂商已抢回不少市场,但安卓手机体系的指纹芯片仍然是FPC占领最多份额,达到40%,2017年1-6月份FPC成为指纹芯片当中最大的赢家,出货量居首达到了123KK。
AuthenTec
AuthenTec成立于1998年,一直是全球感应性指纹识别传感器最大供应商,其指纹识别组件很多年前就被嵌入了Windows笔记本。2011年,AuthenTec研发出了一种基于电容和射频识别的指纹识别新技术,称之为“TruePrint”,TruePrint专利技术能够读取皮肤表层下的活动层(人的指纹真正所在之处),实现极其精确可靠的指纹成像。
在2012年之前,AuthenTec就已经成为世界领先的指纹传感器及芯片与模组、身份识别软件和加密安全方案的供应商,年销售额达7千万美元,拥有200多项专利和230名员工,在世界范围内使用的传感器超过3500万个,其客户包括阿尔卡特-朗讯,思科,惠普,三星,联想,LG,摩托罗拉,诺基亚等等。
AuthenTec是苹果iPhone上TouchID的缔造者。2012年7月苹果公司斥资3.56亿美元收购了AuthenTec公司,AuthenTec开始停止向第三方销售指纹芯片。2013年苹果iPhone5sTouchID芯片便是AuthenTec的产品,得到市场一致好评,也掀起了指纹识别热潮。随后苹果的众多新品中均搭载AuthenTec指纹识别芯片。
苹果最近将代表AuthenTec缩写的auth.com收归到自己名下,业界人士认为是苹果将有新动作,联系到AuthenTec的业务内容,很可能是苹果要在屏下指纹识别技术上发力。
不过,日前苹果首席工程师DanRiccio表示苹果公司就已经确定要完全把指纹识别给抛弃了,还强调苹果从来没有在iPhoneX上尝试过屏下、背部以及侧面按键指纹的想法。这就让人非常难懂了,毕竟AuthenTec的核心优势就在于指纹识别。
汇顶科技
汇顶科技成立于2002年,并于2016年10月17日登陆A股市场。2016年财报显示,汇顶科技净利润达到8.57亿,同比增长126.51%,截至2017年9月,汇顶科技已申请、取得的国际、国内专利共计1500+项。
汇顶的指纹识别产品目前的客户群包括华为、OPPO、vivo、乐视、中兴、小米、魅族、联想、金立、TCL、Amazon、Dell、HP、ASUS、acer、TOSHIBA、Panasonic等众多海内外终端厂商。
魅族旗舰PRO6Plus还首发搭载了汇顶的活体指纹识别芯片;华为Mate10、P10/P10Plus、MatebookX、荣耀系列旗舰机型均采用的是汇顶的指纹识别方案。得益于众多品牌厂商的采用,汇顶今年的指纹识别芯片出货出现了爆炸式的增长。
在MWC2017大会上,汇顶首发了屏内指纹识别技术。此项技术是指将指纹识别功能完整的集成在AMOLED显示屏里,用户可以直接轻触移动端显示屏指定的区域便可以实现指纹识别。
Synaptics新思
Synaptics成立于1986年,2002年Synaptics在纳斯达克证交所上市并开始交易。2015年初,Synaptics也针对高端移动设备推出了按压式(NaturalID)指纹识别技术。目前国内的联想、中兴、金立、酷派等也有采用Synaptics的指纹识别传感器。
美国当地时间2016年12月12日,Synaptics宣布旗下的第三代NaturalID玻璃内层(under-glass)指纹传感器NaturalIDFS4500已经从9月份开始出样。FS4500可透过玻璃或者陶瓷按键扫描指纹,在出样之后,大规模量产预计在今年第四季度就能实现。
2016年12月13日,Synaptics又宣布推出业内首款面向智能手机和平板电脑的光学指纹传感器的NaturalID系列生物认证解决方案FS9100。据介绍,NaturalIDFS9100系列光学指纹传感器可透过1mm的完整盖板玻璃完成高分辨率扫描,并实现简洁、无需按键的工业设计,可为手机厂商提供屏下指纹识别技术方案。
最新消息显示,国内深圳一家名为UMIDIGI的手机厂商近日发布了一款名为UMIDIGIZ2的全面屏智能手机,其将采用类似iPhoneX的外观设计,但最大的亮点在于屏下指纹方面。据报道,这款产品有望采用Synaptics的FS9100光学指纹传感器实现屏下指纹识别。
敦泰
敦泰2005年在美国成立,2013年在台湾上市,是全球领先的人机界面解决方案提供商,电容屏触控方案、指纹识别方案以及全方位的TFTLCD显示驱动&控制方案提供商。
2014年9月24日敦泰与挪威指纹辨识厂IDEX合作(IDEX专注指纹辨识技术开发,拥有多达200多项专利权,其中包括与AuthenTec有专利交叉授权),共同开发滑条式指纹感测器,抢攻指纹辨识市场。
2014年底敦泰正式发布了完整的指纹识别方案,随后基于敦泰FT9200指纹识别方案的智能手机也于2015年2月正式上市,但是之后敦泰的指纹业务差不多就陷入了停滞,目前敦泰指纹芯片出货非常少,因为原有指纹识别技术团队大部分骨干的出走,一部分人跟着莫良华(敦泰原副总)成立了信炜科技,另外一批人则成立了芯启航,这两家公司都定位于指纹识别领域。
据悉,因光学式产业链相对成熟,敦泰会主攻光学式屏下指纹。
高通
高通相信大家都非常熟悉了,这里就不再啰嗦介绍。
2015年MWC展会上,高通发布了SenseID3D超声波指纹识别技术。SenseID超声波扫描可以穿透手指的外层皮肤,捕捉到指纹脊和汗毛孔等独特特征,识别出用户指纹独特的3D特征。
今年6月,高通在MWC上海大会上正式宣布推出该技术,称之为下一代超声波指纹解决方案指纹传感器。
该技术面向显示屏的指纹传感器能透过厚至1200微米的OLED显示屏实现指纹的扫描、录入和匹配;面向玻璃和金属的指纹传感器可透过厚至800微米玻璃面板和厚至650微米铝材质外壳实现扫描的解决方案,在上一代400微米的玻璃或金属穿透能力之上实现提升。
三星
三星大家也十分熟悉,在此不赘言。
日前三星刚向韩国提交了屏下指纹识别专利。
从汇顶、FPC的公开信息看,目前屏下指纹识别在技术上已获得很大进展,相信不久也将实现量产,眼看即将迎来市场的春天。
编辑:黄飞
上一篇:红外热成像机芯模组选购指南