时间:2022-08-11 15:33
人气:
作者:admin
从根本上说,微控制器可以被描述为与日益复杂的外围设备紧密耦合的逻辑处理单元。通过将此数字域与现实世界相耦合,外设的功能和性能是微控制器功能的定义参数。
最近,焦点可能已经转移到 MCU 内核上,但应用仍然在很大程度上定义了所需的外设集。随着 MCU 不断降低处理能力的成本,出现了更多样化和特定于应用的外设,通过专用接口增强了通用 I/O (GPIO)。
在最简单的形式中,专用接口可能只不过是比较器,而不是 ADC,但越来越多的相关外设将激励(电压或电流源)和测量(例如 ADC/DAC 或电流感应)结合在一起输入)。GPIO 是否应该被特定应用的接口取代现在通常取决于潜在市场的规模以及可能导致大批量生产的成本节约。一种这样的应用空间是触摸传感器接口。
对低成本触摸界面的需求正在增长,因为增加交互性的能力不仅可以在一系列设备中提供更好的控制,而且人们也越来越期待。
触控技术
从历史上看,最流行的触摸感应形式是基于电阻的,其中感应表面可以覆盖屏幕或印刷面板。这种方法的好处是简单且成本低;需要很少的资源,它也具有相对较低的处理开销,但也可以使用专用功能块来实现。
通常,电阻屏界面通过检测由绝缘体隔开的两种导电材料形成的平面表面上的微小电阻变化来工作。当对一个表面施加压力时,测得的电阻会降低。然而,这项技术的关键在于检测在 X 和 Y 坐标中施加压力的表面位置,这最终取决于分辨率。模拟电阻接口的最小可检测位置通常由表面尺寸、可测量电阻的绝对偏移以及用于测量电阻的 ADC 的分辨率定义,并转换为数字值。
向表面上的特定点施加压力有效地创建了一个分压器,可以在 X 轴和 Y 轴上测量,从而精确定位单个“接触”点。然而,这种方法的局限性在于它通常只允许在任何时候测量一个接触点。随着人们越来越意识到多点触控感应的好处,电阻式接口已不再受欢迎,但该技术仍有一席之地,因为它在恶劣环境或危险区域的操作方面继续提供一些好处。
当然,另一种选择是电容式触摸感应,它基本上不需要接触,但需要非常接近导电体,通常是手指。与电阻传感一样,该技术依赖于由绝缘体隔开的两个导体,但在这种情况下,绝缘体是自由空气,第二个导体是人的手指。
消除对压力的需求但用接近代替它与电阻技术相比有一个显着的缺点,即能够操作与任何硬物体的接口。相反,虽然理论上可以使用任何导电物体代替任何固体物体,但它确实对操作施加了限制。最值得注意的是,电容式触摸屏在戴手套时难以操作,而电阻式界面则可以轻松操作。
此外,电容式触摸感应依赖于测量非常小的电容波动,而不是相对较大且易于检测的电阻变化。仅此一项就需要更复杂(因此可能更昂贵)的解决方案,但在 MCU 内核上运行的软件通常可以吸收这种复杂性。
电容式感应的另一个主要好处是,初级导体可以很容易地用普通 PCB 轨道复杂或昂贵的东西来构造,从而可以适应各种形状和尺寸。
因此,为任何给定应用选择正确的解决方案并不像选择最灵活或最复杂的解决方案(例如电容式感应)那么简单。最合适的技术可能是最简单的,因此所有选项都值得仔细评估。
离散解决方案
对触敏界面的需求导致了一系列专用设备的开发,通常针对可以说是更复杂的技术,即电容感应。一个例子是 Atmel 的 QTouch 系列专用设备,其中包括QT1481. 该器件旨在支持矩阵布局,并集成了在大多数条件下提供稳定感测所需的所有信号处理,即使在使用单面 PCB 时也是如此。这种相对较小的设备(44 针)最多可容纳 48 个不同形状和大小的按键。它采用了 Atmel 的“QT”技术,该技术使用一种称为横向电荷转移的技术。这通过使用脉冲边沿检测强制通过两个电极的电荷变化来发挥作用。由于可以使用 GPIO 模拟该技术,因此可以使用 Atmel 的 QTouch 软件库在该公司的许多 MCU 设备(包括UC3A和UC3B系列)中实现它。
传统解决方案
如前所述,电容式感应并不总是最合适的解决方案,对于许多应用来说,简单的电阻式触摸感应可能仍然是最合适的技术。仍然存在解决方案来满足这一需求,同时提供一些独特的功能。一个很好的例子是Cirrus Logic的EP9315系列 MCU ,它集成了对电阻式触摸界面的支持。 这个成熟的系列基于 ARM920T 内核,能够支持 Linux 和 Windows CE 操作系统,而该系列中的一些变体具有数学协处理器和图形加速器——这些特性使其与最新的产品处于同一级别基于 ARM® 现在无处不在的 Cortex™ 系列处理器内核的 MCU。
该器件采用基于硬件的模拟电阻式触摸屏控制器引擎,可控制采样、平均、范围检查和扫描模式。虽然引擎执行标准接口的所有必要功能,但也可以绕过引擎并使用 ARM 内核来实现更复杂的扫描算法。
电容式接口
虽然电阻式触摸感应在许多应用中仍然发挥作用,但许多开发人员正在寻求实现的是多点触控电容式感应所提供的灵活性和功能。
除了能够将多点触控感应集成到显示器中外,电容感应还能够将用户控件添加到许多非透射表面,从而允许在已叠印的玻璃、陶瓷或塑料面板中实施控件提供传说和指导。这意味着几乎任何表面都可以变成耐用的界面,用于消费和工业应用。
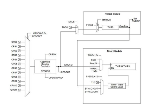
实现电容感应的硬件和软件方法可能因制造商而异,但通常会使用振荡器,因为Microchip 的mTouch 技术已在其PIC16F系列中实现。
电容感应振荡器产生一个三角波形,交替提供或吸收电流。由电容波动引起的频率变化在软件中检测,基于两个定时器,这两个定时器也在振荡器的控制之下。当引入电容负载时,例如手指,电容感应振荡器的频率会降低。添加模拟多路复用器意味着硬件可以支持多达十二个单独的电容输入。

图 1:PIC16F 系列中的 Microchip 电容式触摸感应技术。
Microchip 最近开发了一种独立设备,该设备使用更复杂的投射电容感应形式来识别三个维度的手势,距离电极(PCB 轨道)最远可达 15 厘米。预计这将创建大量新的应用程序,这些应用程序可能会利用更自然的手势来控制设备和设备。
随着 MCU 的角色不断被重新定义,它们的定义也在不断被重新定义,一个很好的例子就是PSoCCypress Semiconductor 的可编程片上系统器件系列。在这个范围内有三个主要的变体,主要由所采用的处理核心来区分。在 PSoC1 系列中,内核是 8 位 M8C 内核;在 PSoC3 系列中,使用的内核是 8 位 8051;而在 PSoC5 中,内核是 32 位 ARM Cortex-M3。
在每种情况下,内核都通过可配置的硬件架构来增强,该架构能够使用模拟和数字模块实现软件定义的外设。这种灵活性允许大量可配置性,主要由赛普拉斯半导体的集成开发环境 (IDE) “PSoC Creator”控制。
通过此 IDE,电容感应功能可轻松配置和优化,并且与软件库结合使用时,可用于实现特定应用的触摸感应解决方案。

图 2:使用 Cypress Semiconductor 的 PSoC Creator IDE 配置 PSoC3 和 5 系列。
一般来说,触摸感应以及电容感应现在可以被认为是地方性的,虽然它可以使用相对通用的硬件功能和大致简洁的软件算法在许多 MCU 中实现,但制造商将继续开发差异化解决方案的方法。
Silicon Labs认为这个应用领域非常重要,可以开发特定的解决方案,例如C8051F系列。该系列被 Silicon Labs 描述为电容式触控感应 MCU;它们基于高性能 8051 内核,但专门针对触摸感应应用。这一点在功能集上很明显,其中包括一个能够自主运行到 CPU 的 16 位逐次逼近转换器。
Silicon Labs 该系列 MCU 的最新成员是 Precision32 系列,它基于 ARM 的 Cortex-M3 内核,以SiM3系列为例。这提供了更高的处理性能并采用了 Silicon Labs 的“电容到数字”转换技术。
在这两个系列中,转换过程都可以由内部和外部的多个来源启动,并且可以支持多达 16 个通道。在 SiM3C1xx 中,器件有四种可用的操作模式,单次转换、单次扫描、连续单次转换和连续扫描。自动累加模式取多个样本的平均值。

图 3:Silicon Labs 的 Precision32 系列将 ARM Cortex-M3 内核与触摸感应硬件相结合。
结论
用户界面在不断发展,尽管简单的单刀双掷开关可能仍然是最容易实现的,但 MCU 固有的灵活性意味着随着它们的发展,我们的用户界面的复杂性也将如此。
如今,电容式触摸感应在许多应用中取代了电阻式,但两者都有其一席之地,并将继续在适当的地方进行设计。未来的技术有望在触摸感应方面实现更高的准确性,这将进一步推动这一基础但使能的技术进入更多样化的应用。