时间:2017-02-15 09:57
人气:
作者:admin
对于苹果下代新机iPhone8已经有了不少传闻,对于即将推出的iPhone十周年产品,外界充满期待。不过想要知道更靠谱的传闻,苹果的新专利倒是一个不错的途径。虽然每一项曝光的苹果新专利不一定会在iPhone上出现,但接下来这两个专利爆料可能对iPhone8的升级是一种预示。
苹果今日获得一项新技术专利,通过手机屏幕即可识别用户指纹,从而为iPhone 8取消Home键铺平道路。
美国专利与商标局(PTO)周二授予苹果的这项专利名为“配备红外二极管的交互式显示面板”。该触摸面板整合了微LED传感技术,而非传统触摸屏所采用有源矩阵硬件。

苹果新专利。来源:appleinsider
这项技术的专利申请最初是由微LED技术开发商LuxVue于2014年6月提交的。同一年,LuxVue被苹果收购。去年4月,这项专利申请被转移到苹果名下。
这项专利技术能利用红外二极管和传感器取代当前的电容传感器,从而为取消iPhone的Home键和Touch ID传感器铺平道路。同时,这也与近期有关iPhone 8的传闻相吻合。
近期有消息称,iPhone 8将采用“全面屏”,以及隐形的Home键和Touch ID传感器。而通过今日获得的新专利技术,苹果完全可以做到这一点。
iPhone当前所使用的指纹传感技术需要用户手指接触电容式驱动环。而要想实现传闻中的“全面屏”,苹果需要将Home键整合到面板中,或者将Home键彻底从前面板中移除。业内人士认为,后者的可能性更大。
虽然说今年将要推出的 iPhone 很有可能会配置更高级别的防水性能,不过就像我们对 iPhone 表现出来的欲望一样,所有的消费者都希望 iPhone 能尽可能变得更防水,更防水,更防水!同时,喜欢佩戴 Apple Watch 游戏的朋友同样也是希望自己的智能手表可以更防水,更防水,更防水。
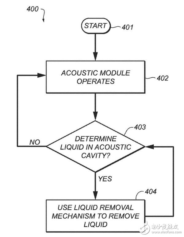
苹果近日就获得了一个与防水相关的新专利,该专利的名称叫做“从声学空间驱逐液体”,让我们详细了解一下该专利到底是一个什么样的发明。

苹果在描述该专利的时候提到,苹果设备的声学模块,例如麦克风和扬声器模块,它们通过声膜的震动产生声波,而由声膜产生的声波,会通过设备声腔去传播。而去除液体的机制将会从设备声腔来去除液体。
这种去除液体的机制包含了声膜,加热元件,疏水配件以及其他的配件等等。在一些情况下,该机制可以在声学模块或相关联的电子装置连接到外部电源时,从设备声腔去除液体。
只不过我们都清楚,苹果在过往的日子里曾经被授予过无数的专利,但是绝大部分的专利最终都没有能投入到商用或者苹果设备,苹果服务身上。不管 iPhone 还是 Apple Watch ,或者说 Mac 电脑,我们都希望在未来能获得一个更防水的苹果设备。
文章参考新浪科技和威锋网报道