时间:2014-01-22 09:08
人气:
作者:admin
据美国科技博客AppleInsider的报道,美国专利商标局于本周二公布了苹果公司申请的新型触摸板专利,该专利取消了Macbook上所采用的集成了“点击功能”的按压式触摸板,取而代之的是四个或多个力传感器和一个能够提供触觉反馈的调节器。
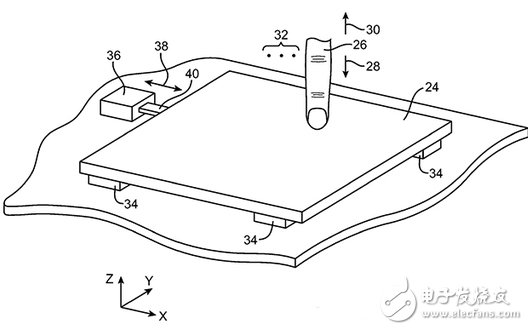
美国专利商标局公布的文件显示,该项专利的名称为“集成力传感器和触觉反馈调节器的触摸板”,该触摸板能够感应到用户手指的力度,在无需发生机械动作的情况下完成类似于传统触摸板的按下和释放等动作。

目前在苹果MacBook上所使用的按压式一体触摸板,能够被按下以完成点击动作。根据苹果的介绍,这种设计存在一定的缺陷,由于触摸板的机械动作是通过后边缘下方的铰链结构完成的,所以用户的手指不是在铰链的正上方,那么要完成按压动作所需要的力就比较大,这在一定程度上影响了用户的使用体验。
而在新的专利中,苹果在触摸板的四个角上集成了至少四个力传感器,这些传感器由纳米级的金属符合材料制成,能够对手指的压力大小进行分析,进而发出相应的指令来完成指定的操作。这也就意味着用户要想通过触摸板完成某一动作,不管手指在触摸板的哪个位置,所发的力基本上是相同的。
同时,由于这些力传感器位于触模板的四角位置,未来用户可能对某个传感器的受力触发动作进行自定义设置,甚至可以将其定义为启动某个软件,这将能够大大提高使用Macbook时的实用性和趣味性。
此外,苹果还考虑到这种实质上没有发生机械动作的触摸板会引起一些老用户的不适,专门在触模板上集成了一个触觉反馈调节器,该调节器能够在一定程度上模拟出传统触模板的按压动作,为用户的手指提供力学反馈,甚至还能通过电脑扬声器发出“喀哒”的按压声音。
另据悉,苹果是在2009年递交这份专利申请的。