时间:2022-11-25 20:53
人气:
作者:admin
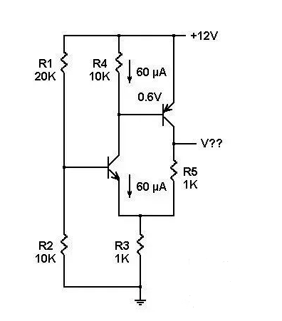
据说下文这个电路刷掉一大部分面试者,一起来分析一下吧。
电路图
有两个晶体管(transistor),一个NPN和一个PNP,连接方式下图所示。假设此晶体管是硅(Si),并显示0.6伏特(V)基极至发射极电压,且两个晶体管的ß值非常高,使得基极电流几乎为零。求电压V??

分析 第一步

对于NPN基本上为零的基极电流,R1和R2的电压在NPV的基础上将+12V导通电压分压为+4V。当Vbe为0.6V时,NPN发射极为+3.4V,在R3中流过的电流为3.4mA。
第二步
接下来的问题是,NPN发射器和R5如何共享3.4mA电流?

PNP的Vbe为0.6V,如此使得R4中的电流为0.06mA或60μA。在PNP基极电流几乎为零的情况下,由于NPN的ß值非常高,60μA成为NPN的集电极(collector)电流,也变成NPN的发射极电流。
流过R5的电流必须是R3的3.4mA电流和NPN发射极的0.06 mA电流之间的差值。该值为3.4-0.06=3.34mA。
第三步

R5上的电压降为3.34V,当加到R3顶端的3.4V时,将R5和PNP集电极的顶端放在+ 6.74V。
编辑:黄飞