全球最实用的IT互联网站!
人工智能P2P分享搜索全网发布信息网站地图标签大全
奥比中光发布首款户外大量程3D相机Gemini 2 XL
阅读全文2023-09-08
血管内超声(IVUS)成像系统在心血管疾病评估中
捷杰传感赋能港口机械智能运维
「芯森电子」获A轮数千万元融资,“遥遥领先”
红外避障模块是一种传感器吗?
RADIO ENERGIE法国雷恩传感器
阅读全文2023-09-07
自动驾驶l1-l5技术区别 自动驾驶为什么不能用燃
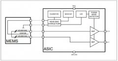
英飞凌高性能模拟/数字MEMS麦克风设计
汉威科技研发出一系列气体监测智能仪器仪表创
基于MM32F5的IOT智慧门禁系统设计案例
工业4.0时代:有线振动传感器与数据采集
AI大年,传感器狂欢!三大传感器企业H
思特威2025上半年业绩飙升:营业收入37
什么是传感器标定?传感器标定真的如此
CPU | 内存 | 硬盘 | 显卡 | 显示器 | 主板 | 电源 | 键鼠 | 网站地图
Copyright © 2025-2035 诺佳网 版权所有 备案号:赣ICP备2025066733号 本站资料均来源互联网收集整理,作品版权归作者所有,如果侵犯了您的版权,请跟我们联系。