时间:2020-09-07 13:50
人气:
作者:admin
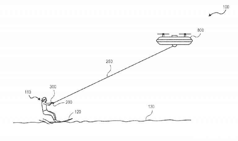
Amazon再有无人机相关的专利曝光。这是一款为无人机而设的「牵引控制把手(Tow control handle)」,用家可透过把手上的控制元件指示牵引的无人机改变方向、速度,并在无人机的牵动下到达目的地,适用于滑雪、滑水等场景。

无人机牵引控制把手(手柄)
通过牵引线连接到无人机
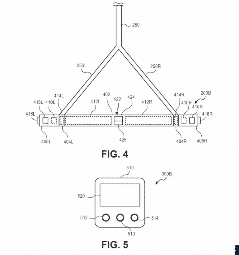
根据近日曝光的专利文件所见﹐这项由Amazon 在2016 年6 月28 日提交申请的专利,名为「无人机牵引控制把手(手柄)」。它提供了一种牵引系统,主要包括牵引控制把手。该把手通过牵引线连接到用于牵引用户之的无人机。
可控制无人机飞行
该牵引控制把手可以包括各种控制元件,例如传感器、按钮、开关、可旋转部件等,由用户驱动以提供用于控制无人机各种飞行方面的信号,像是方向、速度等。文件也指出,这是一款可佩戴或以其他方式携带的设备,使用户可以在要开始牵引过程时及/或在要重新取得牵引控制把手时,将无人机召唤到用户的位置。
透过手机讯息定位用家
至于无人机如何获得用户的位置?文件指,无人机会接收到以手机讯息送出的用户定位数据,用户只需要在原地等候,待无人机飞到并垂降牵引控制把手予用户。该专利可用于多种场景,包括代替升降缆车牵送滑雪者到高位,也可用于滑水等。
可应用于滑雪滑水等场境
依靠无人机来牵引滑雪或滑水的应用其实在这几年都有人做过了,包括知名YouTuber Casey Neistat三年前就拍了片示范如何在无人机牵引下滑雪,甚至被带到半空中。不过,这些应用所用到的牵引把手大多就单纯只是一个可以抓着的把手,并不像Amazon专利的手柄般有控制无人机的功能。

责任编辑:gt