时间:2020-09-11 11:43
人气:
作者:admin
迪斯尼(Disney)近年也相当拥抱无人机技术,除了用无人机光影涂鸦来取代烟火表演、开发涂鸦无人机之外,近日也取得一项名为「使用无人机力量来制作创意表演元素的空中表演系统」专利。


专利名为「使用无人机力量来制作创意表演元素的空中表演系统」
7月底获批专利权
由迪斯尼(Disney Enterprises, Inc.)于2019年9月3日提交的专利——「使用无人机力量来制作创意表演元素的空中表演系统」(Aerial Show System Using Unmanned Aerial Vehicle Energy To AnimateCreative Show Element),在今年7月28日正式获得批出专利权。

实现了无人机的动态表演参与
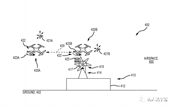
该专利摘要指出:「一个空中表演系统,包括无人飞行器、无人机上的表演系统、非无人机或「地面」表演系统,以及全球地面控制系统。该控制系统配置会在演出期间主动追踪无人机的运作,并做出反应以使无人机真正成为大型演出的一部分。该系统通过分布式表演系统实现了无人机的动态表演参与,分布式表演系统可以包括其他无人机和地面上的非UAV表演系统,但可以启动并在空域中提供效果,期间无人机会飞行。」

无人机可被用来带动战舰升空
控制系统追踪无人机操作
该地面控制系统会追踪表演空间内的无人机,以确保它们正确执行所需的操作,以及完成指示的任务。从当中举例的绘图可见,无人机可被用来带动战舰升空,同时使用其向下气流推动一些道具,从而产生更逼真的效果。
责任编辑:gt