时间:2018-06-21 15:34
人气:
作者:admin
近日,据报道,亚马逊公布了一项新专利,是一种带有安全气囊和悬停功能的奇怪无人机。

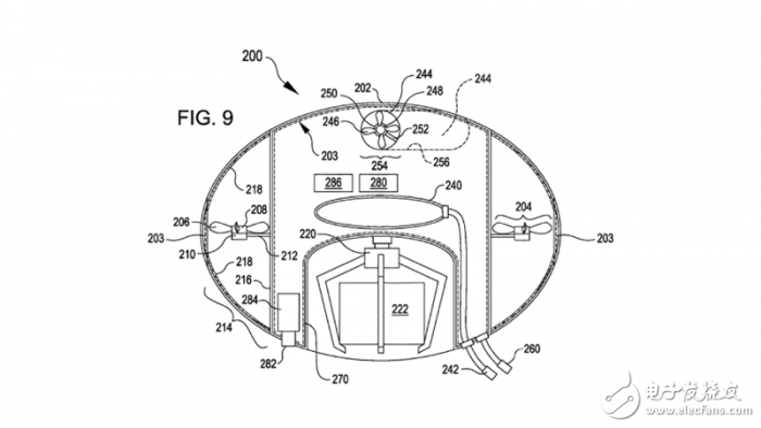
从该专利的显示图来看,该无人机具备向下垂落的爪子,可用于“抓取一个或者多个物件进行运输”,能够帮助物品在仓库之间进行移动,从而减少仓库员工的负担。相关专利申请人员表示,这种与众不同的无人机将用于其仓库中难以到达的地方。
此外,亚马逊在该专利中详细描述了一种“库存系统的协作式无人机驾驶飞行器”,亚马逊描述这款无人机时使用了“浮力安全气囊”、“悬停功能”、“驱动单元”和“车载控制模块”等关键词。虽然这种无人机的概念令人印象深刻,但它目前仍然只是一项专利,并且尚不清楚该无人机是否会真正投产。
不过,频繁的专利申请提交用以保护技术并探索未来可能性的创新。亚马逊最近提交了一项名为“无人机驾驶飞行器的人机交互”专利,将传感器嵌入无人机中,可对语音命令和手部动作做出反应。这意味着无人机可以在交货期间对人们的尖叫声,挥舞双手的动作以及疯狂或粗鲁的手势做出反应。
目前,关于此项专利的最终落实,亚马逊并没有透漏相关消息,不过可以推测,该专利是空中快递计划的一环。