时间:2025-02-26 11:43
人气:
作者:admin
概述
DS28E80是一款用户可编程的非易失性存储器芯片。与浮栅存储单元相比,DS28E80采用了抗伽马辐射的存储单元技术。DS28E80有248字节的用户内存,这些内存以8字节为单位进行组织。单个块可以写保护。每个内存块可以写入8次。ds28e 80通过单触点单线总线以标准速度或超速速度进行通信。每个器件都有自己保证唯一的64位注册号,该注册号是由工厂编程到芯片中的。通信遵循1线协议,在多设备1线网络的情况下,64位注册号作为节点地址。
数据表:*附件:DS28E80 1-Wire存储器技术手册.pdf
特性
典型应用电路
电气特性
引脚配置
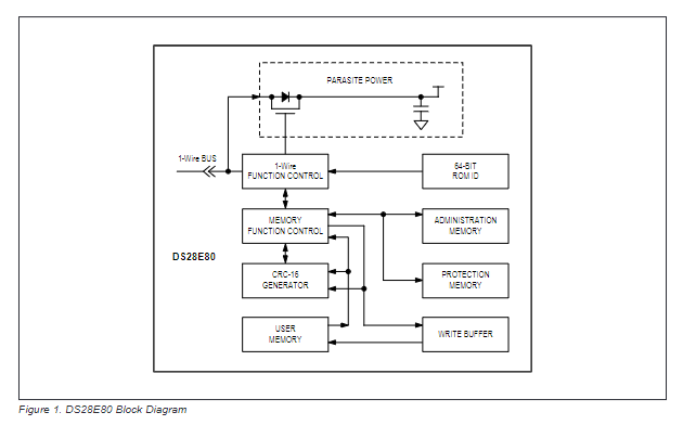
图1中的框图显示了DS28E80的主要控制和存储部分之间的关系。该设备有五个主要数据组件:用户存储器(31个8字节的块)、管理存储器、保护存储器、64位ROMID和64位数据缓冲区。图2显示了1-Wire协议的层次结构。总线主控必须首先提供七个ROM功能命令之一:读取ROM、匹配ROM、搜索ROM、跳过ROM、恢复通信、超速档跳过ROM和超速档匹配ROM。这些ROM功能命令所需的协议如图8所示。在成功执行ROM功能命令后,存储器功能变得可访问,并且主设备可以提供5个可用存储器功能命令中的任何一个。功能协议如图6所示。所有数据首先读取和写入最低有效位。
读取内存命令用于读取用户内存。该协议允许在单个读取内存命令流中读取多个块,直到内存末尾。在读取块的最后一个字节后,DS28E80向主机发送块数据的CRC.以验证数据完整性。如果主设备继续读取,DS28B80将传输下一个块的数据。以此类推。在读取最后一个存储块并且主设备继续进行CRC之外的读取后,得到的数据是FFh。主机可以通过发出复位脉冲随时结束读取内存命令。