时间:2024-11-14 01:08
人气:
作者:admin
NAXIANG TECHNOLOGY纳祥科技NX24C02AEEPROM
EEPROM (Electrically Erasable Programmable read only memory),带电可擦可编程只读存储器。它是一种特殊的存储芯片,它允许在有电源的情况下进行多次擦除和编程操作,而数据一旦保存,即使断电也不会丢失。因其具有存储信息可靠性高、擦写次数多的特点,广泛应用于各个领域。
因而,我们今天就来介绍纳祥科技的一款EEPROM:NX24C02A。
NX24C02A芯片概述
纳祥科技NX24C02A是2048位串行电气可擦除可编程只读存储器,内部为256个字节,每个字节8位。NX24C02A采用专有的高级CMOS工艺制造,适用于低功耗和低电压应用;另有标准的8引脚DIP、8引脚SOP、8引脚MSOP、8引脚TSSOP、8引脚DFN和5引脚SOT-23 / TSOT-23。一个标准的2线串行接口是用来解决所有的读写功能。Vcc范围(1.8V至5.5V),设备可实现广泛的应用范围。
此外,NX24C02A在性能上可兼容替代SL24C02,AT24C02。
NX24C02A主要特性
NX24C02A是一种掉电数据不丢失的存储器,主要具备以下特性:
■ 宽范围的工作电压1.8V~5.5V
■ 低电压技术
1mA典型工作电流
1μA典型待机电流
■ 16字节页面写入模式
■ 允许部分页面写入操作
■ 内部组织:256x8(2K)
■ 标准的2线双向串行接口
■ 施米特触发器,滤波输入噪声保护
■ 编程周期(最大5毫秒)
■ 1MHz(5V),400kHz(1.8V,2.5V,2.7V)兼容性
■ 高可靠性:典型值为1,000,000个循环续航能力
■ 数据保存时间100年
■标准的8脚DIP/SOP/MSOP/TSSOP/DFN和5脚SOT-23/TSOT-23无铅封装

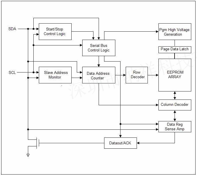
▲NX24C02A功能框图
NX24C02A芯片亮点
NX24C02A具备高可靠性、低成本、低电压、低功耗等优良特性,具体表现如下:
01低功耗
NX24C02A采用CMOS技术,工作电流为1mA,待机电流为1μA,功耗极低,适合于电池供电等低功耗应用场景。
02低电压
NX24C02A的工作电压范围为1.8V到5.5V,可以在较低的电压条件下正常工作,也能适应不同的电源供电情况。
03高可靠性
NX24C02A具有耐久性和数据保持能力,数据保存时间可达100年。
04多种封装
NX24C02A可提供DIP、SOP、TSSOP等多种封装形式,适应不同的应用场景。

▲NX24C02A管脚配置
NX24C02A应用领域
NX24C02A因其出色而可靠的性能,在各种领域得到了广泛的应用:
■ 智能仪器仪表
■ 工业控制
■ 家用电器
■ 计算机 、笔记本电脑
■ 汽车电子
■ 通信设备