时间:2024-07-26 11:41
人气:
作者:admin
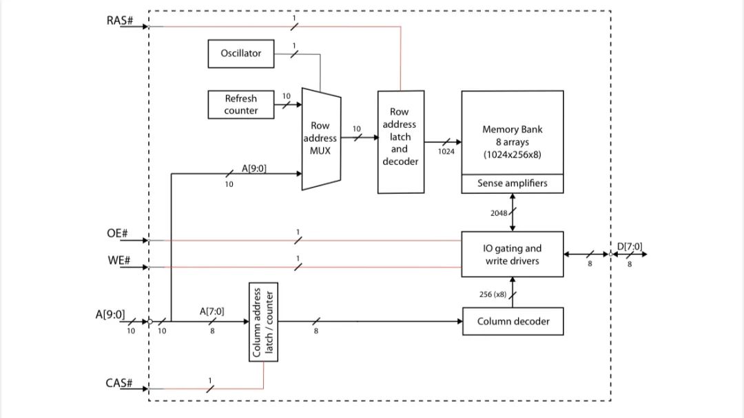
如果内存是一个巨大的矩阵,那么DRAM芯片就是这个矩阵的实体化。如下图所示,一个DRAM芯片包含了8个array,每个array拥有1024行和256列的存储单元。

当访问这些存储单元时,芯片可以一次性读取或传输8个比特(D0到D7)。这个过程涉及到两个关键的组件:行地址解码器和列选择器。行地址解码器负责激活与给定行地址对应的字线,而列选择器则用于从给定的列地址中选择正确的列。
地址线的复用
由于DRAM的容量巨大,如果直接为每一行和每一列分配地址线,那么所需的地址线数量将会非常庞大。例如,在一个32256行1024列的array中,我们需要15位来选择一个字,10位来选择一个列。为了解决这个问题,地址线采用了复用技术。首先,行地址被应用到地址线上,然后是列地址。这样,所需的地址引脚数量几乎减半。
控制信号的作用
在数据传输过程中,还需要两个额外的控制信号来指示当前总线上是哪种地址:行访问选通row access strobe(RAS)和列访问选通column access strobe(CAS)。当RAS信号被激活时,地址位A0到A9被锁存到行地址锁存器中。类似地,当CAS信号被激活时,地址位A0到A7被锁存到列地址锁存器中。
此外,还需要两个控制信号来正确地将数据传输到DRAM芯片或从芯片中读取数据。写使能(WE)信号用于选择读或写操作。低电平表示需要写操作;高电平则用于选择读操作。
在读操作期间,输出使能(OE)信号用于防止数据在需要之前出现在输出端。当OE为低时,数据一旦可用就会出现在数据输出上。在写操作期间,OE则需要一直保持高电平。

最后,让我们来澄清一个常见的误解:许多人认为内存在物理上是可以以线性向量的形式组织的,而不是以行和列的矩形阵列。实际上,这种组织方式在理论上可能是理想的,但在物理上却是不可能的。因为如果内存以这种方式组织,位线会非常长,电容也会非常大,这将使得检测微小的电压变化变得不可能,也就是无法判断电容存储的是0还是1。
上一篇:DRAM的内部结构和工作原理