时间:2021-07-07 16:47
人气:
作者:admin
电路功能与优势
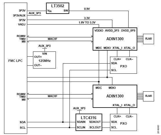
图1所示电路是一种双通道、低延迟、低功耗的以太网物理层(PHY)卡,支持10 Mbps、100 Mbps和1000 Mbps速度,适合于采用线形和环形网络拓扑的工业以太网应用。
双通道支持常用于工业检测、控制和分布式控制系统的线形和环形网络拓扑。ADIN1300以太网PHY针对电磁兼容性(EMC)和静电放电(ESD)鲁棒性进行了广泛的测试,并支持自动协商,能够以宣传的最高通用速度与远程PHY器件链接。PHY中的IEEE 1588时间戳降低了实时应用中的时序不确定性,并增强了冗余和实时应用的链路损耗检测。
该电路由两个独立的10 Mbps、100 Mbps和1000 Mbps PHY组成,每个PHY均有一个高能效以太网(EEE) PHY内核及所有相关的通用模拟电路、输入输出时钟缓冲、管理接口、子系统寄存器、媒介访问控制(MAC)接口和控制逻辑。
该设计由主机现场可编程门阵列(FPGA)夹层卡(FMC)开发板供电,无需外部电源。软件可编程时钟支持媒介独立接口(MII)、精简MII (RMII)和精简千兆位MII (RGMII) MAC接口模式。集成磁性元件的RJ45端口使解决方案尽可能紧凑。
该解决方案在千兆速度下支持最长150米电缆,在100 Mbps或10 Mbps速率下支持最长180米电缆。该解决方案通常用于环形或总线拓扑。ADIN1300的自动协商特性允许以支持的最高速度与其他PHY器件连接。

图1.EVAL-CN0506-FMCZ简化框图(未显示解耦和所有连接)
电路描述
以太网
以太网是局域网(LAN)中数据网络应用最常见的基于分组的物理连接类型,由电气电子工程师协会(IEEE) 802.3标准的多个小节和规范定义。
以太网具有不同的速度和传输媒介。但是,本电路笔记的重点是直通或交叉、5e类(CAT5e)或6类(CAT6)双绞线电缆上的10BASE-T、100BASE-TX和1000BASE-T。
线形和环形网络拓扑
典型工业以太网网络采用线形或环形拓扑进行部署。与星形网络相比,线形和环形网络拓扑的布线长度更短,而且环形网络还有一条冗余路径(参见图2)。连接至线性或环形网络的每个设备都需要两个以太网端口,以便沿网络传递以太网帧。

图2.线形和环形拓扑
PHY
PHY是实现开放系统互连(OSI)模型的物理层功能的物理接口收发器。PHY对器件之间发送和接收的数据进行编码和解码,从而保持帧和数据包的完整性(参见图3)。
PHY硬件配置—绑定电阻
可以将ADIN1300配置为上电就绪以建立链路。此PHY硬件配置使用外部绑定电阻,为非托管应用中的上电操作提供一个已知配置。在非托管应用中,用户通常不会在管理数据输入输出(MDIO)上配置PHY。相反,非托管应用依赖PHY硬件配置以适当的配置启动ADIN1300,从而准备好与远程PHY伙伴链接。当ADIN1300上电时,硬件绑定引脚在器件退出复位状态时进行采样,这样PHY器件便知道如何配置各种功能。
本电路笔记关注的硬件配置模式是速度、PHY地址、自动媒介相关接口交叉(Auto-MDIX)和MAC接口。EVAL-CN0506-FMCZ包含多种尺寸的电阻以支持各种组合,并有一个特定的默认配置。如果需要更改默认硬件配置,可以插入或卸下电阻元件。
有关使用其他特性和功能(例如高能效以太网(EEE)、能量检测关断、关断速度和软件关断)的更多信息,请查阅ADIN1300数据手册。

图3.带有PHY器件的典型网络传感器
物理层—MAC接口
MAC接口是CN-0506上的有线媒介,有三个MAC接口选项:RGMII、RMII或MII。RGMII支持所有速度,最高为1000 Mbps,而MII和RMII分别支持10 Mbps和100 Mbps。RGMII是CN0506的默认接口。
选择使用哪种MAC接口有两种方法:通过硬件绑定外部电阻,或使用软件寄存器配置。MACIF_SEL0和MACIF_SEL1是ADIN1300内的多功能引脚(更多信息参见ADIN1300数据手册)。对于CN-0506,可以根据表1配置MACIF_SEL0和MACIF_SEL1引脚以选择MAC接口。请注意,MACIF_SEL0和MACIF_SEL1引脚内部有弱下拉电阻。因此,如果没有外部绑定电阻,则默认MAC接口为2 ns延迟的RGMII。
表1.MAC接口选择

在本电路笔记中,MAC接口选择通过软件配置完成,即使用ADIN1300中的GE_RGMII_CFG和GE_RMII_CFG寄存器。如果用户更愿意在硬件中配置MAC接口,板上也为外部上拉和下拉电阻预留了空间。但是,由于未安装电阻,故EVAL-CN0506-FMCZ上的PHY使用默认RGMII接口上电。
PHY地址
有四个PHY地址引脚(PHYAD_x),允许用户将PHY配置为16个PHY地址中的任何一个。PHY寻址使得系统可以从单个控制器获得多达16个独立可控通道。
EVAL-CN0506-FMCZ当前已硬连线为特定地址,但可以通过更改每个通道的配置电阻来改变。通道1当前分配的地址为0001,通道2当前分配的地址为0010。
可编程MAC接口时钟
ADIN1300具有三个MAC接口选项:MII、RMII或RGMII。对于RGMII和MII接口,ADIN1300需要25 MHz的时钟,而RMII需要外部50 MHz的时钟。在用户应用中,用户可以选择将25 MHz晶振放在XTAL_I和XTAL_O引脚附近,或者对于使用RMII的情况,主机控制器、MAC接口或交换芯片可以直接向PHY提供所需的50 MHz时钟。
EVAL-CN0506-FMCZ包括两个从100 kHz到125 MHz的I2C可编程时钟(Y1和Y2),以支持ADIN1300不同MAC接口的相应时钟需求。
默认情况下,上电时每个通道的时钟设置为25 MHz。使用RMII MAC接口时,可以将时钟编程为50 MHz。
两个时钟具有相同的I2C地址,但通过使用I2C地址转换器LTC4316,这些时钟可以分别编程为彼此不同的地址。LTC4316对传入的地址进行XOR运算,将每个传入的位转换为由芯片的电阻分压器网络设置的用户可配置转换字节。
MDI接口—集成磁性元件
通常,MDI接口通过变压器和RJ45连接器将ADIN1300连接到以太网。CN-0506使用集成磁性元件的RJ45连接器。RJ45连接器中集成的磁性元件通常可以改善电磁干扰(EMI)屏蔽,并且尺寸较小,与使用分立磁性元件相比,所需的走线布线更短。
集成磁性元件包括RJ45连接器、共模扼流圈、隔离变压器、LED、解耦电容和端接电阻。由于设计中的过压要求不同,或者如果特定EMI需要不同布局,设计可以选择使用分立磁性元件。
电源
为了减少电源数量,ADIN1300、MDIO和MAC接口的模拟电路电源通过铁氧体磁珠从FPGA的3.3 V供电轨获取,以减少进入系统的噪声。
ADIN1300的数字内核需要0.9 V电源。该电源是在板上利用LT3502脉冲宽度调制(PWM)降压DC-DC转换器从3.3 V供电轨获取;转换器将FPGA的3.3 V电源转换为0.9 V,消耗的载波功率最大为0.45W。
软件概述
提供给CN-0506使用的FPGA参考设计独立配置每个ADIN1300。每个PHY (ADIN1300)连接到指定的MAC接口,ADIN1300和FPGA之间支持三种接口模式:RGMII、MII和RMII。
每种模式都有单独的硬件设计语言(HDL),因为某些模式需要转换器,例如千兆MII (GMII)转RGMII。工作模式须在HDL中选择,以与用户希望在Linux中使用的模式一致。
EVAL-CN0506-FMCZ连接到标准低引脚数(LPC) FMC连接器,软件设计可移植到许多不同的FPGA开发板上。
不同模式和载波组合支持的Linux设备树可以在CN0506 HDL页面上找到。有关ADI公司标准Linux镜像的更多信息,参见FPGA镜像用户指南。
电路板布局考量
以太网信号布局至关重要,尤其是在千兆速度下。信号以100Ω受控阻抗对的形式路由到RJ45插孔。
以较低时钟速率运行时,到载波的数据和时钟信号具有边沿速率,要求小心布局。EVAL-CN0506-FMCZ上的信号应保持尽可能短,连接CN-0506时必须仔细考虑载板上的信号走线长度和阻抗匹配。这些因素对CN-0506的整体速度和性能很重要,但必须分别考虑。
图4显示了从V2到V1的1000BASE-T最大下降点——98.7%。

图4.峰值PHY差分输出电压
性能结果
使用CN-0506进行了一些测试,包括模式验证测试、速度测试和电缆长度驱动测试。
EVAL-CN0506-FMCZ在不同模式下进行了测试,电缆长度逐渐增加。4米电缆和154米电缆的结果已在表2和表3中分别详细列出,没有丢包。
表2和表3分别显示了短电缆传输和长电缆传输情况下本地和远程以太网PHY位置上ADIN1300的帧检查器计数寄存器(FC_FRM_CNT_H和FC_FRM_CNT_L)和接收错误计数寄存器(RX_ERR_CNT)的回读值。

常见变化
如果应用不需要高达1000 Mbps的速度,可使用功耗更低的单端口以太网收发器ADIN1200,其最高速度为100 Mbps。
关于I2C总线转换器的替代产品,LTC4317是一款单输入、双输出I2C地址转换器,而LTC4318是一款双输入输出I2C总线转换器。
如果应用不需要RMII支持,则仅使用一个固定频率的25 MHz晶振可简化时钟方案。
电路评估与测试
数据完整性和带宽在工业网络中至关重要。数据回送测试可以验证整个系统,包括EVAL-CN0506-FMCZ、电缆和连接器。有关设置和测试的完整详细信息,参见CN0506用户指南。
设备要求
需要以下设备:
•EVAL-CN0506-FMCZ电路评估板
•CAT6以太网电缆
•ZC706 FPGA开发板
•SD卡
•带有USB A型加密狗的无线键盘和鼠标
•微型USB OTG适配器
•高清多媒体接口(HDMI)公对公电缆
•HDMI监视器
•ADI公司Linux镜像,配置为与CN0506一起使用
开始使用
按照适用于Zynq和Altera SoC的AD-FMC-SDCARD快速入门指南中的详细说明准备SD卡,包括以下内容:
1. 下载最新的FPGA Linux镜像。
2. 格式化SD卡。
3. 将FPGA Linux镜像烧录到SD卡。
4. 将CN-0506的boot.bin和设备树文件复制到SD卡的引导分区中。
功能框图
图5所示为测试设置的功能框图。

图5.测试设置功能框图
设置
请执行以下步骤来设置测试:
1. 使用LPC FMC连接器将EVAL-CN0506-FMCZ安装到ZC706 FPGA开发板上,并用10mm支柱将其固定。
2. 将预先配置的SD卡插入Xilinx ZC706。
3. 在两个RJ45以太网插孔之间连接以太网电缆,以建立回送。
4. 在HDMI监视器和Xilinx ZC706之间连接HDMI电缆。
5. 将微型USB OTG适配器插入Xilinx ZC706的微型USB端口。
6. 使用USB A型加密狗将无线键盘和鼠标连接到USB OTG适配器。
7. 将电源连接器连接至Xilinx ZC706,并将另一端插入壁式电源适配器。
测试
在回送模式下测试系统,即生成大量数据,并将数据从一个通道发送到另一个通道,然后送回来。
图6显示了EVAL-CN0506-FMCZ电路评估板的实物照片。

图6.EVAL-CN0506-FMCZ电路评估板