时间:2017-12-08 13:53
人气:
作者:admin
建立连接非常重要,它是数据正确传输的前提;断开连接同样重要,它让计算机释放不再使用的资源。如果连接不能正常断开,不仅会造成数据传输错误,还会导致套接字不能关闭,持续占用资源,如果并发量高,服务器压力堪忧。
建立连接需要三次握手,断开连接需要四次握手,可以形象的比喻为下面的对话:
[Shake 1] 套接字A:“任务处理完毕,我希望断开连接。”
[Shake 2] 套接字B:“哦,是吗?请稍等,我准备一下。”
等待片刻后……
[Shake 3] 套接字B:“我准备好了,可以断开连接了。”
[Shake 4] 套接字A:“好的,谢谢合作。”
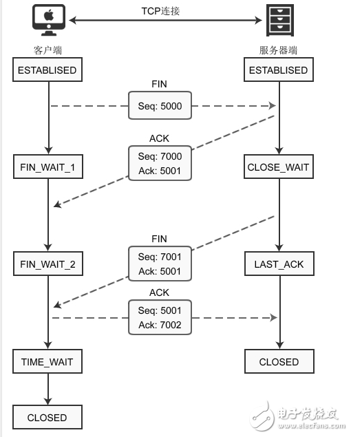
下图演示了客户端主动断开连接的场景:

建立连接后,客户端和服务器都处于ESTABLISED状态。这时,客户端发起断开连接的请求:
1) 客户端调用 close() 函数后,向服务器发送 FIN 数据包,进入FIN_WAIT_1状态。FIN 是 Finish 的缩写,表示完成任务需要断开连接。
2) 服务器收到数据包后,检测到设置了 FIN 标志位,知道要断开连接,于是向客户端发送“确认包”,进入CLOSE_WAIT状态。
注意:服务器收到请求后并不是立即断开连接,而是先向客户端发送“确认包”,告诉它我知道了,我需要准备一下才能断开连接。
3) 客户端收到“确认包”后进入FIN_WAIT_2状态,等待服务器准备完毕后再次发送数据包。
4) 等待片刻后,服务器准备完毕,可以断开连接,于是再主动向客户端发送 FIN 包,告诉它我准备好了,断开连接吧。然后进入LAST_ACK状态。
5) 客户端收到服务器的 FIN 包后,再向服务器发送 ACK 包,告诉它你断开连接吧。然后进入TIME_WAIT状态。
6) 服务器收到客户端的 ACK 包后,就断开连接,关闭套接字,进入CLOSED状态。
所谓三次握手(Three-Way Handshake)即建立TCP连接,就是指建立一个TCP连接时,需要客户端和服务端总共发送3个包以确认连接的建立。

(1)第一次握手:Client将标志位SYN置为1,随机产生一个值seq=J,并将该数据包发送给Server,Client进入SYN_SENT状态,等待Server确认。
(2)第二次握手:Server收到数据包后由标志位SYN=1知道Client请求建立连接,Server将标志位SYN和ACK都置为1,ack=J+1,随机产生一个值seq=K,并将该数据包发送给Client以确认连接请求,Server进入SYN_RCVD状态。
(3)第三次握手:Client收到确认后,检查ack是否为J+1,ACK是否为1,如果正确则将标志位ACK置为1,ack=K+1,并将该数据包发送给Server,Server检查ack是否为K+1,ACK是否为1,如果正确则连接建立成功,Client和Server进入ESTABLISHED状态,完成三次握手,随后Client与Server之间可以开始传输数据了。
注意:三次握手的序列号和确认号,如果用(序列号,确认号)表示一次握手,则三次握手的过程序列号和确认号如下:
1) 第1步:客户端向服务器发送一个同步数据包请求建立连接,该数据包中,初始序列号(ISN)是客户端随机产生的一个值,确认号是0;
2) 第2步:服务器收到这个同步请求数据包后,会对客户端进行一个同步确认。这个数据包中,序列号(ISN)是服务器随机产生的一个值,确认号是客户端的初始序列号+1;
3) 第3步:客户端收到这个同步确认数据包后,再对服务器进行一个确认。该数据包中,序列号是上一个同步请求数据包中的确认号值,确认号是服务器的初始序列号+1。
1、(X,0)
2、(Y,X+1)
3、(X+1,Y+1)
上一篇:简单易上手的无线对讲机的方案解析
下一篇:5G无线通信的五个特点详解