时间:2009-11-13 08:58
人气:
作者:admin
诠鼎集团力推CSR蓝牙芯片(BC5MM)于车用免持及PND导航装置之解决方案
RoadTunes方案:
CSR专为可携式导航装置(PND)和售后市场车用装置而设计,简化蓝牙与音讯处理能力整合,提供包括针对中高阶产品设计的flash-based方案,以及为入门级产品提供的成本最佳化RoadTunes ROM方案。
ROM方案提供最佳化电子物料清单成本(eBOM)和整合时间等各项优势,让制造商能够快速且具成本效益的方式为他们的入门级产品开发蓝牙连接性。 采用QFN封装,搭载完备的功能集,包括一个立体声编解码器、回音暨噪音消除以及蓝牙,并提供极具竞争力的价格。其Bluetooth profile规格支援包括(但不仅限于)免手持、音讯串流和通讯录连接性。RoadTunes ROM提供一个搭载强大RISC和数位讯号处理器的低功耗设计。
平均而言,将RoadTunes整合到装置内所需的时间不到六个星期,并且不需要预先具备相关的蓝牙经验。由于已通过市场上现有或即将问世的大量电话产品测试,RoadTunes ROM可提供杰出的互通性。CSR为所有客户提供业经该设计测试通过的完整电话产品清单。
特性与优势 :
- BlueCore 5-Multimedia (BC5MM) 嵌入式架构,简易的控制接口
- 几乎不需要耗费主处理器的MIPS
- 单芯片,内建RISC CPU以及64MIPS数位讯号处理器
- 16位元立体音CODEC: 在DAC端有95dB的讯杂比(SNR)
- 能支援五种蓝牙Profiles
1. PBAP
2. HFP
3. A2DP/AVRCP
4. SPP
5. DUN
- 能配对至10个蓝芽装置
- 开机或断线自动连结
- 支援回音暨噪音消除的CSR第四代 cVc (清晰的声音捕捉) 算法
- 配合协力厂软件,能支援文字或来电号码转语音的功能 (TTS)
- 提供完整的相容性测试报告
- 提供完整的产线量产程式
- 竞争力价格
应用 :
- 车用音响
- 汽车电脑
- 车用导航装置
RoadTunes架构概念 :

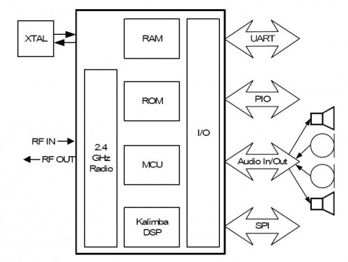
RoadTunes芯片的方块图 :
