Abstract: Appl
ication No
te 327 provides a
logical diag
ram of a Channel Service Unit using the Dallas Semiconduct
or/
Maxim DS2151 or DS2153 single chip transceivers (SCTs).
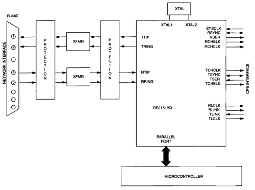
Figure 1 describes a method for building a CSU using the DS2151 or DS2153. For informa
tion on line protection see the application note "Secondary Over Voltage Protection". Also, see the application notes "Crystal Selection Guide" and "Transformer Selection Guide"

Figure 1. CSU Circuit.
Note:
Cont
act the factory for pre-written (T1) code for CSU functions and FDL control.