Abstract: Design idea outlining how to use an
I2C-control
led analog switch to triple the number of devices connec
ted to an I2C bus.
Perhaps the most effec
tive way to g
ain board sp
ace and increase component density is to minimize wiring on the board. A widely used architecture that allows such miniaturization is the I²C bus. Comprising only a bidirectional data line,
SDA, and a clock line, SCL, this bus requires no chip selects
or other
additional connections.
M
icrocontrolle
rs from Philips,
Microchip, and other manufacturers include dedicated I²C interfaces, but you
can also implement the interface in software. To complete this task, you associate a 7-bit address with each master or slave transceiver and factory- or
pin-prog
ram the device with two to four address options.
An increasing number of slaves now include the I²C interface, but some of their 128 address locations are reserved for special functions, so not all locations are available to a designer. Yet, two or more devices could have the same address in some applications.
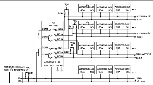
In Figure 1, analog switch IC1, which is I²C-controlled, connects auxiliary branches that contain devices with the same address to the main I²C bus. IC2 and IC3, for example, have the same address but are located on different auxiliary buses.

Figure 1. This I²C-controlled analog switch expands by three the number of devices connected to the bus.
The arrangement in Figure 1 prevents the master from addressing multiple slaves at the same time. If that situation occurs, the data becomes corrupted during a master-read protocol, and all slaves may not receive data during a master-write protocol. The analog switch accepts bidirectional signals as required for the SDA line. The switch has low on-state resistance, adds almost no leakage on the lines, and provides four selectable slave addresses. You
simultaneously control the switches by using the simple SendByte protocol (address plus 8-bit command).
You can switch the three auxiliary buses on the fly. Power-up sets the switches to soft mode, an off state with 12-msec switching time. Then, a command byte of 0b11000000 sets the switches to hard mode (400-nsec switching time).
Subsequent commands select the desired auxiliary bus. Command 0b1000011, for example, selects auxiliary bus 1.
The main I²C bus includes necessary pullup resistors, and the auxiliary buses include weaker pullups that ensure a high state when you deselect the bus. The circuit in Figure 1 allows you to add three times more devices on the bus. For a wider selection, you can replace the MAX4562 with a MAX4572, whose 14 switches allow you to add as many as seven auxiliary buses.
A similar version of this article appeared in the November 22, 2001 issue of EDN magazine.