要:电信供应商正在以更高的速率为越来越多的客户提供服务,他们需要规模更大的
网络设施,系统间互联的电缆长度也随之延长。考虑到价格优势,系统互联一般采用铜缆,但随着距离和数据速率的提高,带来了一些问题。这些问题转入光纤系统后,造成系统成本的提高。一种替代方案是安装中继器,性价比较高,不需要替换现有设备。本应用笔记介绍了一种简单的低成本中继器。
引言
电信供应商正在以更高的速率为越来越多的客户提供服务。大规模网络设施需要在系统间采用更长的电缆连接。由于大部分系统使用铜缆进行互联,当系统间距离较长时会带来一些问题,较长的铜缆会制约最大数据传输速率。
这些问题可以在光纤系统解决,也可以在现有电缆上安装中继器解决。在光纤系统解决这些问题有一定优势,但成本很高。在现有链路中加入中继器是一种简单有效的高性价比方案,不需要替换现有设备。
设计
针对电信系统设计
产品时,需要遵循一定的设计原则。保持高速互联数据
信号的完整性非常重要,以避免出现误码。电信设备的空间有限,因此,非常重要的一点是器件不要占用额外的空间。使用方便且容易配置的器件会减少用户操作失误带来的问题。设计中继器电路时考虑了上述所有原则。
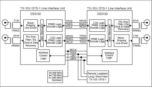
中继器的主要元件是
Maxim的DS3150 T3/E3/STS-1线路
接口单元(LIU)。该器件用于实现物理层至DS3、E3和STS-1线路接口的所有功能。
接收器完成
时钟和数据恢复、信号解码以及信号丢失
检测等功能。发送器完成信号编码,将标准兼容信号驱动到75Ω同轴电缆。此外,还采用了内置抖动衰减器,可以映射到接收或发送通路。其他元件包括
振荡器、无源器件以及外部或板上3.3V
供电电源等。
下面的图、表列出了构建中继器电路卡需要的所有
元器件,但不包括电源。电路简洁明了,两个DS3150器件在RPOS/RNEG/RCLK和TPOS/TNEG/TCLK之间背靠背连接。这样,很容易配置,降低了安装出错的概率。提供以下选择:
- 远端环回使能/禁止
- 工作模式选择T3/E3/STS-1
- 发送模式选择长程/短程
通过卡上的开关设置这些选项。针对振荡器配置选项,可以采用一个振荡器实现单模式工作,或多个振荡器实现双模式和三模式工作。其他元件是有用于线路接口的磁性元件,以及发送和接收电缆使用的物理
连接器。

图1. T3/E3/STS-1中继器结构图
表1. T3/E3/STS-1中继器元件列表
| Device |
Part Count |
Description |
Vendor |
| DS3150 |
2 |
3.3 Volt DS3/E3/STS-1 Line Interface Unit |
Maxim |
| PE-65968 |
4 |
6 Pin SMT 1:2CT Transformer |
Pulse Engineering |
| NTH089AA3-34.2680 |
1 |
34.368MHz Oscillator 3.3 Volt |
Saronix |
| NTH089AA3-44.7360 |
44.736MHz Oscillator 3.3 Volt |
Saronix |
| NTH089AA3-51.8400 |
51.840MHz Oscillator 3.3 Volt |
Saronix |
| BNC Plug |
4 |
|
Various |
| DIP Switch |
1 |
|
Various |
| Power Connector |
1 |
|
Various |
| Resistor |
|
|
Various |
| Capacitor |
|
|
Various |
| LED |
3 |
Power & LOS Indication |
Various |