摘要:本应用笔记介绍了我们的T3/E3线路
接口单元(LIU)在纯信道、transMUX和map/demap应用中与Agere Ultramapper™的连接方法。
概述
本应用笔记介绍了Dallas DS3150或DS315x系列T3/E3 LIU与Agere Ultramapper™器件的连接方法。DS3150或DS315x系列T3/E3 LIU能够实现与T3和E3线路物理层接口的所有功能,DS3150仅含
硬件,是单
端口T3/E3 LIU,而DS3151、DS3152、DS3153和DS3154除提供硬件外,还分别在1、2、3或4端口提供
CPU总线模式。从本应用笔记给出的范例可以看出,DS3150的连接方式与DS315x系列器件的连接方式是相同的。
Agere Ult
ramapper器件包括:Ultramapper、UltramapperLite、Ultramapper完全传输和Ultraframer,本应用笔记讨论的内容只适合Agere的UltramapperLite和Ultraframer。
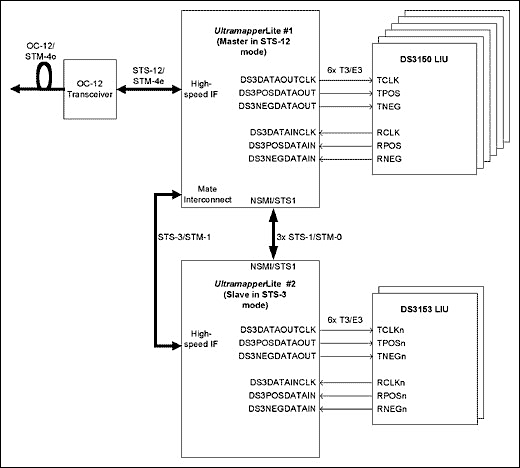
下图说明了来自DS315x系列的Dallas T3/E3 LIU或多片DS3150的使用,设计人员需要确定选择哪种Dallas的LIU,具体由所设计的线卡/系统决定。
应用
T3/E3纯信道应用
本应用笔记中,对两个UltramapperLite进行配置,端接/传输12路T3/E3
信号,自/至T3/E3映射为STS-12/STM-4信号。

图1. T3/E3 纯信道应用
T3/E3 TransMUX应用
本应用笔记中,对四个UltramapperLite进行配置,实现两个不同场合:一路VT1.5/VC11映射为STS-12与12路T1信道化成T3信号之间,一路VT2/VC12映射为STS-12与12路E1信道化成E3信号之间的transMUX功能。

图2. T3/E3 TransMUX应用
T3/E3和T1/E1的Map/Demap应用
本应用笔记中,对Ultraframer进行配置,实现三路信道化T3/E3信号与84/48 T1/E1信号之间的map/demap。

图3. T3/E3和T1/E1的 Map/Demap应用
T3/E3和DS0/E0的Map/Demap应用
本应用笔记中,对Ultraframer进行配置,实现三路信道化T3/E3信号与多达2016/1536个DS0/E0信号时隙之间的map/demap。

图4. T3/E3和DS0/E0 Map/Demap应用
Dallas T3/E3线路接口单元配置
Agere Ultramapper在M13/E13 MUX/DeMUX应用中,应在DS3DATAOUTCLK引脚提供一个4.736MHZ的T3或34.368MHz的E3
时钟,实现M13/E13功能。在接收通道使用DS3/E3数字抖动衰减器的SONET/
SDH至T3/E3应用中: SONET/SDH ⇔ TMUX/STS-1LT ⇔ SPE ⇔ (DS3/E3数字抖动衰减器) ⇔ T3/E3,不需要DS3DATAOUT输入即可实现M13/E13功能。但需要提供44.736MHz的DS3XCLK 时钟和34.368 MHz的E3XCLK时钟,以实现T3/E3数字抖动衰减功能。Agere Ultramapper T3/E3线路接口可以直接与DallasT3/E3 LIU连接。关于T3/E3的连接,主机Ultramapper与从机Ultramapper之间没有什么不同。
T3/E3
模拟线路与线路接口单元之间的连接可以采用双极性模式或单极性模式,表1列出了Agere Ultramapper针对D3/E3双极性/单极性控制的
寄存器设置。
表 1. Agere Ultramapper DS3/E3双极性/单极性控制位
| Block Name |
Register Name |
Address |
Description |
| SPEMPR |
SPEMPR_TDS3_BIPOLAR |
0x19 [1] |
Transmit DS3/E3 Bipolar/Unipolar. Note this is valid only if register 0x0018 [13:12] = 11. |
| SPEMPR |
SPEMPR_RDS3_BIPOLAR |
0x19 [0] |
Receive DS3/E3 Bipolar/Unipolar. Note this is valid only if register 0x0018 [5:4] = 11. |
| DS3DJA |
DS3DJA_DS3_BIPOLAR |
0x15 [5:0] |
Per Channel Control Bit 1: HBD3 or B3ZS. 0: Unipolar. |
| DS3DJA |
DS3DJA_DS3_B3ZS |
0x14 [5:0] |
Per Channel Control Bit 1: B3ZS coding. 0: HDB3 coding. |
| M13 |
M13_BIPOLAR |
0x5D [0] |
1: B3ZS encoding/decoding, i.e., DS3 I/O is in dual-rail mode where each rail carries a polarity of a bipolar I/O. 0: DS3 I/O is a single-rail, unencoded NRZ signal. |
| E13 |
E13_TE3_BIPOLAR |
0x23 [2] |
1: E3 output is HDB3 encoded and dual-rail. 0: E3 output is single-rail unencoded. |
| E13 |
E13_RE3_IN_CTL |
0x26 [5:4] |
00: HDB3 decode disabled (input data on positive rail only). 01: HDB3 decoder enabled, input on P/N rails. 10: HDB3 decoder disabled (input data on positive rail only). 11: HDB3 decoder disabled, negative input rail carries HDB3 error count from external LIU. |