时间:2006-03-11 13:24
人气:
作者:admin
当实现PC机与DSP的串行通讯时,通常可直接利用DSP的串行通讯接口(SCI)模块和SCI多处理器通讯协议(即空闲线路模式和地址位模式)来在同一串行线路中实现多个处理器之间的通讯,也可以采用SCI异步通讯模式实现串行通讯。这两种方式虽然都能方便地实现串行通讯,但它们都需占用系统较多的硬件和软件资源,
因而不适用于对实时性要求比较高且系统资源紧张的应用场合。笔者在研制电力有源滤波实验系统中,由于采用了异步通讯芯片16C552,从而成功解决了这个问题。本文将从电路结构和软件编程两个方面介绍该方案的实现方法。
1 16C552简介
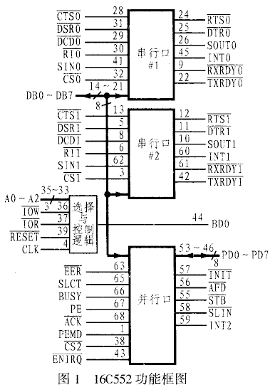
1.1 功能特点及结构框图
16C552是TI(TL16C552)和VLSI(VL16C552)等公司生产的异步通信芯片,具有两个增强的通用异步通讯单元通道和一个增强的双向打印机端口;支持TL16C450和FIFO两种模式,其16字节的FIFO可减少CPU中断;每个通道都具有独立的发送、接收、线路状态和设置中断功能,同时具有独立的MO-DEM控制信号、可编程的串行数据发送格式(包括数据位长度、校验方式、停止位长度)和可编程波特率发生器;另外,每个通道的数据和控制总线还具有三态TTL驱动功能。
TL16C552AM是TI公司的68脚PLCC(Plastic Leaded Chip Carrier)封装芯片,其管脚及功能框图如图1所示。从图中可以看出,它的串行口主要完成两个功能,一是把外设或调制解调器接收来的串行数据转换成并行数据;二是把CPU的并行数据转换成串行数据以便发送。在正常操作过程中,CPU可以随时读取16C552的状态信息,以报告16C552传输操作的类型和状态,包括各种错误状态,如奇偶校验、溢出、帧错误和FIFO错误等。此外,16C552还具有完整的MODEM控制功能,并有CTS、RTS、DSR、DTR、RI、DCD等信号端。
16C552具有一套完善的中断系统,可以自动设定优先级。它的串行口和并行口都可以独立地工作于中断和查询两种工作方式。
1.2 16C552的内部寄存器
16C552内部有12个单字节寄存器,这些寄存器占用了8个I/O口地址,其地址由A0~A2决定。其中有些寄存器共用一个I/O口地址,共用的I/O口可以通过读/写信号和线路控制寄存器(LCR)的D7位(DLAB)来进行区分,具体描述见表1所列,需要说明的是:只有当16C552的CS0或CS1为低电平时,串行通道才能被访问。
表1 I6C552的内部寄存器
| DLAB | A2 | A1 | A0 | 符 号 | 寄 存 器 |
| L | L | L | L | RBR | 接收缓冲寄存器 |
| L | L | L | H | THR | 发送保持寄存器 |
| L | L | L | L | IER | 中断允许寄存器 |
| X | L | H | H | IIR | 中断识别寄存器 |
| X | L | H | L | FCR | FIFO控制寄存器 |
| X | L | H | H | LCR | 线路控制寄存器 |
| X | H | L | L | MCR | MODE控制寄存器 |
| X | H | L | H | LSR | 线路状态寄存器 |
| X | H | H | L | MSR | MODEM状态寄存器 |
| X | H | H | H | SCR | 高速缓存器寄存器 |
| H | L | L | L | DLL | 除数锁存器低位 |
| H | L | L | H | DLM | 除数锁存器高位 |
关于各寄存器内容的具体规定,限于篇幅,这里不作详述,有兴趣者可参看TI公司的相关产品资料介绍,但在串行通讯应用中,要重点搞清楚FCR、LCR、IER等几个寄存器的内容。此外,在实际应用中,有时可能会忽视MODEM控制寄存器中的D4位,该位为自测试循环回送状态控制位,利用它可以对串口的自测试进行控制,因此,在自测试进行完毕后,还应对该位进行复位,以保证系统的正常运行。
2 通讯系统硬件接口电路
本系统的硬件接口电路如图2所示。其中,地址译码电路可以根据实际需要采用不同的电路实现。为了使系统使用灵活方便,本方案中采用一片CPLD来进行系统的地址分配。复位电路可以利用专用复位芯片,也可用上拉电阻方式实现。外接晶振可以自行选择,然后根据晶振频率设置除数锁存器的高位和低位,从而获得通讯系统正确的波特率,本系统中使用的晶振是8MHz。此外,由于16C552A有两个串行通道和一个标准并行口,它们相互之间的配合使用在硬件和软件上都要加以注意。建议将不用端口的片选接到高电平(16C552A的片选为低电平有效),以免出现错误。

3 串行通讯软件设计
3.1 通讯协议
本设计的通讯协议包括以下几点:
(1)波特率为9600。
(2)通讯命令由2个字节构成:第一个字节是同步字节0XFF;第二个字节是命令码,主要用来指示各种控制命令。
(3)每个字节包括8位数据位和1位停止位,无校验。
(4)在通讯过程中,上位机向TMS320F243发送同步命令,TMS320F243接收到后立即应答,若应答错误则重发。
(5)通讯程序向TMS320F243发送控制命令时,TMS320F243返回接收正确应答信号;通讯程序向TMS320F243查询系统参数命令时,TMS320F243按照规定格式返回所需数据。
PC机和TMS320F243均采用异步通讯方式,PC机采用事件驱动方式来接收数据,TMS320F243采用中断方式接收数据,而用查询方式发送数据。

3.2 上下位机通讯软件设计
在PC机上编写串行通讯程序至少有三种方法,分别为汇编语言、C语言和Visual系列通讯控件(MSComm)。相比较而言,Visual系列通讯控件能够用少量的代码轻松高效地完成编程任务。实际应用中,可用以Visual Basic(简称VB)6.0中的通讯控件MSComm为基础编写PC机的串行通讯程序,而用汇编语言编写下位机(F243)软件。上、下位机的串口程序流程分别如图3和图4所示。 16C552的初始化程序如下:
;THE 16C552 INITIALIZATION PROGRAM
C552_INIT:
LDP #00h
SPLK #83h,GSR0
OUT GSR0,0E003h ;设置LCR
SPLK #34h,GSR0
OUT GSR0,0E000h ;设置DLL
SPLK #00h,GSR0
OUT GSR0,0E001h ?; 设置DLM
SPLK #03h,GSR0
OUT GSR0,0E003h ?; 设置LCR
SPLK #08h,GSR0
OUT GSR0,0E004h ?; 设置MCR
SPLK #01h,GSR0
OUT GSR0,0E002h ?; 设置FCR
SPLK #01h,GSR0
OUT GSR0,0E001h ? ;设置IER
RET
图4
4 结束语
本文对使用异步通信芯片16C552实现PC机与DSP之间的串行通讯方法进行了研究,笔者已开发了其串行通讯软件,并在实验中调试通过。该软件不仅使用灵活方便,而且可以利用16C552的FIFO模式实现大数据量的收发,从而减少了对DSP的中断,缓解了系统资源紧张的情况。