时间:2014-07-15 17:38
人气:
作者:admin
无论由摩尔定律或消费需求驱动,在当今电视中所需要的性能水平可能似乎是势不可当的。与标准清晰度电视格式(SDTV)相比,具有1080像素的高清晰(HD)格式的数字电视所驱动的数据量要大6倍,它要管理数字电视、IPTV、视频会议广播及处理杜比AC-3、MPEG和其它音频格式,这些功能都成为了数字电视(DTV)必须具备的功能。
从对音频、视频和输入信号格式的最高要求来说,存在若干可供选择观看的选项:正投、背投、DLP、LCD、等离子和CRT。无论是在嵌入到手表中的1英寸的显示器上观看电视,或是采用投影系统的显示屏在整块墙壁上观看电视,对尺寸和性能的组合要求几乎是无穷无尽的。
数字电视基础
即使目前在货架上的每一台电视可能从大小、外观、形状因子和销售人员给你的基本描述来看都非常不同,但是,当你考察其内部的时候,电视的基本构造模块都是非常相似的。
一般来说,数字电视可以被分解为不到10个主要的模块:显示器(和驱动器)、核心媒体引擎、音频编解码和处理、视频编解码和处理、调谐器、接口模块和电源。对每一个模块的绝对性能要求由你最喜欢的座位的舒适体验的性能水平来定义。
下图为典型的数字电视系统方块图。

图1:典型的数字电视系统方块图
在图1中,我们给出了HDTV的基本方框图,我们在功能方块图层面已经加以考虑。开发屏幕后面的电视机系统需要采用许多工具,它们都可以从各类企业获得。然而,在把来自不同元器件供应商的解决方案整合在一起的过程中,既要加快设计周期以缩短产品上市时间,又要确保兼容性,那么,这种要求就会成问题。无论是采用DLP技术、基于DSP的数字媒体处理器、其它的核心处理解决方案或一些其它的高性能模拟元器件,都需要为快速演进的数字电视市场设计出高度集成、灵活且便于使用的数字电视机。对于融合的应用来说,把高性能音视频CODEC、图形加速、通信和支持功能设计到家庭娱乐体验系统之中是至关重要的。
视频设计
消费者常常在观看电视的时候,对视频体验提出非常高的要求。正因为如此,分辨率、亮度、对比度和清晰度对看起来的“逼真”体验有着重要意义。对于电视机来说,支持多种ATSC TDV格式、NTSC和PAL解码、复合及S-Video输入和二维滤波都是至关重要的。随着高清晰电视的发展,以配备三维滤波的1080i分辨率支持全高清将是标准的配置。在接收如图1所示的视频信号链的过程中,重要的是选择具有混合各种性能的能力的视频解码器、模/数转换器(ADC)和视频缓冲器,以便于你能够根据系统的成本目标调节性能。

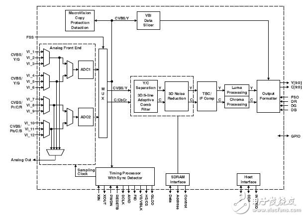
图2 视频解码器的数据流路径
图2所示为视频解码器的数据流路径,它负责处理NTSC、PAL、SECAM、S-Video、SCART、YPbPr、RGB、480p和其它输入格式。在数字电视中,对这种级别的灵活性的支持是必需的,完全是为了让一个机型经过实际设置可以工作于任何格式。数字电视解码器的典型性能特征包括:同步、消隐、场、有源视频窗口、水平和垂直同步、时钟、同步锁相(用于下行视频编码同步)、主CPU中断和可编程逻辑I/O信号。这是对数字视频输出以及用于先进的垂直消隐期(VBI)数据恢复的补充。作为一种附加功能,一些视频解码器支持VBI数据处理器(VDP)在文字电视广播、传送字幕(CC)和其它VBI数据上进行数据分片、解析和执行误码校验。内置的FIFO存储多达11行文字电视广播数据,而适当的主接口同步及全屏幕文字电视广播恢复是当今系统中的几个常见要求。然而,一些实现方案需要一种解码器,它能够为基于主CPU的VBI处理提供速度为已采样原始亮度数据两倍的输出格式化数据。
对于信号链中的ADC来说,个人电脑和HD视频输出要求其具有改进的抖动减低性能、在视频系统中的较高图像品质并能够支持日益增长的带宽需求。在数字电视实现方案中,一个8/10位三ADC通常提供165Msps的采样率,从而提供丰富的视频性能,并且也是商用投影仪、电视和机顶盒的理想选择。
最后,要把视频信号链的输出分辨率与显示器的性能及输入信号的分辨率匹配,从而优化视频的设计。在低分辨率的CRT电视时代,采用较低性能的前端可能一直都是可以接受的,但是,利用当今的高分辨率显示器,在模拟前端中的任何噪声或不规则信号都将清晰地显示在数字电视的屏幕上。
上一篇:浅析移动显示技术未来发展
下一篇:微型投影机技术类型分析与对比