全球最实用的IT互联网信息网站!
AI人工智能P2P分享&下载搜索网页发布信息网站地图
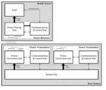
无线充电在医疗设备上的应用
阅读全文2013-05-22
医疗、消费用传感器遭骇风险升高?
阅读全文2013-05-21
法Carmat人工心脏将首次植入于人体进行试验
阅读全文2013-05-20
使用动态软件分析为医疗设备通过审批提供支持
阅读全文2013-05-18
“游戏机”改变医疗:体感技术跨入医疗行业
IBM新型医疗诊断分析技术可降低癌症治疗成本
阅读全文2013-05-16
富士通医用自助产品应用方案获业界肯定
阅读全文2013-05-15
利用赛灵思FPGA轻松应对内窥镜系统架构挑战
阅读全文2013-05-13
设计更安全、更小的下一代高性能医疗产品
安森美半导体配合中国便携医疗设备趋势的医疗
智锐通携“硬核”AI医疗硬件登场CMEF,解
思特威亮相2025中国国际工业博览会
无线医疗设备测试知识分享
锁定全球头部医械订单!9月上海精准对接
CPU | 内存 | 硬盘 | 显卡 | 显示器 | 主板 | 电源 | 键鼠 | 网站地图
Copyright © 2025-2035 诺佳网 版权所有 备案号:赣ICP备2025066733号 本站资料均来源互联网收集整理,作品版权归作者所有,如果侵犯了您的版权,请跟我们联系。