时间:2017-04-27 01:11
人气:
作者:admin
发动机爆震传感器的用途是通过监控发动机振动来提高发动机效率和性能。 发动机控制单元 (ECU) 使用该数据调整燃油空气比,以减少“发动机发出碰撞声”并更正发动机正时。 TI 的 TPIC8101 可用作此类发动机爆震传感器的信号调节器。 新型解决方案有时会将该功能集成到发动机 ECU 的一个 MCU 中,不过,这意味着可能更多地以远程方式完成该处理过程(由于微控制器较低的温度等级),这可能会导致信号劣化。 可通过查看来自爆震传感器的信号的提取情况(与系统的噪声相比)来验证 TPIC8101 的性能。
简要的工作原理:
TPIC8101 执行爆震传感元件的信号调节,这些元件是谐振压电式传感器元件。 在通过输入放大器之后,噪声会从信号中过滤掉(将一个带通滤波器集中在传感元件的中心频率上)。 随后对信号进行整流和集成。 然后可以使用数字方式或通过模拟信号传输该输出。 ECU 监控该信号的强度以确定爆震发生的时间。

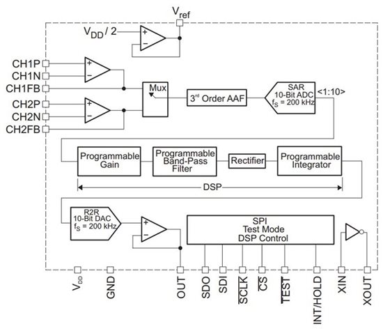
图 1: TPIC8101 内部方框图
爆震传感器信号调节器的目的之一是抑制所有带外噪声,因为发动机已经是固有的噪声环境。 因此,系统提供的信噪比 (SNR) 非常重要。 具体而言,带通滤波器决定从系统抑制噪声的情况。 要测量带通滤波器的性能,必须执行以下步骤。
选择带通滤波器中心频率、集成时间常数、放大器增益和集成时间窗口等参数(如 TPIC8101 数据表的第 9.2.2 节中所述)。 必须根据系统级要求设置这些参数,也可以使用表 1 中示例测试设置中的值。
使用函数发生器以指定的频率和振幅生成正弦波,以模仿爆震传感元件的输出。
记录信号的峰值电压。
调整输入信号的频率并重新测量信号。
然后将生成输出电压图(相对于输入频率),通过该图可以查看带通滤波器的相对 SNR 值。
测试数据:
该测试数据将 TPIC8101 与竞争对手的器件进行比较,以显示带通滤波器中的差异如何影响器件性能和 SNR。 TI 器件和竞争对手的器件是按照与表 1 相同的方式进行配置的。
表 1: 测试设置
字节
数据
配置
值
配置为
第 1 个
0100 0110
预分频器
11
8MHz
第 2 个
1110 0001
MUX
1
Ch2
第 3 个
0010 1001
BPF
41
6.94Khz
第 4 个
1100 0000
集成时间常数
0
40uS
第 5 个
1010 0010
放大器增益
34
0.381
表 2 显示了各种频率输入信号的输出信号振幅的测试数据。 已对每个器件的带通滤波器进行编程,使其具有 6.94kHz 的中心频率,因此应抑制远离该中心频率的输入信号。
表 2: 测试数据
1KHz 时的
振幅 (V)
3KHz 时的
振幅 (V)
6KHz 时的
振幅 (V)
7KHz 时的
振幅 (V)
8KHz 时的
振幅 (V)
10KHz 时的
振幅 (V)
50KHz 时的
振幅 (V)
TPIC8101
最大
0.53
1.12
3.36
3.84
2.72
2.04
0.6
中间
0.4
0.76
1.84
2.32
1.84
1.4
0.47
最小
0.34
0.68
1.44
1.84
1.36
1
0.4
竞争对手产品
最大
0.5
0.5
2.52
2.88
2.08
0.72
0.5
中间
0.3
0.25
1.16
1.6
1.22
0.06
0.2
最小
0.04
0.04
0.56
1
0.48
0
0
SNR 的公式为: