时间:2016-12-07 10:50
人气:
作者:admin
八月,日产宣布首款拥有可变压缩比技术(VCR - Variable Compression Ratio)的2.0升量产增压汽油机将被搭载于下一代英菲尼迪QX50。该车将已于九月的巴黎国际车展正式亮相。这是自从各大公司于上世纪末开始研究此类技术以来的第一款量产发动机,此举对内燃机发展方向有十分重要的意义。
英菲尼迪Q50该款2.0升汽油发动机最大功率200kW(升功率数据与现在主流的90-100kW/L左右相近),最大扭矩390Nm,与目前英菲尼迪正在使用的3.5升V6发动机数据相当,所以今后将会取代3.5升自然吸气发动机。
根据日产的数据,相比该3.5升发动机,新的2.0升产品可降低油耗27%(这也同时从一个侧面证明了适度小排量化带来的改善)。为此立了大功的就是可以在8:1和14:1之间随意变化的VCR技术。另外,这款发动机还将配备双喷技术(气道喷油+缸内直喷)控制颗粒物排放。
压缩比是自然吸气发动机和增压发动机的最核心区别之一。为了克服爆震问题,增压发动机需要降低压缩比,而这一举动将会降低发动机的效率。有了VCR可变压缩比(Variable Compression Ratio),就可以在低载荷时使用高压缩比提高效率,在高载荷时降低压缩比克服爆震。其实就像电喷,柴油共轨,可变气门正时等技术一样,给内燃机加入更多的智能控制系统来适应不同的场合,就像正式场合要喝葡萄酒香槟,看欧洲杯喝啤酒,撸串要喝二锅头。
下面这张图对比了在同一进气量和喷油量时不同压缩比带来的影响。高压缩比(CR)由于受到爆震限制无法达到最大效率(最高发动机输出载荷BMEP)。而过低的压缩比虽然可以达到局部优化BMEP,但是低压缩比导致BMEP的最大潜力受到局限。所以最佳压缩比永远是各参数取舍的结果。

压缩比与效率取舍(来自SAE论文 2003-01-0398)小编认为,这一技术在汽油机上应用的潜力更大,因为柴油机压缩比一般大致在15左右(当然,柴油机在满载也会受到最大缸压的限制,VCR仍能带来帮助),而汽油机普遍压缩比在10左右,改善空间更大。
这一技术的应用,将会帮助解决增压和自吸之间的矛盾。马自达SkyActive的压缩比在14-15左右,市面上常见的增压发动机也在10左右,这也正是日产确定8-14这一压缩比范围的目的。今后马自达也可以安心使用增压发动机了(实际马自达本来也在开发增压发动机,不过暂时没有使用VCR)。而增压发动机也不用再为了损失的压缩比操心了。(妈妈们再也不用担心工程师孩子在自吸派和增压派之间难以取舍了)
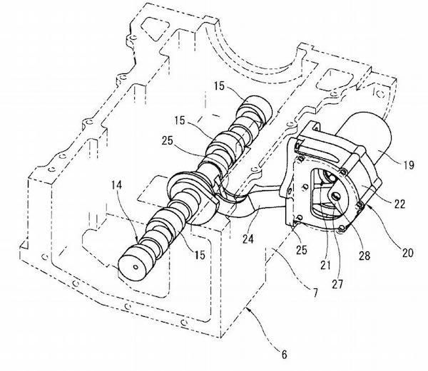
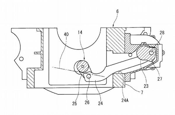
其实,日产在VCR领域从很久以前就开始布局了。日产曾早在2009年和2014年注册相关专利。下面两个图分别是日产注册的专利,和这次量产VCR技术。这两者非常相似,靠固定在发动机侧面的电机执行器控制一套Multi-link连杆机构来改变发动机压缩比。


日产2014年VCR专利

日产量产VCR技术说明(通过改变下部连接轴角度调整压缩比,左侧为高压缩比,右侧为低压缩比)实际上,除了日产之外,奔驰,福特,标致,萨博等汽车公司都在VCR上有所尝试。咨询公司FEV也有相关的技术产品。同时,VCR技术有多种实现的形式,除了这次的Multi-link连杆机构的方案之外,还有可变缸盖结构,可变活塞顶结构,可变Conrod连杆结构,偏心轮等等多种方式改变压缩比。
不过Multi-link方案的机构离高温度高应力的燃烧室区域较远,而且多数零件不处在高转速区域,耐久方面相对会更可靠,同时也会保证额外的摩擦损失不增加太多。不过,缺点也比较明显,就是其对内燃机整体设计的改变较大,无法像FEV可变Conrod产品那样直接应用于已有发动机上。

FEV可变压缩比连杆技术总之,使用VCR技术的成本比较大,但是优势也很明显,5%以上的油耗改善是完全可以期待的。这次日产将其量产化也象征着技术商业化进程的一大步。
其实VCR和米勒及阿特金森循环有着异曲同工之处,都是通过各种方式来改变发动机的压缩比或者膨胀比,从而优化热效率。米勒和阿特金森循环的优势就是实施相对简单,通过改变进气时间来实现不会对发动机基础结构带来过大变动(最原始的阿特金森实际也是类似VCR的技术)。但是米勒和阿特金森最大的劣势就是损失的缸内滚流(直接影响燃烧效率),这一影响在一些情况下甚至可以导致近一半的理论油耗改善潜能被白白丧失。
相比之下,VCR的劣势就是成本和实施难度。也正是因此,小编大胆猜测,VCR技术可能不会以极快的速度大规模普及。但是,这一技术的量产应用给今后汽油机发展带来了一个非常直接的可选方案。同时,这也给FEV的技术做了铺垫。更重要的是,VCR和米勒可以同时应用,来获得更大的设计自由度(虽然累计改善潜力会略微降低)。