时间:2016-10-09 19:25
人气:
作者:admin
现如今,纯电动汽车已经成为未来发展趋势这毋庸置疑,而本田作为“黑科技”的忠实者,自然不会放过在新能源领域的发展,此次本田申请了一个“奇怪”的无线充电专利,而之所以说它奇怪,是因为它在设计上很像有轨电车,让人脑洞大开。那究竟是怎样的专利呢?
说起无线充电,大部分人都认为这是一件非常困难的事情,但其实从原理上来讲,无线充电并不复杂。无线充电的核心理念就是利用电磁感应技术,通过初级线圈的交流电产生振动感应磁场,而在该磁场中,靠近初级的次级线圈也随之产生感应电流。
其实无线充电的技术原理并不复杂,只是现在发展速度还较为较为缓慢,如果研发思路正确,成熟普及是迟早的事情。
电动汽车采用的无线充电方式是将充电电缆和反射线圈埋在停车位中,当车辆驶入停车位时,安装在车辆底部的接收线圈与发射线圈重合,发射线圈产生交变磁场,接收线圈产生电流通过逆变器将电能传递到电池,这就是汽车无线充电的最简单模式。
现如今大多数的无线充电产品都是固定在地面上,车辆只有在静止状态下才能够进行无线充电。
在现如今的绝大多数无线充电设备中,基本都采用了上述方式,虽然这种方式还远未成熟,但它已经具有相当可靠的产品出现,例如高通以及Evatran公司,它们都已经推出了自己的无线充电设备,并且在积极寻求和车企合作。
虽然无线充电设备现在还远未普及,但是已经有相当成熟的产品开始出现在市面之中了。
现如今,绝大多数第三方无线充电设备制造商选择和车企开展深入合作,以尽快推广无线充电技术。
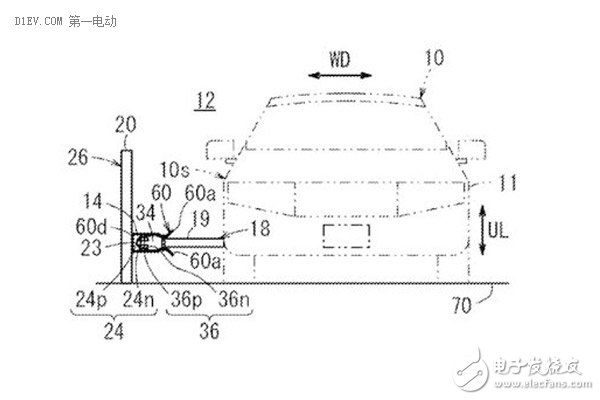
而本田此次申请的专利则和这种方式有着巨大区别,本田意图在汽车上装配一套电动手臂,当汽车在行驶时,这套手臂就会延伸出去和道路两侧的电网进行接触,从而进行充电,这样就可以达到边跑边充的理想效果。

专利示意图
不难发现,本田这项专利是想建立一套比地面嵌入式电磁线圈更加简单并且相对便宜的一套系统,不过这也让人很难理解。第一,耗费公共资源在马路上建立一条类似铁轨的电网道路是否合理?第二,如果遇到突发情况,手臂在接触电网过程中,是否会发生危险,造成人员伤亡?第三,正常情况下,如果后车想要超车,手臂会造成不便,这势必就会对驾驶者造成一定驾驶压力,这样是否合理也值得商榷。
其实本田的理念在之前沃尔沃集团、法国阿尔斯通公司(Alstom)和瑞典能源局(Swedish Energy Agency)所联合研发的快速道路电动汽车充电系统项目中就已经有所体现。沃尔沃在瑞典Hallered的测试中心建设了一条长约0.25英里的测试道路,该测试道路内部铺设了电缆,这样的模式就和本田的想法类似,不过沃尔沃的看起来可能更加靠谱。
之前沃尔沃的想法和本田类似,但是从实际情况来看,可能沃尔沃的模式更加成熟一些。
其实对于本田此次的新专利,大家不必过于认真,因为很多专利想要展示的只是一种想法,这种想法是否符合实际情况有待验证。本田的这种无线充电模式相对于安装在停车位上的模式要复杂许多,并且从现实情况来看,有些天方夜谈的感觉。不过,我还是真心希望无线电力传输技术得到普及,那样困扰新能源汽车最大的充电问题就不足挂齿了!
上一篇:高通收购NXP会带来哪些变数?