时间:2013-11-27 09:33
人气:
作者:admin
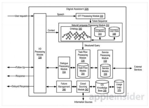
当苹果iOS系统的Siri语音助手功能首次与用户见面时,可以许多人觉得Siri并不是那么智能,表现也不够好。但是随着时间的推移,Siri已经在苹果的改变下变得越来越智能越来越聪明。不过,由于Siri回答用户的问题主要是依靠多种在线服务提供的数据,包括雅虎、Wolfram Alpha或Bing等等方式,因此对于某些用户提出的问题来说,在获得正确答案之前总是要不停的搜索,非常麻烦。不过根据一份苹果公司的最新专利技术显示,苹果正在开发一种可以利用外界群体资源来回答用户指令的新技术,这项技术称为“通过群众资源满足用户需求的解决方案”,该专利意味着苹果可能试图让其他用户回答某些用户提出的问题。专利中描述了虚拟助手如何获取、收集和储存众包数据。

根据专利中的描述,外部信息来源可以包含在服务内,比如来自专家的数据,网络上的常识信息和各种问答论坛。在某些实例中,众包模块可以提供由之前不能回答的问题答案组成的数据库。数据库可以包含在独立的众包服务中。有趣的是,专利中允许自动和人工参与的众包功能,比如当系统检测到不能回答问题,它会将问题保留一段时间,直到获得问题的答案为止。当然了,等到该技术真正投入到使用当中时,我们通过 iOS 设备向 Siri 发出指令之后不会像在线提问那样等待很长的时间。
专利中描述了各种类型的知识库,比如可以将问题公开发布的论坛等。在某些情况下,众包系统还能调用专业的数据来源,比如专家论坛、技术支持论坛、粉丝网站等。目前已经存在的网络众包数据库,比如说Quora或Answers.com。问题管理通过第三方或众包模块自己解决。其他例子中描述了一种“问答竞技场”,用户可以通过回答用户的问题获得积分。

最后,如果通过众包模块的回答是正确的,回馈系统可以自动收集用户满意度。这些数据可以储存在众包模块中,如果未来有相似的问题,可以迅速的被调用。如果众包模块发现用户对回答不满意,系统可以停止寻找答案或向真人寻求帮助。专利中还描述了详细的后台操作,包括自然语言识别和报告。此外,隐私问题也有很好的描述。目前还不知道Siri何时会增加这项功能。自2011年发布以来,功能上一直没有太大的改变,只是增加了更多第三方服务。

Siri不久前刚刚摘掉了测试版的帽子,然后根据近期一份市场调查报告,80% 以上的iOS 7用户从来没有使用过Siri。业界人士指出,虽然智能手机厂商近几年在不断提升语音指令技术,但由于很多消费者不愿意与机器进行无感情交流,导致了包括Siri在内的各种语音助手使用率偏低的现象发生。假如苹果提交的这一次技术专利最终投入使用,不知道是否改变Siri目前不受重视的窘境。
Ceva Richard Kingston:2024半导体市场将出现