1.引言
随。
射频遥控由于具有距离远、无障碍、低功耗、支持更为复杂的协议等优点,将会逐步取代传统的
红外遥控方式。
2.从红外遥控到射频遥控
红外遥控(IR Remo
te)有超过二十五年的历史了,它简单且很容易设计,一直以来是控制电子设备尤其是家用电器的一种经济有效的方法。
红外遥控的原理是用电信号控制或称为调制红外发光
二极管(IR
LED)产生肉眼不可见的红外光,由一个塑料透镜将红外光聚焦成很窄的光束发射出去。在接收电路中的红外
接收器件则是一个光敏二极管,把接收到的红外线转换成
电流,然后由接收器中的
单片机对它解码。
红外遥控有很多缺点。首先,红外线有很强的方向性,不能穿透墙壁、家具、人体等障碍物,也就是说,在遥控器和设备之间不能有上述的这些障碍物的阻挡;其次,红外线只适于单向的通讯,双向通讯很难实施且成本很高。用户在使用红外遥控时,都会碰到过以下的问题:
-遥控距离不能过远
-遥控角度有限制,遥控器偏离接收器角度过大就无法遥控。而现代家庭里越来越多的遥控家电,它们分散布置在房中,用户要遥控时需要先想一想该设备在哪里
-红外没有穿透性,如果家电在关着门的柜子里或被别的物体遮挡,将无法遥控
现在有了新一代的射频遥控(
RF Remote),它使用数百兆赫兹的无线电波取代红外光作为遥控
信息的载体,由于它具有无方向性,可以穿透或绕过障碍物,传输距离远,抗干扰能力强等优点,上述使用红外遥控存在的种种限制便荡然无存。例如家电的摆设将不再受遥控角度的制约,而完全由用户的喜好决定,现在看来机顶盒可以不放在机顶上了。
射频技术的遥控距离也远大于一般的红外遥控距离(数米到十米)。在同样的操控条件下,射频遥控的距离可以轻松达到数十米。根据不同应用需求,可以通过加大射频输出功率来进一步延长遥控距离。
与红外遥控相比,射频遥控还有一个十分明显的低功耗优势。红外遥控器一般使用两节五号或七号电池,通常每年要更换一次电池。而射频遥控器则可以做到四年更换一次电池。由于功耗低,射频遥控器甚至可以用纽扣电池
供电,有利于
产品小型化,外观更时尚。
使用射频,也可以轻易地实现单向或双向遥控功能。更重要的是,
半导体厂商提供成熟的射频
收发器集成电路,并提供详尽的参考设计,用户无需涉及射频方面的专业知识,就可以设计自己的射频遥控器。
在
消费电子产品领域,射频遥控器会被作为一个很酷很时尚的卖点很快被消费者接受。也许若干年后,当你对孩子们说你小时候的电视机遥控器要对着电视机才能遥控时,他们会觉得很惊讶。
3.射频遥控的市场状况
随着低能耗射频
芯片逐步进入市场,根据市场调研
公司ABI Research最近的研究报告,从现在到2014年,预计射频遥程控器市场的年增长率将达到55%,射频遥控最终可能在五年内淘汰有几十年历史的红外遥控。
4.
Semtech射频芯片产品
Semtech Corpora
tion是总部位于美国的全球性
模拟与混合
信号半导体器件供应商,产品广泛应用
电源管理、保护、高级
通信、人机界面、测试和
检测、无线和传感等商业和
工业领域。
Semtech 于2005年收购了瑞士的XEM
ICS。XEMICS一直致力于研究和生产低电压、低功耗芯片,在射频领域有超过20年的经验,提供各种无线短距离传输、
微控制器、
传感器、
音频芯片的解决方案。
Semtech的射频芯片包括单发、单收和收发3个系列,为个人区域
网络和家庭及建筑物自动化网络提供集成的、小范围的无线连接解决方案。通过小范围的无线连接,实现包括家庭自动化、远程测量和控制、无线耳机等应用。
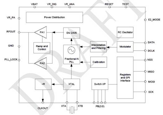
5.SX1230发送器
SX1230是Semtech的集成ISM频段(315, 434, 868 和915 MHz)窄带/宽带发送器,可提供两种工作模式:独立模式和单片机控制模式。该发送器采用Semtech的TrueRF技术设计,将所有无线电元件集成于一个CMOS芯片上,最大程度减少了其他无源元件的使用。SX1230具有双
功率放大器,射频输出功率从-18dBm 到17dBm可
编程,比特速率高达600kbps。支持FSK, GFSK, MSK, GMSK 和 OOK调制方式。在整个工作电压1.8 到 3.7 V范围内均可提供稳定的射频性能。
SX1230在免许可证的315、434、868和915MHz ISM频段下工作,采用MLPQ- 24 (4x4)封装,具有自动化PLL校准功能并完全集成了VCO和环路
滤波器。
SX1230可用在RKE,遥控和安全系统,语音和数据RF通信链接,过程以及建筑物/家庭控制、
RFID和自动抄表等。

图 1:SX1230 简化框图
5.1.独立模式
当E2_MODE引脚接高电平时,SX1230工作于独立模式(Stand Alone Mode)。芯片配置
参数以及每个按键的RF数据包格式都事先定义在一片外置的EEP
ROM中,SX1230作为SPI主机将这些配置读入。
图 2:独立模式应用电路图
PB(3:0)是按键接口,如果使用二极管编码电路,最多可以支持15个按键。平时SX1230处于睡眠状态,按键动作将唤醒芯片并进行去抖,然后发送该按键对应的RF数据包,完成后再回到睡眠状态。
独立模式适用于低成本、按键数目不多、RF数据包格式相对简单的遥控器方案。
5.2.单片机控制模式
当E2_MODE引脚接高电平时,SX1230工作于单片机控制模式(MCU Mode)。SX1230作为SPI从机受外部单片机的控制,根据应用的不同,SX1230最少只需3线连接至单片机即可工作。

图 3:MCU模式应用电路图
SX1230和单片机的接口分为SPI和RF两部分,单片机通过SPI接口对SX1230进行参数配置;通过RF接口发送数据包。其它工作包括按键、显示、建立数据包等均由单片机完成。
单片机控制模式适用于按键数目较多、RF协议或数据包格式较复杂的遥控器方案。
6.SX1210/13接收器
SX1210/13是Semtech的集成UHF频段接收器。SX1210用于868MHz、915MHz频段,而SX1213用于433MHz频段,其它各参数完全相同且管脚兼容。SX120/13的接收电流不到3mA,为业界最低,与竞争对手相比,接收电流要低6倍。设计应用于无线报警器、安全,家庭自动化中的传感器网络,以及自动化抄表领域。
该器件支持FSK数据速率为1.56~200kbps,OOK数据速率高达32kbps。25kbps时FSK调制的接收器灵敏度为 -107dBm;2kbps时OOK接收器灵敏度为-113dBm。此外,该芯片符合欧洲(ETSI EN 300-220 V2.1.1)和南美(FCC Part 15.247和15.249)规范标准。所有主要的RF通信参数是可编程的,其中大部分可以动态设置。
器件采用TQFN-32 (5x5)封装,还具有接收同步字识别、曼切斯特解码和数据去白化、CRC校验,以及用于接收数据、时钟同步和恢复的内置位同步器。

图 4:SX1210/13简化框图
7.应用实例
7.1.独立模式遥控器
对于一些按键较少的家电遥控器,SX1230的单独模式提供了一个很好的解决方案。通过二极管编码电路,最多可以实现15个按键;如果要求的按键少于4个,还可以直接使用SX1230提供的4个按键接口引脚。

图 5:15键独立模式遥控器电路图
7.2.单片机控制模式遥控器
当遥控器的应用要求多于15个按键或RF协议、数据包比较复杂时,可以使用SX1230的单片机模式实现。下图显示了一个电路板尺寸是4x22cm的42键遥控器样机照片,这个遥控器同时兼容红外方式。
图 6:42键单片机模式遥控器样机电路板
8.结语
本文主要介绍了Semtech的射频集成电路SX1230、SX1210/13在家电遥控器中的应用。由于Semtech的射频集成电路具有外围电路简单、功耗低、射频参数用户可编程、支持多种调制模式、生产中免调试等优点,用户无需掌握专业的射频相关知识也可以开发出性能稳定可靠的射频应用。