时间:2025-05-15 18:25
人气:
作者:admin
微控制器(MCU)又称单片机,是一种高度集成的微型计算机系统,它将中央处理器(CPU)、存储器(RAM/ROM/Flash)、输入/输出接口(I/O)及多种外设集成在一块芯片上,专门用于嵌入式控制应用。
微控制器(MCU)的核心作用是 在嵌入式系统中实现智能化控制,它将计算、存储、通信和接口功能集成到单一芯片上,使电子设备能够自主执行特定任务。以下是其核心作用的详细分类:
下面分享五个知名厂家的MCU芯片资料:
1.沁恒微电子CH32V
数据手册:https://www.elecfans.com/d/6619441.html?1747302181
CH32V 系列是基于青稞 RISC-V 内核设计的工业级通用微控制器,包括 CH32V305 连接型 MCU、CH32V307/CH32V317互联型 MCU、CH32V208 无线型 MCU 等。CH32V30x 和 CH32V31x
系列基于青稞V4F微处理器设计,支持单精度浮点指令和快速中断响应,支持 144MHz 主频零等待运行,提供 8 组串口、4 组电机 PWM高级定时器、SDIO、DVP 数字图像接口、4 组模拟运放、双 ADC 单元、双 DAC 单元,内置USB2.0 高速 PHY收发器(480Mbps)、千兆以太网 MAC 控制器及 10 兆物理层收发器、10/100 兆物理层收发器(仅适用于 CH32V317)等。
产品工作额定电压为 3.3V,工作温度范围为-40℃~85℃工业级。支持多种省电工作模式来满足产
品低功耗应用要求。系列产品中各型号在资源分配、外设数量、外设功能等方面有所差异,按需选择。
系统架构
微控制器基于 RISC-V 指令集设计,其架构中将内核、仲裁单元、DMA 模块、SRAM 存储等部分通过多组总线实现交互。设计中集成通用 DMA 控制器以减轻 CPU 负担、提高访问效率,应用多级时钟管理机制降低了外设的运行功耗,同时兼有数据保护机制,时钟自动切换保护等措施增加了系统稳定性。
下图是系列产品内部总体架构框图。


2.瑞萨电子RA8T1
数据手册:https://www.elecfans.com/d/6619393.html?1747302331
RA8T1 系列 32 位微控制器 (MCU) 基于高达 480MHz 的 Arm^®^ Cortex-M85^®^ 内核,采用 Helium™ 技术和 TrustZone ^®^ ,并提供针对电机或逆变器控制进行优化的外设功能。RA8T1 系列不仅集成了高达 2MB 的大容量闪存、1MB SRAM(包括 TCM)、PWM 定时器、模拟功能、多种连接功能,还支持高级安全特性和安全功能。RA8T1 系列通过其高性能和丰富的集成功能,在用户系统上实现高级电机控制或附加功能。RA8T1 系列支持灵活配置软件包 (FSP) 和合作伙伴生态系统,以及电机控制评估套件、软件和工具。
特性
应用
交流变频器和通用逆变器系统
20kW三相PFC逆变器
工业自动化(交流驱动、交流伺服、AGV/AMR)
楼宇自动化(HVAC、压缩机、太阳能逆变器)
智能家居(空调、洗衣机/烘干机、冰箱、吸尘器)
农业(电动工具、割草机)
框图
图1.1展示了MCU超集的框图。该组中的某些单个器件仅具备其中部分功能。
3.兆易创新GD32H75E
数据手册:https://www.elecfans.com/d/6619361.html?1747302498
GD32H75E产品系列支持EtherCAT®从站控制器。其主频高达600MHz,支持高达3840K Flash和1024K SARM。还集成了一系列数字和模拟外设资源,提供 BGA240 封装选项。其中搭配的是兆易创新的GDSCN832系列EtherCAT®从站控制器,GDESC系列提供QFN64封装型号。可广泛适用于伺服控制、变频驱动、工业PLC、工业通讯模块等各类应用场景。
● 2 个内置PHY+ 1个MII扩展接口
● 8xFieldbus Memory Management Units (FMMUs)
● 8个同步管理器 (Sync Manager Entities)
● 8KB DPRAM
● 64-bit分布式时钟,支持主从站同步,精度低于1uS
● 支持8/16位串行/并行口通信,支持SPI/QSPI/OSPI从机接口,支持EXMC同步模式
● 支持1.8V-3.3V可变电压I/O
GD32H75E系列器件是基于Arm® Cortex®-M7处理器的32位通用微控制器。Arm® Cortex®-M7处理器包括64位AMBA4 AXI、32位AHB外设(AHBP)端口、32位AHB从设备端口,用于外部主设备访问内存,以及用于CoreSight调试组件的APB接口。存储器的组织采用了哈佛结构,预先定义的存储器映射和高达4 GB的存储空间,充分保证了系统的灵活性和可扩展性。
GD32H75E器件的系统架构示意图
4.TI MSP430FR6005 MCU
数据手册:https://www.elecfans.com/d/6619258.html?1747302764
德州仪器 (TI) 的 MSP430FR600x 系列超声波传感和测量 SoC 是功能强大、高度集成的微控制器 (MCU),针对水表和热量表进行了优化。MSP430FR600x MCU 提供集成的超声波传感解决方案 (USS) 模块,可在各种流速下提供高精度。USS 模块有助于实现超低功耗计量,并且由于需要极少的外部元件即可实现最大集成度,从而降低系统成本。MSP430FR600x MCU 实现了基于 ADC 的高速信号采集,然后使用集成的低功耗加速器 (LEA) 模块进行了优化的数字信号处理,以提供具有超低功耗的高精度计量解决方案,非常适合电池供电的计量应用。
USS 模块包括一个可编程脉冲发生器 (PPG) 和一个带有低阻抗输出驱动器的物理接口 (PHY),用于实现最佳传感器激励,从而为零流漂移 (ZFD) 提供最佳结果。该模块还包括一个可编程增益放大器 (PGA) 和一个高速 12 位 8Msps Σ-Δ ADC (SDHS),用于从行业标准超声波传感器精确采集信号。
此外,MSP430FR600x MCU 还集成了其他外设,以改善计量的系统集成。MSP430FR600x MCU 还具有片上 8 多路复用 LCD 驱动器、RTC、12 位 SAR ADC、模拟比较器、高级加密加速器 (AES256) 和循环冗余校验 (CRC) 模块。
MSP430FR600x MCU 由广泛的硬件和软件生态系统提供支持,并提供参考设计和代码示例,可帮助您快速开始设计。开发套件包括 [MSP-TS430PZ100E 100 引脚目标开发板]和 [EVM430-FR6047 超声波水流量计 EVM]。TI 还提供免费软件,包括超声波传感设计中心、超声波传感软件库和 [MSP430Ware™ 软件]。
TI 的 MSP430 超低功耗 (ULP) FRAM 微控制器平台将独特的嵌入式 FRAM 和整体超低功耗系统架构相结合,使系统设计人员能够在降低能耗的同时提高性能。FRAM 技术将 RAM 的低能耗快速写入、灵活性和耐用性与闪存的非易失性相结合。
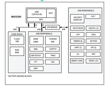
5.ADI MAX32550
数据手册:https://www.elecfans.com/d/6618414.html?1747302991
DeepCover安全微控制器(MAX32550)提供安全、高成效、可协同操作的解决方案,用于构建新一代安全防护设备,例如:移动芯片和密码键盘。MAX32550基于Arm Cortex M3处理器,具有1MB嵌入式闪存、256KB系统RAM、8KB电池备份AES自加密NVSRAM。器件包括移动POS终端的所有必要功能,包括加密引擎、真随机数发生器、电池备份RTC、环境和篡改检测电路、磁条读卡器、智能卡控制器(带嵌入式收发器,直接支持1.8V、3.3V和5V智能卡)以及集成密码键盘控制器。器件也提供无缝连接TFT显示屏的接口,包括各种各样的外设、SPI、UART、DMA、ADC和DAC,为控制和系统设计差异化增加了灵活性。
特性
框图
MCU厂家推荐
1.兆易创新
兆易创新科技集团股份有限公司 (股票代码603986) 是全球领先的Fabless芯片供应商,公司成立于2005年4月,总部设于中国北京,在中国上海、深圳、合肥、西安、成都、苏州、香港和新竹,新加坡、美国、韩国、日本、英国、德国等多个国家和地区均设有分支机构和办事处,营销网络遍布全球,为客户提供优质便捷的本地化支持服务。
公司的核心产品线为存储器(Flash、利基型DRAM)、32位通用型MCU、智能人机交互传感器、模拟产品及整体解决方案。公司产品以“高性能、低功耗”著称,技术实力备受行业认可。
2.沁恒微电子
南京沁恒微电子股份有限公司专注于连接技术和微处理器内核研究,是一家基于自研专业接口IP、微处理器内核IP构建一体化芯片的集成电路设计企业。公司致力于为客户提供万物互联、上下互通的芯片及解决方案,主要产品包括USB/蓝牙/以太网接口芯片和连接型/互联型/无线型MCU,产品侧重于连接、联网和控制。
SoC和MCU芯片通常可以分解为若干个更底层的IP组件。例如,设计USB网卡芯片首先是将USB PHY及控制器、以太网PHY及MAC、处理器内核这三大组件分别购齐或自研。不同于外购PHY或处理器IP组件的技术授权再组装设计芯片的快捷省事路线,沁恒基于性能、成本和自主的考虑,坚持长期主义,多年来持续布局关键IP组件的自研,注重追溯本源和底层构建。自主IP体系带来了芯片架构的灵活性,相比外购组件黑盒,自研的底层组件有利于一体化的衔接优化,改善整体性能和效率,降低功耗,减小体积,并具有可持续的发展路径和长期的边际成本优势。
3.瑞萨电子
2010年4月1日,日本东京讯--在完成了对前株式会社瑞萨科技与NEC电子公司的业务整合工作后,新成立的瑞萨电子株式会社(以下简称瑞萨电子;TSE:6723)于2010年4月1日宣布公司正式启动商业运营。
作为全球领先的半导体芯片供应商,瑞萨科技专注于单片机、逻辑模拟系统LSI、分立半导体元件以及存储器(如SRAM)等产品的研发、设计、制造与销售。在移动通信、汽车电子和PC/AV等多个领域,该公司均稳居全球市场份额之首,是无线网络、汽车、消费与工业市场嵌入式半导体设计与制造的佼佼者。
瑞萨电子的产品线广泛,涵盖了多种类型的半导体产品。其中包括微控制器(MCU),其产品线丰富,如F系列、D系列、Super系列以及RH850族等,这些MCU在汽车电子、消费电子和工业设备等多个领域都有广泛应用,特别是在汽车仪表、动力总成和车身控制等方面表现出色。此外,公司还提供高性能的系统LSI,适用于汽车电子、工业控制等场景。模拟和功率半导体器件也是瑞萨电子的强项,这些器件在汽车、PC、消费和工业设备中都有重要应用,特别是在汽车级MOSFET和智能功率器件方面具有显著的竞争优势。另外,RA Arm Cortex-M微处理器作为高性能微处理器,同样适用于各种嵌入式系统应用。
4.ADI
亚德诺半导体是业界广泛认可的数据转换和信号处理技术全球领先的供应商,模拟器件公司发展、生产、销售高性能模拟、数字和混合信号ic,用于各类信号处理,目前在模拟、数字信号处理用的精密高性能ic方面居领先地位。主要产品包括系统及ic和通用标准线性ic,此外也生产采用组装产品技术生产的器件产品。
我们的解决方案将协助客户将原始数据转化为可行见解,并使互联设备更智能、响应更敏捷。借助我们的模拟和混合信号设备、电源管理、射频产品以及边缘处理器和传感器,可以利用并激活数据,从而在现实与数字世界之间架起桥梁。
无论未来在航空航天、汽车、可持续能源、通信、数字医疗、工业自动化、仪器仪表或消费电子领域将有何等突破,ADI都将继续助您超越一切可能。
5.华大半导体
华大半导体有限公司于2014年5月8日在自贸区市场监督管理局登记成立。法定代表人陈忠国,公司经营范围包括集成电路产品的研究、开发和销售,电子元器件等。
华大半导体是中国电子信息产业集团有限公司(CEC)旗下专业的集成电路发展平台公司,围绕汽车电子、工业控制、物联网三大应用领域,重点布局控制芯片、功率半导体、高端模拟芯片和安全芯片等,形成了竞争力强劲的产品矩阵及全面的解决方案。
6.中颖电子
中颖电子自1994年设立,2004年4月已通过ISO9001认证,并于2009年顺利完成ISO9001:2008版升版,公司持续稳定发展,现有人员逾200人,主要分布于上海、深圳、香港等地。
中颖电子本着专业专精的精神,专注于单片机(MCU)产品集成电路设计。MCU母体包括4-bit OTP/MASK MCU、8-bitOTP/MASK MCU、8-bit FLASH MCU,主要应用于各种小家电、白色家电、黑色家电、汽车电子周边、运动器材、医疗保健、四表(水、电、气、暖)、仪器仪表、安防、电源控制、马达控制、工业控制、变频、数码电机、计算机键盘、鼠标、网络音乐(便携式、车载、床头音响)、无线儿童监控器、无线耳机/喇叭/门铃。同时,在扩大家电及计算机数码产品的基础上,又扩充了OLED、电池管理等绿色能源系列产品,以环保节能的先进理念揭开新的篇章。中颖电子植根中国,贴近市场,贴近客户,坚持专业化、差异化、成本化的经营策略,不断增强自身的核心竞争力及价值,协助终端客户持续降低不良率及返修率,提高生产直通率,建立了良好的质量可靠度形象。相信在既有团队的努力及产能的充分支持下,必能支持您大幅提升竞争力,同时我们也将鞭策自己在产品与服务上进一步提升质量,迈入新境界,使客户及我们自己都能在这激烈的竞争中更为突出、领先。