TMS320F280015x (F280015x) 是成本优化的 C2000 实时微控制器系列的成员,该系列可扩展、超低延迟器件专为提高电力电子的效率而设计。
*附件:tms320f2800153-q1.pdf
这些应用包括:
- HVAC 压缩机模块
- 头灯
- DC/DC 转换器
- 逆变器和电机控制
- 车载 (OBC) & 无线充电器
- 泵
- 工业电机驱动器
- 电机控制
- 数字电源
- 传感和信号处理
TMS320F280015x 具有双 32 位 C28x 锁步 CPU,使该器件能够在没有太多 SW 开销的情况下达到 ASIL B 功能安全器件评级。实时控制子系统基于 TI 的 32 位 C28x DSP 内核,可为从片上闪存或 SRAM 运行的浮点或定点代码提供 120MHz 的信号处理性能。三角数学单元 (TMU) 和 VCRC(循环冗余校验)扩展指令集进一步增强了 C28x CPU,加快了对实时控制系统至关重要的常见算法。
F280015x 支持高达 256KB (128KW) 的闪存。还提供高达 36KB (18KW) 的片上 SRAM 作为闪存的补充。
高性能模拟模块集成在 F280015x 实时微控制器 (MCU) 上,并与处理和 PWM 单元紧密耦合,以提供最佳的实时信号链性能。14 个 PWM 通道支持控制各种功率级,从三相逆变器到功率因数校正和其他高级多级功率拓扑。
通过各种行业标准通信端口(如 PMBUS、SPI、SCI、LIN、I2C、CAN 和 CAN FD)支持接口,并提供多个引脚多路复用选项以实现最佳信号放置。
特性
- 120MHz 时具有 32 位锁步双通道 TMS320C28x 内核
- IEEE 754 浮点单元 (FPU)
- 三角数学单元 (TMU)
- CRC 引擎和指令 (VCRC)
- 片上存储器
- 256KB (128KW) 单组闪存(ECC 保护)
- 36KB (18KW) RAM(ECC/奇偶校验保护)
- 安全
- 时钟和系统控制
- 两个内部 10MHz 振荡器
- 晶体振荡器或外部时钟输入
- 窗口式看门狗定时器模块
- 缺少时钟检测电路
- 双时钟比较器 (DCC)
- 1.2V 内核,3.3V I/O 设计
- 用于产生 1.2V 的内部 VREG
- 掉电复位 (BOR) 电路
- 系统外围设备
- 52 个可单独编程的多路复用通用输入/输出 (GPIO) 引脚(11 个与模拟共享)
- 模拟引脚上的 10 个数字输入
- 增强型外设中断扩展 (ePIE)
- 多种低功耗模式 (LPM) 支持
- 唯一标识 (UID) 号
- 通信外围设备
- 一个电源管理总线 (PMBus) 接口
- 两个内部集成电路 (I2C) 接口
- 一个控制器局域网 (CAN/DCAN) 总线端口
- 一个具有灵活数据速率 (CAN FD/MCAN) 总线端口的控制器局域网
- 一个串行外设接口 (SPI) 端口
- 三个 UART 兼容串行通信接口 (SCI)
- 一个兼容 UART 的本地互连网络 (LIN) 接口
- 模拟系统
- 两个 4MSPS、12 位模数转换器 (ADC)
- 多达 21 个外部通道(11 个与 GPIO 共享)
- 每个 ADC 四个集成后处理模块 (PPB)
- 一个带有 12 位参考数模转换器 (DAC) 的窗口式比较器 (CMPSS)
- 三个窗口比较器 (CMPSS_LITE),带有 9.5 位有效基准 DAC
- 增强的控制外设
- 14 个 ePWM 通道,其中 4 个通道具有高分辨率能力(150ps 分辨率)
- 三个增强型捕获 (eCAP) 模块
- 两个增强型正交编码器脉冲 (eQEP) 模块,支持 CW/CCW作模式
- 嵌入式图形发生器 (EPG)
- 用于 SW AES 的 CMAC 密钥(128 位)
- 诊断特征
- 符合功能安全标准
- 专为功能安全应用而开发
- 提供有助于 ISO 26262 和 IEC 61508 系统设计的文档
- 系统能力高达 ASIL D 和 SIL 3
- 硬件完整性高达 ASIL B 和 SIL 2
- 安全相关认证
- TÜV SÜD 的 ISO 26262 认证,最高可达 ASIL B
- TÜV SÜD 的 IEC 61508 认证高达 SIL 2
- 套餐选项:
- 80 引脚扁平四方扁平封装 (LQFP) [PN 后缀]
- 64 引脚 LQFP [后缀 PM]
- 48 引脚 PowerPAD™ 热增强型薄型四方扁平封装 (HTQFP) [PHP 后缀]
- 32 引脚超薄四方扁平封装无引线 (VQFN) [RHB 后缀]
- 环境温度 (TA)(请参阅设备信息表和设备比较):
- F280015xS、F280015xQ 部件:–40°C 至 125°C
- F280015xE 部件:–40°C 至 150°C
参数

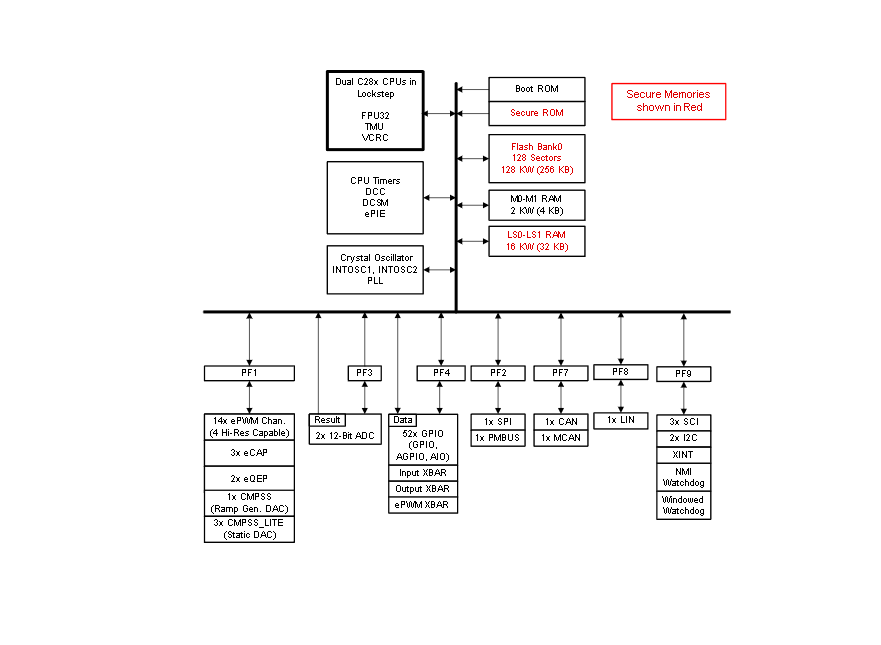
方框图

1. 概述
- 设备系列:TMS320F2800153-Q1 属于 C2000 实时微控制器系列,专为电力电子应用设计。
- 主要特点:具有高性能模拟模块、14 个 PWM 通道、集成通信接口等。
2. 功能框图
- 核心处理器:C28x 处理器,包含内存保护单元、中断管理等。
- 模拟外设:ADC、CMPSS、温度传感器等。
- 通信接口:CAN、I2C、SPI、UART 等。
- 时钟系统:支持多种时钟源,包括内部振荡器和外部晶体振荡器。
3. 引脚配置与功能
- 引脚类型:包括 GPIO、ADC 输入、PWM 输出、通信接口引脚等。
- 引脚复用:许多引脚支持复用功能,通过配置寄存器选择。
- 未使用引脚处理:建议将未使用的引脚配置为输入并上拉或下拉。
4. 规格参数
- 绝对最大额定值:包括供电电压、工作温度范围等。
- 电气特性:包括输入/输出电压范围、时钟频率等。
- 热特性:提供不同封装类型的热阻信息。
5. 内存
- Flash 存储器:最大 128KB,支持 ECC。
- SRAM:最大 32KB,具有硬件奇偶校验选项。
- 内存保护单元:提供对内存区域的保护。
6. 模拟外设
- ADC:12 位分辨率,支持多达 21 个通道,采样速率最高可达 4 MSPS。
- CMPSS:比较器子系统,包含两个比较器和两个 DAC。
- 温度传感器:用于监测设备结温。
7. 控制外设
- ePWM:增强型脉冲宽度调制器,支持复杂波形生成和死区控制。
- eCAP:增强型捕获模块,用于测量时间间隔。
- eQEP:增强型正交编码器脉冲模块,用于连接编码器。
8. 通信接口
- CAN:支持 CAN 2.0A/B 协议,位速率最高可达 1 Mbps。
- I2C:支持 Fast-mode 和 Fast-mode Plus,位速率最高可达 1 Mbit/s。
- SPI:支持主从模式,最高位速率可达 32 Mbits/s。
- UART:支持异步串行通信,可编程波特率。
9. 安全与保护
- 安全功能:包括代码安全模块、JTAG 锁定等。
- 看门狗定时器:用于监控软件运行,防止系统死机。
10. 应用与实现
- 典型应用:包括 HVAC 压缩机模块、DC/DC 转换器、逆变器与电机控制等。
- 设计资源:提供参考设计、应用笔记、软件开发工具等。
11. 封装与订购信息
- 封装类型:包括 PN(LQFP80)、PM(LQFP64)、PHP(HTQFP48)和 RHB(VQFN32)等。
- 订购信息:提供不同封装、温度范围和供货状态的器件型号。
12. 文档支持
- 用户指南:包括硬件和软件用户指南。
- 数据手册:提供详细的电气、机械和封装信息。
- 开发工具:推荐使用的开发环境和工具链。