TMS320F280013x (F280013x) 是 C2000™ 实时微控制器系列的成员,该系列可扩展、超低延迟器件专为提高电力电子效率而设计。
实时控制子系统基于 TI 的 32 位 C28x DSP 内核,可为从片上闪存或 SRAM 运行的浮点或定点代码提供 120 MHz 的信号处理性能。C28x CPU 由三角数学单元 (TMU) 进一步提升,加快了对实时控制系统至关重要的常见算法。
*附件:tms320f2800133.pdf
F280013x 支持高达 256KB (128KW) 的闪存。还提供高达 36KB (18KW) 的片上 SRAM 作为闪存的补充。
高性能模拟模块集成到 F280013x 实时微控制器 (MCU) 中,并与处理和 PWM 单元紧密耦合,以提供最佳的实时信号链性能。14 个 PWM 通道支持控制各种功率级,从三相逆变器到功率因数校正和其他高级多级功率拓扑。
通过各种行业标准通信端口(如 SPI、SCI、I2C 和 CAN)支持接口,并提供多个引脚多路复用选项以实现最佳信号放置。
特性
- 实时处理
- 120MHz C28x 32 位 DSP CPU
- 在实时信号链性能上相当于基于 240MHz Arm® Cortex-M7® 的器件(请参阅展示 C2000™控制 MCU 优化信号链的实时基准测试应用说明)
- 浮点单元 (FPU) 可实现更精确的数学计算
- 三角数学单元 (TMU) 加速了对实时控制系统至关重要的算法
- 片上存储器
- 256KB (128KW) 单组闪存(ECC 保护)
- 36KB (18KW) RAM (ECC/奇偶校验保护)
- 安全
- 时钟和系统控制
- 两个内部 10MHz 振荡器
- 外部电阻器支持,以提高内部振荡器性能 (ExtR)
- 晶体振荡器或外部时钟输入
- 窗口式看门狗定时器模块
- 缺少时钟检测电路
- 双时钟比较器 (DCC)
- 3.3V I/O 设计
- 系统外围设备
- 38 个可单独编程的多路复用通用输入/输出 (GPIO) 引脚(11 个与模拟共享)
- 模拟引脚上的 10 个数字输入
- 增强型外设中断扩展 (ePIE)
- 多种低功耗模式 (LPM) 支持
- 唯一标识 (UID) 号
- 通信外围设备
- 两个内部集成电路 (I2C) 接口
- 一个控制器局域网 (CAN/DCAN) 总线端口
- 1 个串行外设接口 (SPI) 端口
- 三个 UART 兼容串行通信接口 (SCI)
- 模拟系统
- 两个 4MSPS、12 位模数转换器 (ADC)
- 多达 21 个外部通道(11 个与 GPIO 共享)
- 每个 ADC 四个集成后处理模块 (PPB)
- 一个带有 12 位参考数模转换器 (DAC) 的窗口式比较器 (CMPSS)
- 三个窗口比较器 (CMPSS_LITE),带有 9.5 位有效基准 DAC
- 增强的控制外设
- 14 个 ePWM 通道,其中 2 个通道具有高分辨率能力(150 ps 分辨率)
- 两个增强型捕获 (eCAP) 模块
- 一个增强型正交编码器脉冲 (eQEP) 模块,支持 CW/CCW作模式
- 嵌入式图形发生器 (EPG)
- 用于 SW AES 的 CMAC 密钥(128 位)
- 套餐选项:
- 64 引脚扁平四方扁平封装 (LQFP) [后缀 PM]
- 48 引脚 LQFP [后缀 PT]
- 48 引脚超薄四方扁平封装无引线 (VQFN) [RGZ 后缀]
- 32 针 VQFN [后缀 RHB]
- 温度选项:
参数

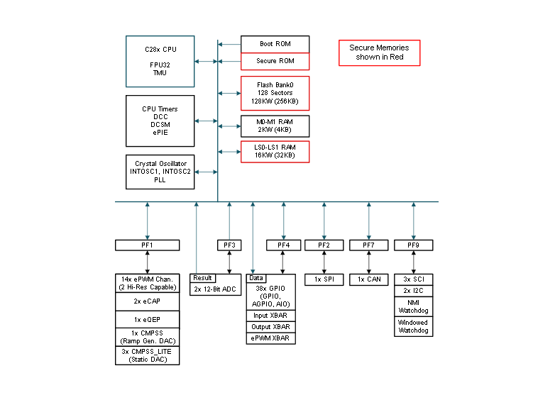
方框图

1. 主要特性
- 处理器核心:32位锁步双核TMS320C28x,主频达120MHz,集成IEEE 754浮点运算单元(FPU)和三角函数运算单元(TMU)。
- 存储:256KB单银行闪存(ECC保护),36KB RAM(ECC/奇偶校验保护),以及安全特性如JTAGLOCK和Zero-pin Boot。
- 外设接口:包括ADC、CMPSS(比较器子系统)、ePWM(增强型脉宽调制器)、eCAP(增强型捕获模块)、eQEP(增强型正交编码器脉冲模块)、CAN、I2C、SCI、SPI等。
2. 封装与引脚
- 封装类型:提供多种封装选项,如LQFP和VQFN。
- 引脚配置:详细列出了各引脚的功能、属性、信号描述及复用情况,包括GPIO、ADC、I2C、SPI、UART等多种功能的引脚分配。
3. 电源与电气特性
- 电源电压:核心电压VDD为1.2V,I/O电压VDDIO为3.3V。
- 功耗:提供了不同操作模式下的典型功耗数据,包括IDLE、STANDBY和HALT模式下的电流消耗。
- 电气特性:详细列出了ADC、CMPSS、ePWM、GPIO等外设的电气参数和时序要求。
4. 系统与时钟
- 时钟源:支持内部振荡器(INTOSC1和INTOSC2)和外部晶体振荡器(XTAL),并提供了详细的时钟配置和PLL设置指南。
- 复位与时序:包括上电复位(POR)、掉电复位(BOR)和看门狗复位等多种复位源,以及详细的复位时序图。
5. 模拟外设
- ADC:12位分辨率,多个采样保持电路(S/H),支持同步和异步采样模式。
- 温度传感器:集成温度传感器,用于监测芯片温度。
- CMPSS:比较器子系统,包含多个可编程比较器和DAC,支持窗口比较和迟滞比较等功能。
6. 控制外设
- ePWM:增强型脉宽调制器,支持高分辨率PWM(HRPWM)和死区控制等功能。
- eCAP:增强型捕获模块,用于测量时间间隔和编码信号。
- eQEP:增强型正交编码器脉冲模块,用于解码旋转编码器的位置和速度信息。
7. 通信外设
- CAN:控制器局域网模块,支持ISO11898-1标准。
- I2C:支持主/从模式,快速模式(Fast-mode)下数据传输速率可达400Kbps。
- SCI:串行通信接口,支持全双工和半双工通信。
- SPI:串行外设接口,支持主/从模式,多种时钟极性和相位配置。
8. 安全与保护
- 安全特性:包括JTAGLOCK、Zero-pin Boot、代码安全模块(CSM)等,保护芯片免受未授权访问和篡改。
- 看门狗定时器:用于监控系统运行状态,防止软件死锁。
9. 应用领域
- 适用于需要高精度控制和高性能数据处理的应用场景,如电机控制、电源管理、工业自动化等。
10. 开发支持
- 提供了丰富的开发工具和软件支持,包括编译器、调试器、示例代码等。
- 详细的文档和参考手册,帮助开发者快速上手和设计应用。