全球最实用的IT互联网信息网站!

AI人工智能P2P分享&下载搜索网页发布信息网站地图

当前位置:诺佳网 > 电子/半导体 > 控制/MCU >

TPS1HB35-Q1 具有可调电流限制的 40V、35mΩ、1 通道汽

时间:2025-05-09 10:02

人气:

作者:admin

标签: mcu  峰值电流 

导读:TPS1HB35-Q1 器件是一款智能高侧开关,适用于 12V 汽车系统。该器件集成了强大的保护和诊断功能,即使在汽车系统短路等有害事件中也能确保输出端口保护。该器件通过[可靠的电流限制...

TPS1HB35-Q1 器件是一款智能高侧开关,适用于 12V 汽车系统。该器件集成了强大的保护和诊断功能,即使在汽车系统短路等有害事件中也能确保输出端口保护。该器件通过可靠的电流限制来防止故障,根据器件型号的不同,电流限制可在 2 A 至 22 A 范围内调节。高电流限制范围允许在需要大瞬态电流的负载中使用,而低电流限制范围为不需要高峰值电流的负载提供更好的保护。该器件能够可靠地驱动各种负载曲线。

TPS1HB35-Q1 还提供高精度模拟电流检测,可改进负载诊断。通过向系统 MCU 报告负载电流和器件温度,该器件可实现预测性维护和负载诊断,从而延长系统使用寿命。
*附件:tps1hb35-q1.pdf

TPS1HB35-Q1 采用 HTSSOP 封装,可减少 PCB 占用空间。

特性

  • 符合 AEC-Q100 标准,适用于汽车应用
    • 温度等级 1:–40°C 至 125°C
    • 器件 HBM ESD 分类 2 级
    • 器件 CDM ESD 分类等级 C4B
    • 可承受 40V 负载突降
  • 功能安全
    • 提供有助于功能安全系统设计的文档
  • 具有 35mΩ R 的单通道智能高侧开关 (吨 J = 25°C)
  • 通过可调电流限制提高系统级可靠性
    • 电流限制设定点为 2 A 至 22 A
  • 强大的集成输出保护:
    • 集成热保护
    • 对地和电池短路保护
    • 防止电池反向事件,包括使用反向电压自动接通 FET
    • 电池和接地丢失时自动关闭
    • 集成输出钳位,用于对感性负载进行消磁
    • 可配置的故障处理
  • 模拟感应输出可配置为精确测量:
    • 负载电流
    • 设备温度
  • 通过 SNS pin 提供故障指示
    • 检测开路负载和电池短路

参数

image.png

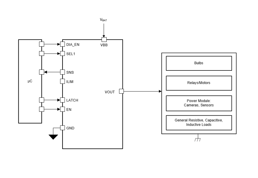
方框图
image.png

1. 产品概述

  • 产品名称‌:TPS1HB35-Q1 40-V, 35-mΩ Single-Channel Automotive Smart High-Side Switch
  • 应用领域‌:主要用于12V汽车系统,如汽车显示模块、ADAS模块、座椅舒适模块、传输控制单元、HVAC控制模块、车身控制模块、照明等。
  • 特点‌:AEC-Q100认证、功能安全能力、可调电流限制、集成输出保护、模拟电流感应、故障指示等。

2. 功能特点

  • 保护功能‌:
    • 热关断‌:防止因温度过高而损坏。
    • 电流限制‌:可调电流限制范围从2A到22A,根据设备版本不同。
    • 瞬态承受能力‌:包括负载突降、反向电池、对地短路等保护。
    • 反向电池保护‌:包括自动开启FET以应对反向电压事件。
  • 诊断功能‌:
    • 模拟电流感应‌:提供与负载电流或设备温度成正比的信号
    • 开路和短路到电池检测‌:无论开关是否开启,都能检测开路和短路到电池的情况。
  • 编程‌:通过外部电阻设置电流限制阈值。

3. 技术规格

  • 额定电压‌:40V
  • 导通电阻‌:35mΩ(TJ = 25°C)
  • 工作温度范围‌:-40°C至125°C
  • 封装类型‌:HTSSOP(16引脚)
  • 电气特性‌:包括输入电压范围、静态电流、导通电阻、电流感应比例等。

4. 应用与实现

  • 典型应用‌:如汽车座椅加热器的电源控制。
  • 设计考虑‌:
    • 热设计‌:计算最大FET功耗和结温,确保不超过最大额定值。
    • 电流限制设置‌:根据应用需求选择合适的R_ILIM值。
    • 诊断功能实现‌:通过SNS引脚实现电流和温度感应,以及故障指示。

5. 布局指导

  • 布局建议‌:确保所有外部组件靠近引脚放置,以减少寄生效应。特别是R_ILIM应靠近设备放置,以减少电容影响。
  • 热管理‌:将裸露焊盘连接到大的铜层,以提高热性能。

6. 文档与支持

  • 相关文档‌:提供了与TPS1HB35-Q1相关的应用笔记和测试报告链接。
  • 更新通知‌:用户可以通过TI网站订阅更新通知,以获取最新的产品文档。

7. 封装与订购信息

  • 封装尺寸‌:5.00mm x 4.40mm
  • 订购信息‌:提供了不同版本(A、B、C、F)的设备订购信息,包括状态、材料类型、封装、引脚数、载带、RoHS合规性、引脚镀层/球材料、MSL等级、峰值回流温度和工作温度范围等。

8. 注意事项

  • 静电放电(ESD)警告‌:处理集成电路时应采取适当的预防措施。
  • 安全信息‌:用户应负责选择合适的产品,并验证和测试其设计实施,以确保系统功能性。

这份文件详细描述了TPS1HB35-Q1智能高侧开关的功能特点、技术规格、应用与实现、布局指导、文档与支持、封装与订购信息以及注意事项,为用户提供了全面的产品信息和设计指导。

温馨提示:以上内容整理于网络,仅供参考,如果对您有帮助,留下您的阅读感言吧!
相关阅读
本类排行
相关标签
本类推荐

CPU | 内存 | 硬盘 | 显卡 | 显示器 | 主板 | 电源 | 键鼠 | 网站地图

Copyright © 2025-2035 诺佳网 版权所有 备案号:赣ICP备2025066733号
本站资料均来源互联网收集整理,作品版权归作者所有,如果侵犯了您的版权,请跟我们联系。

关注微信