时间:2025-02-20 09:03
人气:
作者:admin
BLDC FOC控制还在哼哧哼哧的画板子,写代码,调参数?本文找到了一个电机控制“神器”,硬件实现FOC,无需代码。此刻开始,FOC变得更有意思咯——
电机控制算法有多磨人,几位工程师朋友如是说:



如果你不是专业的电机算法工程师,而只是要做电机控制的应用的话,也许有更好的方法,不用死磕算法,1个芯片就能搞定。
1个电机控制器=
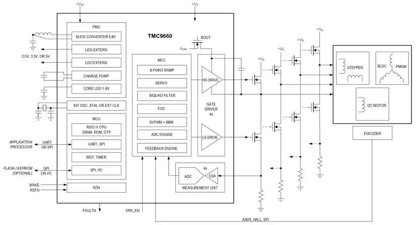
MCU+电机驱动器+门级驱动器+源管理器
这个硬件实现FOC,无需代码的神器就是ADI最新推出的高度集成的单片栅极驱动器和电机控制器TMC9660。

FOC控制的目标是电机,算法最终会在硬件上实现,所以无需代码的FOC控制,就意味着硬件要十分强大了。虽然尺寸仅有9mm x 9mm,64个引脚,但小巧的TMC9660内部“暗藏乾坤”——

▐ Motion Control Core (MCC) 运动控制
这是TMC9660最关键的部分,以硬件实现,具有高度的软件可配置性:
1)硬件实现的磁场定向控制器/FOC,用于宽带宽电流控制环路
2)硬件实现的位置、速度和扭矩控制器,可实现快速、精确的控制
3)8 点 Ramp 生成器,在硬件中实时进行 Ramp 计算,优化电机的运动
4)快速空间矢量脉宽调制(SVPWM)引擎(2kHz ...100kHz),时钟频率为120MHz
因此,TMC9660能够支持最常用的电机类型的控制,包括三相永磁同步电机 (PMSM)/无刷直流 (BLDC)、两相步进电机和有刷直流电机。

▐嵌入式微控制器系统
TMC9660内部还嵌入了一个预编程的嵌入式微控制器系统,这是TMC9660不可或缺的部分,可以用做基本的电机控制以及外部通信等。
这部分里面包含一个以40MHz运行的32位RISC-V微处理器,带SRAM(48KB)的存储器、带引导加载程序的OTP和只读存储器(ROM)、直接寄存器访问和参数固件。此外,还有用于通信的SPI、UART和I2C接口,电机控制(包括MCC、智能门驱动器和测量单元/MU)和几个定时器单元的外围设备。
▐Gate Driver驱动单元
门级驱动在电机控制系统中的重要性,想必很多小伙伴都知道。它是连接控制系统与功率半导体器件之间的重要桥梁,可以将控制电路发出的低电平控制信号转化为能够驱动大功率半导体器件所需的大电流或高压信号,确保这些功率器件按照预定的开关时序准确无误地工作。
TMC9660就集成了专为电机控制量身定制的70V专用智能门驱动电路,可以驱动多达四个外部NMOS+NMOS半桥。此外还有可配置的用于EMI缓解的斜率控制、用于防dV/dt诱导导通、过电流和栅极短路保护的智能定序器等等。

▐PMU电源管理单元
TMC9660集成的电源管理单元老厉害了。
首先,它有很宽范围的工作电压,低至7.7V,高达70V的电源都可以工作。这样,电机的电源电压就可以给它供电,不再需要额外的电源芯片了。
其次,一个电机电源,TMC9660不仅可以自己用,还可以给外部负载供电,这得益于它内部集成的一个DC/DC转换器(降压)、一个电荷泵、两个可配置的LDO,以及两个为TMC9660内部供电的1.8V LDO。
从这些TMC9660内部构成来看,所以我说1片TMC9660,可以是电机驱动器,可以是MCU,可以是门级驱动器,可以是电源管理器。
TMC9660电机运动控制demo
全网首发评测
TMC9660真的不需要代码,就可以进行FOC控制吗?全球排名前列的电子元器件授权代理商WT文晔科技,与B站大V达尔闻合作,全网首测TMC9660电机运动控制demo。

这套demo由四个部分组成:
1)TMC9660-STEPPER-EVAL评估板
在评估板上,除了TMC9660和简单的外围电路之外,还有MOS桥部分,以及一些接口:
1个电机接口连接电机的UVW三相;2个编码器和1个霍尔传感器的接口,接受来自电机的反馈信号;1个UART和1个SPI接口,与外部进行通信

2)PC接口板:也就是Landungsbrücke接口板,板子上有一颗MCU,通过USBtype-C接口,可以连接电脑。这是模块化评估系统之一,使用它,即使是没有任何运动控制经验的工程师也可以快速上手。
3)桥接板:也是连接器板,通过它,可以访问PC接口板和相应评估板之间的所有信号。

4)电机:这里连接的是BLDC电机。

通过官方的PC接口板和桥接板,一根USB typc-C的数据线,一个电源,连上评估板,一切准备就绪了。
软件IDE
配置FOC
在硬件上实现FOC控制,其实是原厂工程师已经在芯片底层做完了FOC算法,我们只需要在上层进行寄存器或者参数配置就可以了,其中参数模式更为简单,就相当于直接买个成品的驱动器了。
TMC9660配置可以通过桥接板使用官方的TMCL-IDE进行调试,也可以使用USB转UART的接口连接电脑,然后使用电脑自带的PowerShare命令行调试。
好的配套软件,可以帮助工程师快速的上手,TMCL-IDE就是功能十分强大的调试工具,所以为了展示它的强大,我们就通过PC接口板连接电脑,体验TMC9660。
总结一下重点的配置步骤:
第一步:准备好硬件连接,以及在PC上安装TMCL-IDE。
第二步:上电,在TMCL-IDE选择板卡:TMC9660-stepper-BL,并将ioconfig配置文件upload到板子。配置文件包括TMC9660的SPI、UART通信接口设置,霍尔、编码器接口与TMC9660的IO对应等信息。

第三步:开启FOC配置
1)选择连接的电机,BLDC,设置电机参数,最大电流3A。
2)配置CSA和ADC,并让电机开环转起来,红色电压,绿色反馈回来的电流一致,但电机动作有抖动。

3)电流环PI配置,可以直接点击同步参数,以及推荐PI值,点击测试,目标电流和实际电流,响应很及时,也没有超调。
4)霍尔配置,让实际反馈和控制落在同一象限,并进行测试,反馈的电压、电流与目标值也是一致。
5)编码器配置,让实际和控制保持同一方向。然后设置基于编码器的FOC控制,触发方式选择霍尔,这个时候测试电机,就没有抖动,很平稳的运行。
6)速度环PI配置,直接可以点击findcurrent,找到配置参数,然后再次测试,电机会自动正转与反转,并且电流和电压的响应情况,可以看到与目标一致。
通过这几步,就轻松的完成TMC9660的配置了,接下来就可以基于FOC控制了。
接下来,就可以调整PID参数,让电机运动到最佳状态。
TMCL-IDE还提供了参数设置与反馈数据,还有更直观的曲线图,包括速度上升或下降曲线,电流大小等。

一套流程走下来,大家发现没,真是轻轻松松就可以配置好TMC9660的FOC控制了,全程不需要任何代码。

当然,本次只是上手体验了TMC9660最基本的控制,如果真的用在项目中,还是得好好研究一下。不过,即使遇到问题,也不用怕,WT文晔可以为大家提供支持,有需要可以通过邮件联系我们。