时间:2025-06-09 17:04
人气:
作者:admin
芯片烧录领导者昂科技术近期宣布了其烧录软件的最新迭代,并公布了一系列新增兼容芯片型号。在此次更新中,普冉半导体(PUYA)推出的低工作电压微控制器P25Q64SH-WY已被昂科ic烧录脱机编程器AP8000所支持。
P25Q64SH-WY是一款串行接口闪存设备,专为广泛应用于各种大批量消费类应用而设计,在这些应用中,程序代码会从闪存复制到嵌入式或外部RAM中执行。该设备具有灵活的擦除架构和页面擦除粒度,因此也非常适合数据存储,无需额外的数据存储设备。
该设备的擦除块大小已经过优化,以满足当今代码和数据存储应用的需求。通过优化擦除块的大小,可以更加高效地利用内存空间。由于某些代码模块和数据存储段必须各自驻留在其自己的擦除区域中,因此可以大大减少大型扇区和大型块擦除闪存设备中产生的浪费和未使用的内存空间。这种内存空间利用率的提高允许在保持相同总体设备密度的同时,添加额外的代码例程和数据存储段。
此外,该设备还包含额外的3个1024字节的安全寄存器,具有一次性可编程(OTP)锁定功能,可用于独特设备序列化、系统级电子序列号(ESN)存储、锁定密钥存储等目的。
该设备专为多种系统而设计,支持在2.3V至3.6V的宽电源电压范围内进行读取、编程和擦除操作。编程和擦除操作无需单独的电压。

特征
• 单电源供电,电压范围为2.3V至3.60V
• 工业温度范围:-40°C至85°C
• 兼容串行外设接口(SPI):模式0和模式3
• 支持单SPI、双SPI、四SPI、QPI(Quad Peripheral Interface,四路外设接口)和DTR(Double Transfer Rate,双倍传输速率)
– 标准SPI:SCLK(时钟)、CS#(片选)、SI(数据输入)、SO(数据输出)、WP#(写保护)、HOLD#(保持)
– 双SPI:SCLK、CS#、IO0、IO1、WP#、HOLD#
– 四SPI:SCLK、CS#、IO0、IO1、IO2、IO3
– QPI:SCLK、CS#、IO0、IO1、IO2、IO3
– DTR:双倍传输速率读取
• 灵活的代码和数据存储架构
– 统一的256字节页编程
– 统一的256/512/1024字节页擦除
– 统一的4K字节扇区擦除
– 统一的32K/64K字节块擦除
– 全片擦除
• 通过WP引脚实现受保护扇区的硬件控制锁定
• 一次性可编程(OTP)安全寄存器
– 带有OTP锁定的3*1024字节安全寄存器
• 每个设备具有128位唯一ID
• 快速编程和擦除速度
– 2毫秒页编程时间
– 16毫秒页擦除时间
– 16毫秒4K字节扇区擦除时间
– 16毫秒32K/64K字节块擦除时间
• 符合JEDEC标准的制造商和设备ID读取方法
• 超低功耗
– 典型深度掉电电流为0.3微安
– 典型待机电流为10.0微安
– 在85MHz、4IO下,典型活跃读取电流为7.5毫安
– 典型活跃编程或擦除电流为3.0毫安
• 高可靠性
– 100,000次编程/擦除循环
– 20年数据保持时间
• 符合行业标准的绿色封装选项
– 8引脚SOP(150mil/208mil)
– 8焊盘USON(4x4x0.45mm,3x2x0.55mm)
– 8焊盘WSON(6x5mm)
– SiP的KGD(Known Good Die,已知良品芯片)

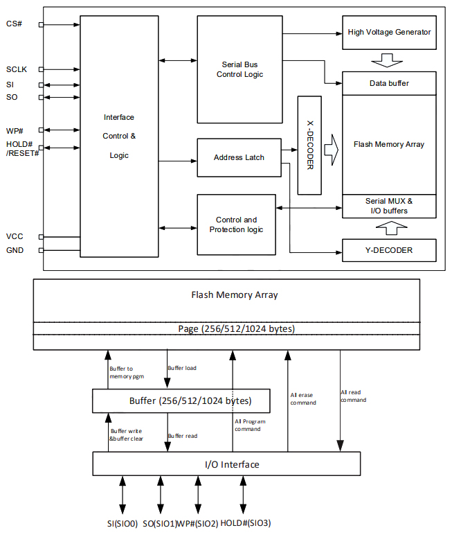
内部框图
昂科技术自主研发的AP8000万用烧录器,是一款功能强大的烧录解决方案,支持一拖一及一拖八配置的在线和离线版本,同时提供针对eMMC和UFS的专用烧录方案,全面满足PUYA系列所有芯片型号的裸片(离线)及在板烧录需求。AP8000由主机、底板和适配座三大核心组件构成,作为行业领先的通用烧录平台,它不仅能够兼容市场上各类可编程芯片的烧录需求,还是昂科chip烧录设备IPS5800S的核心烧录平台,高效支撑大规模烧录任务的执行。

该主机同时支持USB和NET连接,能够实现多台编程器的组网,从而同步控制多台编程器进行烧录操作。内置的安全保护电路能够即时检测到芯片放反或短路等异常情况,并立即断电,确保芯片和编程器的安全。主机内部集成了高速FPGA,显著提升了数据传输和处理速度。主机背部设有SD卡槽,用户只需将PC软件生成的工程文件保存至SD卡根目录并插入卡槽,通过编程器上的按钮即可选择、加载和执行烧录等指令,无需依赖PC即可操作,这不仅降低了PC硬件配置成本,还便于快速构建工作环境。
AP8000通过底板与适配板的组合设计,大大增强了主机的扩展性能,目前能够支持所有主流半导体厂商的产品,涵盖QUECTEL, BEKEN, elmos, Nation, HiTrendtech等品牌。其支持的器件类型包括NAND, NOR, MCU, CPLD, FPGA, EMMC等,并兼容Intel Hex, Motorola S, Binary, POF等多种文件格式。
文章来源于:www.acroview.com