时间:2020-07-21 11:55
人气:
作者:admin
早前有消息称苹果正在开发无端口的iPhone,根据知情人士透露,苹果计划在明年推出一款无端口的iPhone。而且早在2019年12月的时候分析师郭明錤也曾表示苹果会在2021年推出一款无端口iPhone,由于这款产品没有任何物理连接器,因为它只能通过无线方式充。虽然iPhone支持无线充电,但它们的功率仅限于7.5W,这意味着充电时长大概要在3小时左右才能完成充电,如果苹果在明年推出无端口的iPhone,那么在无线充电技术或许会有所提升。而在近日,外媒就报道了苹果一项关于具备双向无线充电功能的电池背夹专利获批,在这项专利获批之前苹果就有一项无端口iPhone设备的专利申请,这样一来就能让电池背夹配无端口iPhone进行充电操作。

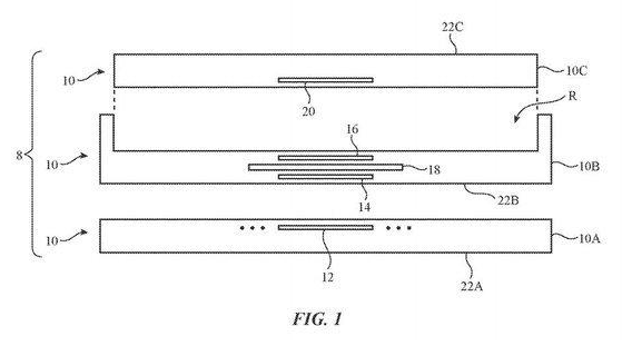
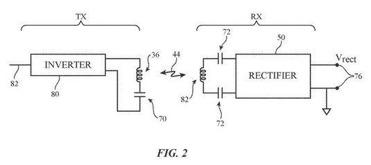
根据专利图来看,电池背夹内置了两个无线充电圈,分别位于电池的相对两侧,并具有在两个线圈之间耦合的开关电路。双线圈将使电池盒能够通过无线充电为自己充电,同时也为设备充电。在关机状态下,电池背夹会将两个线圈连接起来,这样电流就可以通过第一个线圈传到第二个线圈,从而为设备充电。简单来说,电池背夹会先给设备充电,再给自己充电,当电池背夹处于开启状态时,设备放在无线充电器上也可以直接充电。


不过这个技术估计短时间内是看不到了,秋季发布会的iPhone12系列大概率还是会有接口充电,从目前的来看大家对无线充电的需求还不是很大,iPhone8开始的设备也支持无线充电,所以待到这项技术成熟后再发布也不迟。相比于无线充电,苹果不如先对电池与续航这两个问题“下手”,解决一下大家“续航难”的问题吧。