时间:2022-12-28 14:59
人气:
作者:admin
近日,WIPO公布了一项来自腾讯科技的VR专利,该专利的编号为WO2022262581,标题是“虚拟现实显示设备、画面呈现方法、存储介质及程序产品”。据悉,腾讯在2021年已经在中国国家知识产权局(CNIPA)获得该专利(编号CN113419350A),今年1月6日通过WIPO申请了国际专利,该专利于12月22日公布,其发明者为腾讯高级结构工程师周伟彪和光学团队主管林明田。

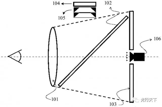
据了解,这项专利主要描述了VR头显的显示和光学结构、光路。VR头显包含了主透镜、半反射透镜、两块显示屏、变焦组件、眼球追踪模组,其中显示屏分为主屏和副屏,结合眼球追踪模组后,可实现动态变焦。屏幕材质或采用TFTLCD、AMOLED、MicroOLED等等。
除此之外,该VR方案还可能采用一个或更多(叠加的)液态透镜来实现变焦。
腾讯在专利背景处介绍,为了提升VR体验感,VR头显可根据用户眼球运动,动态调整显示内容,比如预测用户双目对焦位置,并实时调整屏幕画面的清晰度,以模拟远近景的自然切换效果。不过,如果VR头显仅配备一块屏幕,那只能在短时间优化视觉体验,长时间使用依然会造成视觉疲劳,因此需要两块屏幕来实现更自然的变焦。
目前,尽管腾讯还未发布VR相关产品,但该公司在今年6月已经确认成立XR业务线,不过具体策略并不明确,推出VR硬件的可能性不大。
编辑:黄飞
下一篇:浅谈元宇宙的7个生态层次