时间:2020-07-16 14:20
人气:
作者:admin
美国专利商标局发布了苹果一项与AR光学相关专利,专利中指出了一种利用带有角度的反射镜来提升近眼光学视场角的方案,可有效提升进入和离开瞳孔的光线范围,营造足够清晰的大视场角观感。

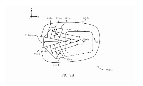
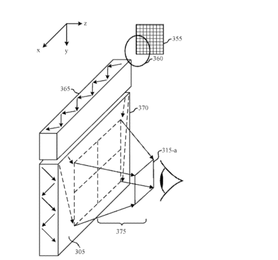
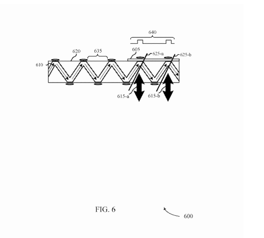
苹果指出,AR头显通常采用基于反射投影的光波导近眼光学方案,但由于头显技术局限,AR的视觉效果融易受损,而且用于反射/折射/衍射的光学元件较为笨重,传统的反射镜和光栅结构也存在一些局限性(比如传统反射镜的反射轴一般与表面法线重合,反射镜角度也不够优化,影响反射光线的效果)。
因此,这份专利希望通过通过瞳孔视觉放大等方案来优化反射镜元件效果,提升AR的视场角。
专利中附了一个AR眼镜的概念设计,同样的设计在此前4月公布的AR色散补偿光学方案中也有出现,显示出苹果在AR光学方面的多次探索。希望在不久后,可以在苹果有望推出的AR眼镜中看到这些创新技术,对此我们也将持续关注。参考:USPTO

光学透镜结构示意图

光波导与反射镜传播光线示意图

光学方案制作工艺

光学系统示意图