时间:2019-12-16 16:13
人气:
作者:admin
据外媒报道,最新曝光的专利文件显示,苹果公司正致力于研究光波导和全息图像传输技术,以便帮助减轻未来的增强现实(AR)或虚拟现实(VR)头显体积和重量。
苹果在专利申请文件显示,常见的VR头显依赖于放置在距离用户眼睛很近的显示器,外加多个镜头。虽然这导致头显的生产成本相对低廉,但也带来了许多问题。“近眼显示器产生的部分视场可能无法从单眼位置看到”。由于其远离面部的佩戴位置迫使其他组件和外壳也要被放置在距离用户脸部更远的地方,这可能会对面部带来更多压力。如果显示器可以放在更近的位置,并且使用更少或更轻的组件,则头显佩戴起来可能会更舒适。
在这份名为“用于显示器的光学系统”的专利文件中,苹果提出使用波导系统将光线从光学系统传输到用户的眼睛中。波导取代了显示器,并用于通过重定向的光线将图像投射到用户的眼睛中。

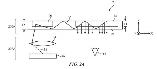
图2:专利中描述了显示单元发出的光如何通过波导并反射到用户的眼睛上
为了辅助波导系统,苹果提议使用输入和输出耦合器,其中输入耦合器将光线从显示单元重定向到波导中,而输出耦合器则将光线推向眼睛的方向。这些生成的图像可以由全息光学元件形成,包括薄全息图、体积全息图和表面浮雕光栅。
苹果的设计还可以帮助将“用户视野之外的光线”重新定向或重新分配到用户的眼睛上,方法是使用位于显示单元和输入耦合器之间的光重定向元件。
该系统可以使用两个波导(即每个眼睛一个),或两个输入和输出耦合器,再加上一个带有全息元件的波导,用于将光重新定向到正确的眼睛里。在这种情况下,光重定向元件也可以使用与输出耦合器的干涉模式不平行的干涉模式,这有助于防止为一只眼睛准备的光被另一只眼睛偶然看到。
关于苹果研发某种形式的AR或VR头显或智能眼镜的传言已经流传了很长时间。许多专利文件显示,该公司热衷于开发这一概念。
在9月份名为“显示设备”的苹果专利申请中,苹果曾提及由波导和全息元件组成的系统,其中AR头显中使用“反射式全息组合器”来将数字元素与真实世界视图结合起来。
苹果对波导技术似乎特别感兴趣,其工程师和关键人员在2019年CES展会上参观了AR波导供应商的展台,这些公司包括DigiLens、Lumus、Vuzix和WaveOptics等。苹果还在2018年收购了AR头显镜头生产商Akoni Holographics,并在2017年收购了AR头显创企Vrvana。
关于被称为“Apple Glasses”的智能眼镜传闻暗示,苹果致力于推出一款内部称为“T288”的AR设备,它运行该公司开发的rOS操作系统,采用8K显示器。有传言称,单独的处理单元会将虚拟图像覆盖在用户视觉中存在的现实世界对象上。
上一篇:5G+VR科技怎样在音乐领域赋能
下一篇:VR/AR行业以后的重心在哪里