时间:2019-09-11 16:31
人气:
作者:admin
(文章来源:新浪VR)
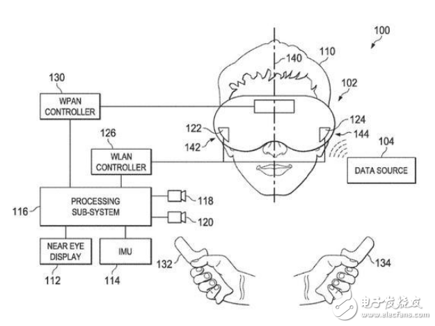
据外媒报道,谷歌可能正在计划推出一款新的无线虚拟现实眼镜,让用户可以在使用流媒体服务时获得身临其境的体验。该公司最近申请了一项新的专利,展示了它在过去几年在虚拟现实领域取得的进展。谷歌的专利展示了一款采用先进无线技术的头显,在这张专利图中,展示了配套的手柄、无线技术等。专利草图显示,谷歌这个头显背面有两个WLAN模块和一个WPAN模块。
笔者觉得,如果谷歌将这款产品推向市场,将该产品作为Stadia的配套设备进行销售,那样最有意义了。同时,这款头显应该也会适用于智能手机和PC。如果谷歌将这款产品推向市场,它将作为Stadia的配套设备进行销售,这非常有意义的,同时,这款头显也应该适用于智能手机和PC使用。

另据报道称,第三代谷歌眼镜已经结束了开发阶段,目前正在由制造商进行试生产,据悉,第三代谷歌眼镜是由和硕公司与Quantra Computer共同合作为其代工生产。有消息称,第三代谷歌眼镜的电池寿命只有30分钟。
上一篇:任天堂宣布将开发最新款的VR硬件