时间:2019-02-13 09:02
人气:
作者:admin
2018年11月,华为消费者业务CEO余承东在接受CNBC采访时表示,华为正在开发与智能手机联动使用的AR眼镜,外媒letsgodigital发现华为新公布的专利正展现了其中一种可能性——将智能手表作为AR眼镜核心来使用。
一直以来,AR眼镜都在寻找着各种轻量化手段来降低重量,比如说尽可能地使用较小的电池,以及低耗高效能的处理器,在知名的Project Glass上便应用了这个组合。但Project Glass并不低廉的价格,让许多想要尝鲜的人望而却步。
在2019年2月7日,WIPO(世界知识产权组织)数据库新公布的华为“眼镜架”专利中,带来了一种低廉而且更加实用的AR眼镜解决方案。
AR由于应用场景有限而且售价高企使得发展限制多多,但同为智能穿戴设备的智能手表却发展顺利,在数年间的迭代中,智能手表越发轻薄性能也日益提升,不输于当年的智能眼镜。
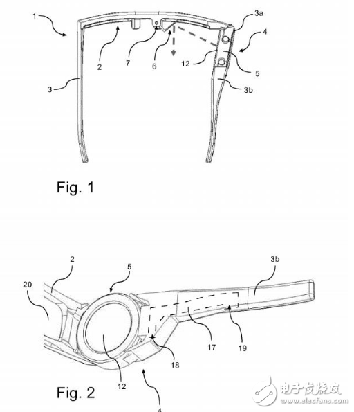
而在不少AR眼镜方案中,也有采用智能手表同款处理器的设计,那么能不能直接把手表作为AR眼镜的核心来使用呢?华为便是提出了这样的想法,在右镜腿放入智能手表作为计算核心,触点连接其他部件组成完整的AR眼镜。

华为提出的新方法看似天马行空,却又的确存在相应的可行性:其中一个方案在镜架上提供了一个可以反射内容的小镜子,智能手表插入并切换到AR眼镜模式后,会显示画面,而人眼可以通过镜子反射来看到画面内容。
如此一来,AR眼镜就不用搭载昂贵的投影镜片模组,仅仅提供物理反射即可。手表本身的功能也可以得到利用,表盘显示眼镜画面,麦克风提供通话功能,蓝牙或SIM卡连接网络,一机多用的同时也省下了用户购置设备的预算。

至于摄像功能,华为预想这块智能手表将在表冠中集成摄像头,此前已经有同类产品实现并非是不可能的构想。
如果这样的AR眼镜产品成为现实,那么华为的AR眼镜将可能由两种品类组成:一类是可以通过智能手表变换而来的简易型,提供集成度较低但实惠的体验;一类是高度集成的AR智能眼镜,价格更高但完整度也不低,适用于更加专业的场合。