时间:2019-02-18 14:11
人气:
作者:admin
根据Nintendo World Report公布的传闻,任天堂可能会在今年稍后公布他们的第一款VR产品。许多消息来源都表明,一批第一方游戏软件将在未来的几个月里支持VR玩法。任天堂此前始终都表示对VR没有兴趣,去年任天堂法国部总监Philippe Lavoue还曾在采访中表示VR无法吸引主流玩家:
“消费者并不会耐心等待娱乐媒体的成长,你必须提供全面的成熟服务。”
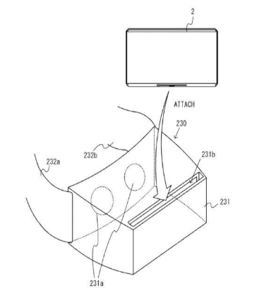
不过看起来任天堂可能已经改变了看法。早在2016年6月,Digitimes就曾报道称任天堂之所以将Switch的发售推迟到2017年3月份,就是为了给这款主机加入适配VR设备的潜力。后来,任天堂提交的搭载Switch屏幕的头戴设备设计专利也被曝光。

不仅如此,根据Anime News Network报道,上个月有13家日本公司联合组成了“VRM集团”,这个集团的目标是开发全球虚拟现实业务。任天堂在这个集团中担任“观察者”。其他参与的公司还包括Unity日本、Dwango、Crypton Future等。