时间:2019-03-02 10:05
人气:
作者:admin
之前有传闻称苹果正在开发一款AR头盔或者说一副智能眼镜,据称会在2020或者2021年左右发布。新眼镜到底是个什么样子现在谁也不知道,但苹果最新获批的一项专利应该可以让你有个大概印象。
美国专利商标局今天批准苹果一项专利,该专利描述了一种“在移动设备上的真实环境里呈现兴趣点的方法”,虽然没有明确提到 Apple Glass,不过专利确实在描述一款“头戴式屏幕”。
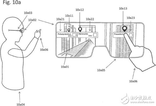
与其他 AR 类产品类似,该头戴式屏幕能够将电脑生成的虚拟信息叠加到真实环境视图之上。更具体地将,该头盔将配置一个摄像头,可以辨认和注释兴趣点和其他对象。

专利的其中一张插图展示了一款头戴式屏幕,其中显示了一些建筑物,每一幢建筑都有一个叠加的标签,而且手指还可以与其进行交互操作。在另一个实例中,iPhone 则给出了某一兴趣点的详细信息。

插图中的 Apple Glass 设备有点像一副滑雪镜,不过苹果到底是在开发一款类似谷歌眼镜的智能眼镜还是一款类似HoloLens 的头盔就不得而知了。彭博社之前称爆料称苹果的设备将会采用一套定制的基于 iOS 的“rOS”系统,据称还可与 iPhone 进行无线通讯。